GM Service Manual Online
For 1990-2009 cars only

Sealed Beam Headlamp Replacement Single

Removal Procedure

  1. Turn OFF the headlamp switch.
  2. Important: Do not move the adjustment screws.

  3. Open the hood.

  4. Object Number: 872335  Size: SH
  5. Disconnect the electrical connector from the headlamp.
  6. Close the hood.
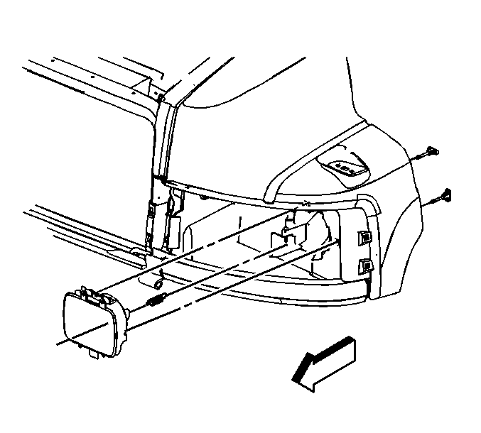
  7. Remove the headlamp bezel. Refer to Headlamp Bezel Replacement in Body Front End.

  8. Object Number: 803745  Size: SH
  9. Remove the retaining ring screws from the headlamp.
  10. Remove the retaining ring from the headlamp.
  11. Remove the headlamp from the housing.

Installation Procedure

  1. Open the hood.

  2. Object Number: 872335  Size: SH
  3. Connect the electrical connector to the headlamp.

  4. Object Number: 880563  Size: SH
  5. Apply Lubricant GM P/N 12345996 (Canadian P/N 10953501) or equivalent to all 3 hood headlamp cavities (1)
  6. Close the hood.
  7. Install the headlamp to the housing.
  8. Install the retaining ring to the headlamp.
  9. Notice: Refer to Fastener Notice in the Preface section.

  10. Install the screws to the retaining ring.
  11. Tighten
    Tighten the screws to 1.2-1.6 N·m (10-14 lb in)

  12. Install the headlamp bezel. Refer to Headlamp Bezel Replacement in Body Front End.

Sealed Beam Headlamp Replacement Dual

Removal Procedure

  1. Turn OFF the headlamp switch.
  2. Important: Do not move the adjustment screws.

  3. Open the hood.

  4. Object Number: 872328  Size: SH
  5. Disconnect the electrical connector from the headlamp.
  6. Close the hood.
  7. Remove the headlamp bezel. Refer to Headlamp Bezel Replacement in Body Front End.

  8. Object Number: 887499  Size: SH
  9. Remove the retaining ring screws from the headlamp.
  10. Remove the retaining ring from the headlamp.
  11. Remove the headlamp from the housing.

Installation Procedure

  1. Open the hood.

  2. Object Number: 872328  Size: SH
  3. Connect the electrical connector to the headlamp.

  4. Object Number: 880569  Size: SH
  5. Apply Lubricant GM P/N 12345996 (Canadian P/N 10953501) or equivalent to all 6 hood headlamp cavities (1).
  6. Close the hood.
  7. Install the retaining ring to the headlamp.
  8. Notice: Refer to Fastener Notice in the Preface section.

  9. Install the screws to the retaining ring.
  10. Tighten
    Tighten the screws to 1.9 N·m (17 lb in).

  11. Install the headlamp to the housing.
  12. Install the headlamp bezel. Refer to Headlamp Bezel Replacement in Body Front End.
Loading…
Loading the web debug toolbar…
Attempt #