GM Service Manual Online
For 1990-2009 cars only

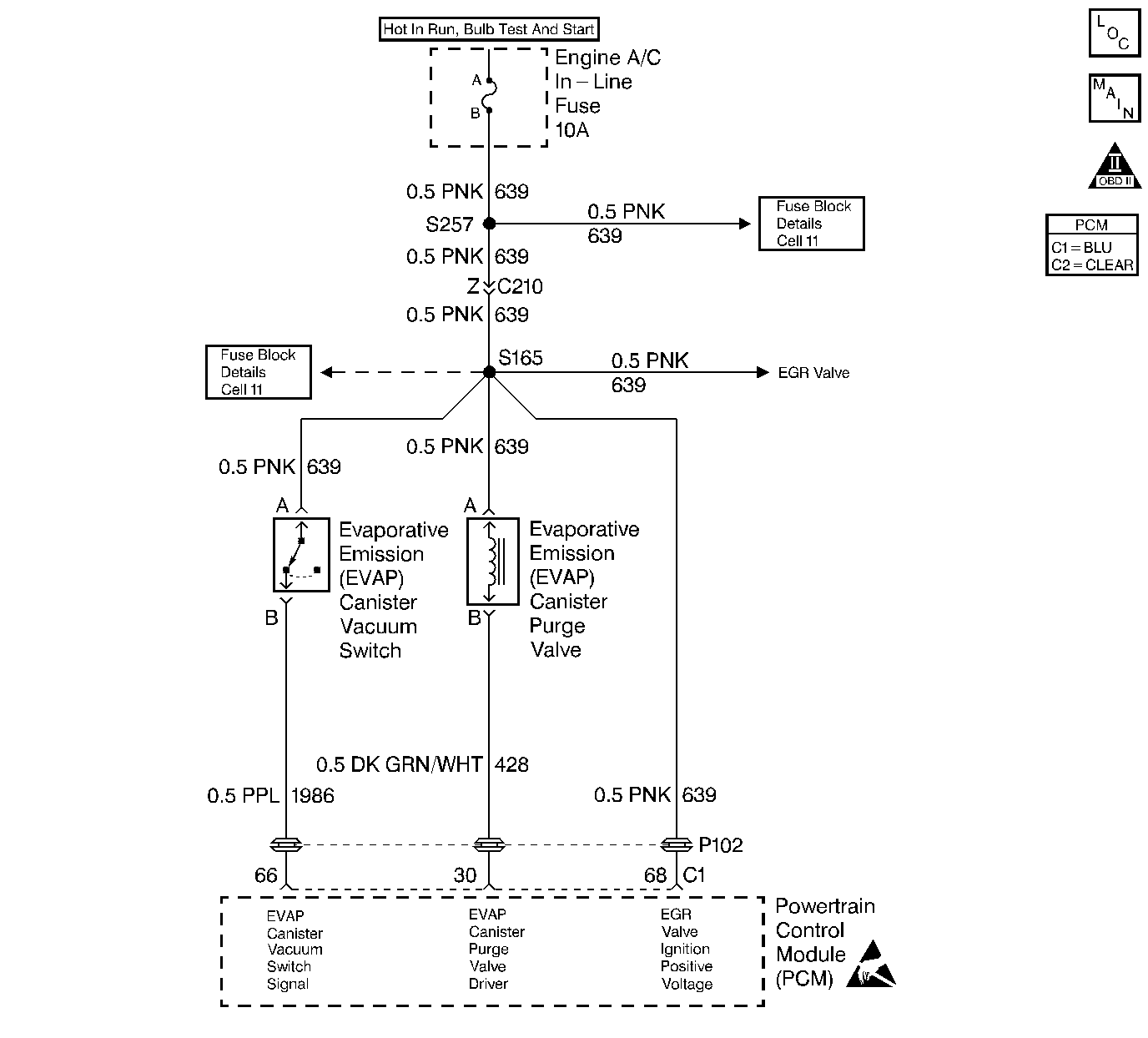
Object Number: 28313  Size: LF
Engine Controls Components
MAF Sensor, EVAP Canister Vent Solenoid, EVAP Canister Purge Valve, EGR Valve
OBD II Symbol Description Notice
Handling ESD Sensitive Parts Notice

Circuit Description

Canister purge is controlled by a solenoid valve that allows manifold vacuum to purge the canister. The Powertrain Control Module (PCM) supplies a ground to energize the solenoid valve (purge ON). The EVAP purge solenoid control is Pulse Width Modulated (PWM) or turned ON and OFF several times a second. The duty cycle (pulse width) is determined by engine operating conditions including load, throttle position, coolant temperature and ambient temperature. The duty cycle is calculated by the PCM and the output is commanded when the appropriate conditions have been met.

The EVAP purge vacuum switch is a normally closed switch positioned in the purge line between the canister and the EVAP purge solenoid. The EVAP purge vacuum switch will open when vacuum increases to greater than 5 inches of water in the purge line. The PCM monitors the EVAP purge vacuum switch signal to determine of the evaporative emission control system is working properly. If the switch is closed (no purge flow) when the PCM is commanding the EVAP purge solenoid ON, DTC P0441 will be set.

Conditions for Setting the DTC

    • No active TP sensor, MAF sensor, IAT sensor, MAP sensor, or Output driver DTC(s) set.
    • BARO reading is above 70 kPa.
    • Engine Coolant Temperature is below 114°C (237°F).
    • Intake Air Temperature (IAT) sensor indicates an ambient temperature above 0°C (32°F).
    • The difference between ECT and IAT is less than 100°C (212°F).
    • Engine speed is between 550 and 5000 RPM
    • Canister purge duty cycle is above 85%.
    • Canister purge vacuum switch remains closed (12 volts signal at the PCM).
    • Above conditions for longer than 4 seconds.
    • IAT sensor less than 70°C (158°F)

Action Taken When the DTC Sets

    • The PCM will illuminate the malfunction indicator lamp (MIL) during the second consecutive trip in which the diagnostic test has been run and failed.
    • The PCM will store conditions which were present when the DTC set as Freeze Frame and Failure Records data.

Conditions for Clearing the MIL/DTC

    • The PCM will turn OFF the MIL during the third consecutive trip in which the diagnostic has been run and passed.
    • The History DTC will clear after 40 consecutive warm-up cycles have occurred without a malfunction.
    • The DTC can be cleared by using the scan tool.

Diagnostic Aids

Check for the following conditions:

    • Poor connection at PCM. Inspect harness connectors for backed out terminals, improper mating, broken locks, improperly formed or damaged terminals, and poor terminal to wire connection.
    • Damaged harness. Inspect the wiring harness for damage. If the harness appears to be OK, observe the EVAP vacuum switch display on the scan tool while moving connectors and wiring harnesses related to the sensor. A change in the display will indicate the location of the fault.

Reviewing the Fail Records vehicle mileage since the diagnostic test last failed may help determine how often the condition that caused the DTC to be set occurs. This may assist in diagnosing the condition.

Test Description

Number(s) below refer to the step number(s) on the Diagnostic Table.

  1. This vehicle is equipped with a PCM which utilizes an Electrically Erasable Programmable Read Only Memory (EEPROM). When the PCM is being replaced, the new PCM must be programmed.

DTC P0441 - EVAP System No Flow During Purge

Step

Action

Value(s)

Yes

No

1

Was the Powertrain On-Board Diagnostic (OBD) System Check performed?

--

Go to Step 2

Go to the Powertrain OBD System Check

2

  1. With the engine idling, observe EVAP Vacuum Sw.on the scan tool.
  2. Command the EVAP purge solenoid ON with the scan tool.

Does the EVAP Vacuum Sw. display Purge with the EVAP purge solenoid commanded ON?

--

Go to Step 3

Go to Step 4

3

  1. Review and record scan tool Fail Records data.
  2. Operate the vehicle within Fail Records conditions.
  3. Using a scan tool, monitor Specific DTC info for DTC P0441 until the DTC P0441 test runs.

Note test result; does scan tool indicate DTC P0441 failed this ign?

--

Go to Step 4

Refer to Diagnostic Aids

4

  1. Plug the vacuum line between the EVAP purge canister and the EVAP Vacuum switch.
  2. With the engine idling, observe EVAP Vacuum Sw. on the scan tool.
  3. Command the EVAP purge solenoid ON with the scan tool.

Does the scan tool display Purge?

--

Go to Step 5

Go to Step 6

5

Check the vacuum lines to the EVAP canister for damage or improper connections. Refer to Emission Hose Routing Diagram.

Was a problem found?

--

Go to Step 20

Go to Step 14

6

  1. Turn OFF the ignition switch.
  2. Install the vacuum gauge between the EVAP purge solenoid and the Vacuum Switch.
  3. With the engine idling, command the EVAP purge solenoid ON with the scan tool.

Does the gauge indicate vacuum greater than the specified value?

12 in. Hg

Go to Step 7

Go to Step 8

7

  1. Turn OFF the ignition switch.
  2. Disconnect the EVAP vacuum switch electrical connector.
  3. Turn ON the ignition switch.
  4. Observe EVAP Vacuum Sw. on the scan tool.

Does the scan tool display Purge?

--

Go to Step 15

Go to Step 9

8

  1. Turn OFF the ignition switch.
  2. Install the vacuum gauge in the vacuum source line to the EVAP purge solenoid.
  3. Engine idling, observe the vacuum gauge.

Does the gauge indicate vacuum greater than the specified value?

12 in. Hg

Go to Step 10

Go to Step 16

9

  1. Turn OFF the ignition switch.
  2. Disconnect the PCM.
  3. Turn ON the ignition switch.
  4. Check for a short to voltage in the EVAP vacuum switch input circuit.
  5. If a problem is found, repair as necessary. Refer to Repair Procedures in Electrical Diagnosis.

Was a problem found?

--

Go to Step 20

Go to Step 19

10

  1. Turn OFF the ignition switch.
  2. Disconnect EVAP purge solenoid electrical connector.
  3. Connect a test light between the EVAP purge solenoid connector terminals.
  4. Turn ON the ignition switch.
  5. Using the scan tool, command the EVAP purge solenoid ON.

Is the test light ON?

--

Go to Step 17

Go to Step 11

11

  1. Turn OFF the ignition switch.
  2. Disconnect the PCM.
  3. Connect a test light between the EVAP purge solenoid connector terminals.
  4. Turn ON the ignition switch.
  5. Jumper the EVAP purge solenoid control circuit to ground at the PCM connector.

Is the test light ON?

--

Go to Step 12

Go to Step 13

12

Check for a poor connection at the PCM.

Was a problem found?

--

Go to Step 20

Go to Step 19

13

  1. Locate the EVAP purge solenoid wiring problem. Check for the following conditions:
  2. • EVAP purge solenoid ignition feed circuit open or shorted to ground.
    • EVAP purge solenoid control circuit open.
  3. Repair faulty circuit as necessary. Refer to Repair Procedures in Electrical Diagnosis.

Is action complete?

--

Go to Step 20

--

14

Replace the EVAP canister. Refer to EVAP Canister.

Is action complete?

--

Go to Step 20

--

15

Replace the EVAP vacuum switch. Go to Refer to EVAP Vacuum Switch.

Is action complete?

--

Go to Step 20

--

16

Locate and repair the cause of no vacuum.

Is action complete?

--

Go to Step 20

--

17

  1. Check for a poor connection at the EVAP purge solenoid.
  2. If a problem is found, repair as necessary. Refer to Repair Procedures in Electrical Diagnosis.

Was a problem found?

--

Go to Step 20

Go to Step 18

18

Replace the EVAP purge solenoid. Refer to EVAP Canister Purge Solenoid.

Is action complete?

--

Go to Step 20

--

19

Replace the PCM.

Important:: The replacement PCM must be programmed. Refer to PCM Replacement/Programming.

Is action complete?

--

Go to Step 20

--

20

  1. Review and record scan tool Fail Records data.
  2. Clear DTCs.
  3. Operate the vehicle within Fail Records conditions as noted.
  4. Using a scan tool, monitor Specific DTC info for DTC P0441 until the DTC P0441 test runs.

Note test result; does the scan tool indicate DTC P0441 failed this ign?

--

Go to Step 2

System OK