GM Service Manual Online
For 1990-2009 cars only

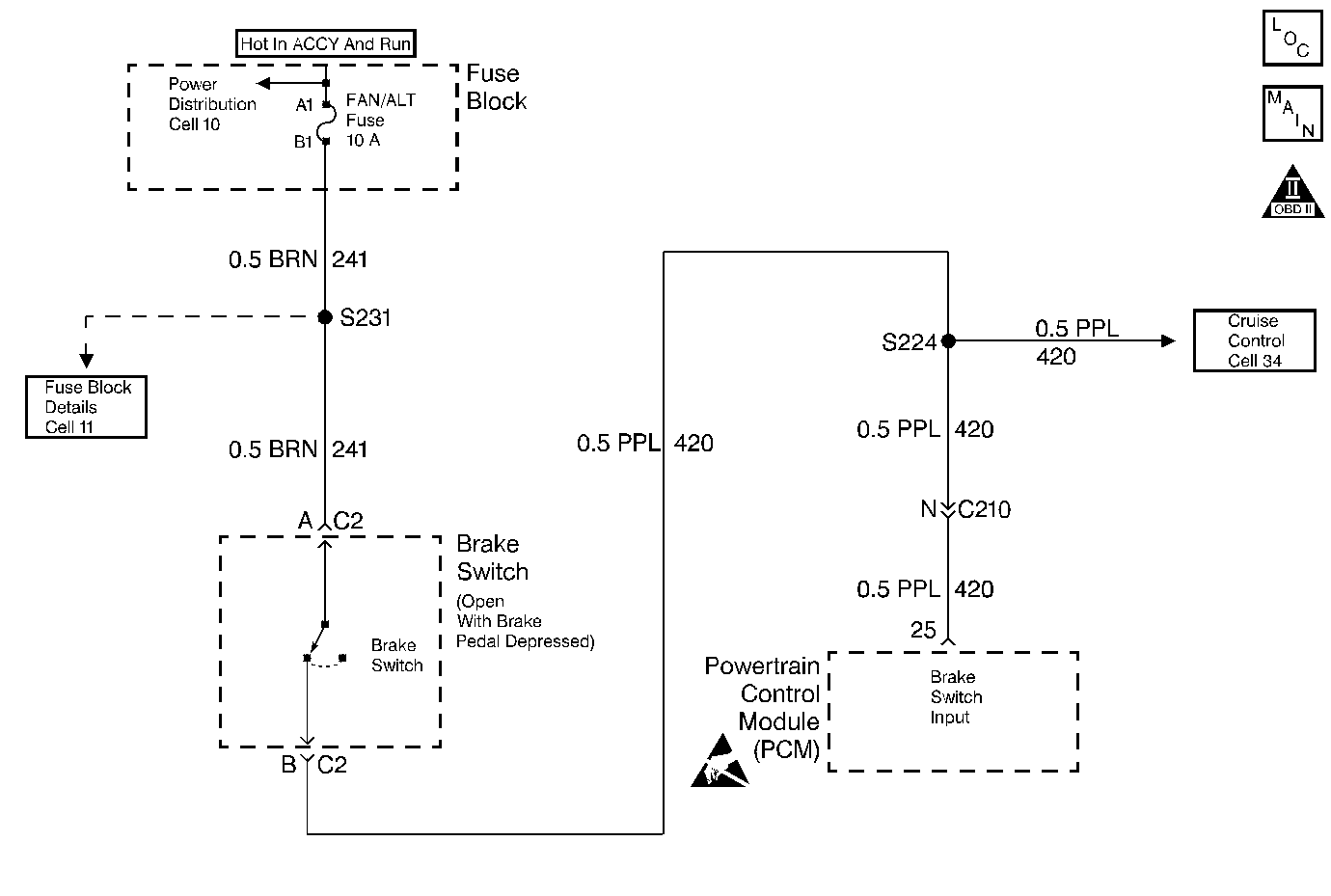
Object Number: 25675  Size: MF
Automatic Transmission Components
Automatic Transmission Controls Schematics
OBD II Symbol Description Notice
Handling ESD Sensitive Parts Notice

Circuit Description

The Torque Converter Clutch (TCC) brake switch indicates brake pedal status to the Powertrain Control Module (PCM). The normally-closed switch supplies battery voltage on circuit 420 to the PCM. Applying the brake pedal opens the brake switch, interrupting voltage to the PCM. While the brake pedal is not applied, the PCM receives constant voltage. If the PCM receives 0 volts at the brake switch input with the Torque Converter Clutch engaged, the PCM de-energizes the Torque Converter Clutch Solenoid Valve (TCC Sol. Valve).

When the PCM detects an open brake switch (stuck ON) during accelerations, then DTC P0719 sets. DTC P0719 is a type D DTC.

Conditions for Setting the DTC

    • No Vehicle Speed Sensor Assembly DTC P0502
    • The vehicle speed is less than 8 km/h (5 mph),
        then the vehicle speed is 8-32 km/h (5-20 mph) for 4 seconds,
        then the vehicle speed remains greater than 32 km/h (20 mph) for at least 6 seconds.
    • The above conditions must occur 7 times without a brake switch status change.

Action Taken When the DTC Sets

The PCM does not illuminate the Malfunction Indicator Lamp (MIL).

Conditions for Clearing the MIL/DTC

A scan tool can clear the DTC from the PCM history. The PCM clears the DTC from the PCM history if the vehicle completes 40 warm-up cycles without a failure reported.

Diagnostic Aids

    • Inspect the TCC brake switch for proper adjustment.
    • Inspect the wiring for poor electrical connections at the PCM. Inspect the wiring for poor electrical connections at the TCC brake switch connector. Look for the following conditions:
       - A bent terminal
       - A backed out terminal
       - A damaged terminal
       - Poor terminal tension
       - A chafed wire
       - A broken wire inside the insulation
    • When diagnosing for an intermittent short or open condition, massage the wiring harness while watching the test equipment for a change.

Test Description

The numbers below refer to the Step numbers on the diagnostic table.

  1. If you disconnect the brake switch connector and observe the brake switch status change, then a brake switch problem is the only possible cause of the DTC.

  2. A short to ground in circuit 241 would open the FAN/ALT fuse.

  3. If the brake switch is properly adjusted, then you must replace the brake switch.

  4. Replace the PCM only after you have completed the preceding diagnostic steps.

DTC P0719

Step

Action

Value(s)

Yes

No

1

Was the Powertrain On-Board Diagnostic (OBD) System Check performed?

--

Go to Step 2

Go to Powertrain On Board Diagnostic (OBD) System Check

2

  1. Install the scan tool (tech 1) ®.
  2. With the engine OFF, turn the ignition switch to the RUN position.
  3. Important: Before clearing the DTCs, use the scan tool in order to record the Failure Records for reference. The Clear Info function will erase the data.

  4. Record the DTC Failure Records.
  5. Select scan tool TCC brake switch.
  6. Disconnect the brake switch connector.
  7. Install a fused jumper from terminal A to terminal B of the brake switch connector.

Did the brake switch status change from ON to OFF?

--

Go to Step 5

Go to Step 3

3

  1. Remove the FAN/ALT fuse.
  2. Inspect the fuse for an open.

Refer to Troubleshooting Procedures, Section 8.

Was the fuse open?

--

Go to Step 4

Go to Step 7

4

Inspect circuit 241 for a short to ground.

Refer to Troubleshooting Procedures, Section 8.

Did you find and correct the condition?

--

Go to Step 9

--

5

Inspect the brake switch for proper adjustment.

Refer to Electric Brake Release Switches, Section 9.

Did you find and correct the condition?

--

Go to Step 9

Go to Step 6

6

Replace the brake switch.

Refer to Electric Brake Release Switches, Section 9.

Is the replacement complete?

--

Go to Step 9

--

7

Inspect circuit 420 for an open.

Refer to Troubleshooting Procedures, Section 8.

Did you find and correct the condition?

--

Go to Step 9

Go to Step 8

8

Replace the PCM.

Refer to Powertrain Control Module/EEPROM Replacement/Programming , Section 6.

Is the replacement complete?

--

Go to Step 9

--

9

In order to verify your repair, perform the following procedure:

  1. Select DTC.
  2. Select Clear Info.
  3. Operate the vehicle under the following conditions:
  4. • Turn the ignition switch to the RUN position.
    • Do not apply the brake pedal.
    • The PCM must receive 12 volts (brake switch closed) for 2 seconds or more.
  5. Select Specific DTC. Enter DTC P0719.

Has the test run and passed?

--

System OK

Begin the diagnosis again. Go to Step 1