GM Service Manual Online
For 1990-2009 cars only

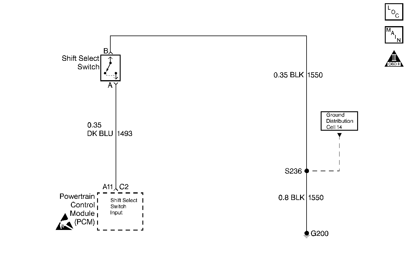
Object Number: 107724  Size: MF

Circuit Description

The Shift Select System allows the driver to select one of two shift patterns, NORMAL or PERFORMANCE. Pressing the shift lever button changes the shift pattern.

The Powertrain Control Module (PCM) provides input voltage to the Shift Select Switch on circuit 1493. The switch is grounded on circuit 1550.

The PERFORMANCE shift pattern has the following characteristics:

    • Upshifts occur at a higher engine speed.
    • Downshifts occur at a lower percentage throttle position.
    • Engine torque output is increased in 2nd and 3rd gear.

Diagnostic Aids

    • Inspect the wiring for poor electrical connections at the PCM. Inspect the wiring for poor electrical connections at the shift select switch connector. Look for the following conditions:
       - A bent terminal
       - A backed out terminal
       - A damaged terminal
       - Poor terminal tension
       - A chafed wire
       - A broken wire inside the insulation
    • Verify that any aftermarket electronic equipment is properly installed. Improperly installed aftermarket electronic equipment may modify the integrity of other systems.
    • Refer to Troubleshooting Procedures, Section 8.

Test Description

The numbers below refer to the step numbers on the diagnostic table.

  1. This step verifies that the Shift Select Switch is functioning properly.

  2. This step tests for system power on circuit 1493.

  3. This step tests for ground on circuit 1550.

Shift Select System Diagnosis

Step

Action

Value(s)

Yes

No

1

  1. Install the scan tool.
  2. With the engine OFF, turn the ignition switch to the RUN position.
  3. Select transmission data list on the scan tool.
  4. Monitor the scan tool Shift Mode while alternating between the NORMAL and PERFORMANCE shift patterns.

Does the scan tool indicate Normal and Performance appropriately?

--

Refer to Symptoms, Section 6

Go to Step 2

2

  1. Disconnect the Shift Select Switch at connector C240.
  2. Connect a test lamp between connector C240 terminal B and ground.
  3. With the engine OFF, turn the ignition switch to the ON position.

Does the test lamp light?

--

Go to Step 4

Go to Step 3

3

Repair the open or short to ground in circuit 1493.

Refer to Troubleshooting Procedures, Section 8.

Did you find and correct the condition?

--

Go to Step 10

Go to Step 8

4

Connect a test lamp between connector C240 terminal B and terminal K.

Does the test lamp light?

--

Go to Step 6

Go to Step 5

5

Repair the open in circuit 1550.

Refer to Troubleshooting Procedures, Section 8.

Did you find and correct the condition?

--

Go to Step 10

--

6

Inspect the Shift Select Switch connector for poor contact.

Did you find the problem?

--

Go to Step 10

Go to Step 07

7

Replace the Shift Select Switch.

Is the replacement complete?

--

Go to Step 10

--

8

Inspect the PCM connectors for poor contact.

Did you find the problem?

--

Go to Step 10

Go to Step 9

9

Replace the PCM.

Is the replacement complete?

--

Go to Step 10

--

10

After the repair is complete, road test the vehicle. Use both shift patterns. Verify that the Shift Select System is functioning properly.

--

System OK

Begin the diagnosis again. Go to Step 1