GM Service Manual Online
For 1990-2009 cars only

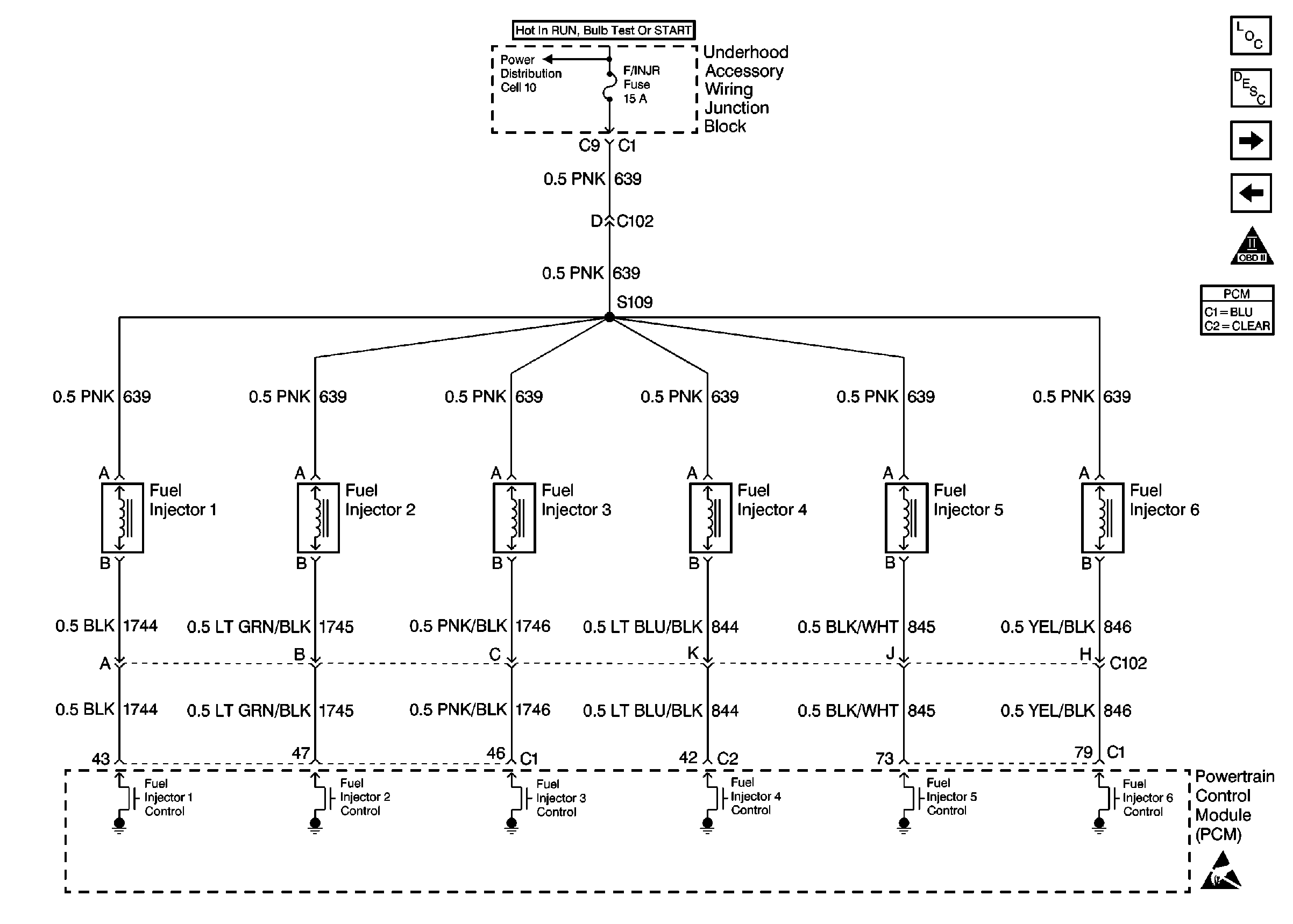
Refer to Engine Controls Schematics

Cell 20: Fuel Injectors


Object Number: 349285  Size: FS
Cell 20: Engine Data Sensors-A/C Refrig Press, ECT, IAT, MAP and TP
OBDII Symbol Description Notice
Cell 20: Fuel Control
Cell 10: Underhood Accessory Wiring Junction Block
Handling Electrostatic Discharge Sensitive Parts Notice
.

Circuit Description

The PCM controls the fuel injector control circuit using a Multi Function Driver (MFD). The MFD has the ability to detect an electrical malfunction. If an electrical malfunction is detected, the MFD signals the PCM to set DTC P0203.

Conditions for Running the DTC

The ignition is on.

Conditions for Setting the DTC

    •  An incorrect voltage level is being detected on an injector driver circuit.
    •  Above condition for over 30 seconds.

Action Taken When the DTC Sets

    • The PCM illuminates the malfunction indicator lamp (MIL) on the second consecutive ignition cycle that the diagnostic runs and fails.
    • The PCM records the operating conditions at the time the diagnostic fails. The first time the diagnostic fails, the PCM stores this information in the Failure Records. If the diagnostic reports a failure on the second consecutive ignition cycle, the PCM records the operating conditions at the time of the failure.
    • The PCM writes the conditions to the Freeze Frame and updates the Failure Records.

Conditions for Clearing the MIL/DTC

    • The PCM will turn OFF the malfunction indicator lamp (MIL) during the third consecutive trip in which the diagnostic has run and passed.
    • The history DTC will clear after 40 consecutive warm-up cycles have occurred without a malfunction.
    • The DTC can be cleared by using a scan tool.

Diagnostic Aids

Check for the following conditions:

Important: :  Remove any debris from the connector surfaces before servicing a component. Inspect the connector gaskets when diagnosing or replacing a component. Ensure that the gaskets are installed correctly. The gaskets prevent contaminate intrusion.

    •  Poor terminal connection.
         Inspect the harness connectors for backed out terminals, improper mating, broken locks, improperly formed or damaged terminals, and faulty terminal to wire connection. Use a corresponding mating terminal to test for proper tension. Refer to Intermittents and Poor Connections Diagnosis , and Connector Repairs Wiring Systems.
    •  Damaged harness.
         Inspect the wiring harness for damage. If the harness appears to be OK, observe the sensor display on the scan tool while moving connectors and wiring harnesses related to the sensor. A change in the sensor display may indicate the location of the fault. Refer to Wiring Repairs in Wiring Systems.
    •  Inspect the PCM and the engine grounds for clean and secure connections.

If the DTC is determined to be intermittent, reviewing the Fail Records can be useful in determining when the DTC was last set.

Test Description

The number(s) below refer to the step number(s) on the diagnostic table:

  1. If the scan tool indicates STUCK HIGH there is a short to battery positive voltage on the fuel injector driver circuit.

  2. If the scan tool indicates STUCK LOW there is an open or a short to ground on the fuel injector driver circuit.

  3. When the 10-way fuel injector connector is disconnected, DTCs P0107 and P1107 will be set. There DTCs should be disregarded.

    If the scan tool indicates a STUCK HIGH while cranking, the short to battery positive voltage is between the 10-way connector and the PCM. If the scan tool indicates STUCK LOW while cranking the short to battery positive voltage is between the 10-way connector and the fuel injector.

    Important:  While cranking the engine with the 10-way fuel injector connector disconnected, all of the other injector circuits will indicate STUCK LOW, this is a fault induced by disconnecting the 10-way. They will resume correct operation when the 10-way connector is reconnected.

  4. This step is checking for a short to ground in the circuit.

  5. The fuel injector in this circuit will need to be checked after the short to ground is repaired or after the PCM is replaced.

  6. This step is checking the function of the PCM. If the J 34142-B test light flashes then the PCM is able to supply the ground.

  7. This vehicle is equipped with a PCM which utilizes an Electronically Erasable Programmable Read Only Memory (EEPROM). When the PCM is being replaced, the new PCM must be programmed.

Step

Action

Value(s)

Yes

No

1

Was the On-Board Diagnostic (OBD) System Check performed?

Go to Step 2

Go to Powertrain On Board Diagnostic (OBD) System Check

2

With the engine idling monitor specific DTC P0203 on the scan tool.

Does scan tool indicate DTC P0203 failed this ignition?

Go to Step 4

Go to Step 3

3

  1. Turn the Ignition on.
  2. Review and record scan tool fail records data.
  3. Operate the vehicle in fail conditions.

Does scan tool indicate P0203 failed this ignition?

 

Go to Step 4

Go to Diagnostic Aids

4

Using the scan tool, enter output driver data menu.

Does scan tool indicate cylinder number 3 injector circuit is STUCK HIGH?

 

Go to Step 6

Go to Step 5

5

Does the scan tool indicate cylinder number 3 injector circuit is STUCK LOW?

 

Go to Step 10

Go to Diagnostic Aids

6

Important: :  While cranking the engine with the 10-way fuel injector connector disconnected, all of the other injector circuits will indicate Stuck Low, this is a fault induced by disconnecting the 10-way. They will resume correct operation when the 10-way connector is reconnected.

  1. Turn the ignition off.
  2. Disconnect the 10-way fuel injector connector.
  3. Crank the engine

While cranking engine, does the scan tool indicate cylinder number 3 injector circuit is STUCK HIGH?

 

Go to Step 7

Go to Step 9

7

  1. Turn off the ignition.
  2. Disconnect the PCM.
  3. T urn on the ignition, leaving the engine off.
  4. Measure the voltage between cylinder number 3 fuel injector control circuit and ground.

Does cylinder number 3 injector control circuit measure near specified value?

B+

Go to Step 8

Go to Step 15

8

Locate and repair short to voltage in cylinder number 3 fuel injector control circuit. Refer to Wiring Repairs .

Is the action complete?

 

Go to Step 16

--

9

Did the scan tool indicate the number 3 injector control circuit is STUCK LOW?

 

Go to Fuel Injector Solenoid Coil Test - Engine Coolant Temperature Between 10-35 Degrees C (50-95 Degrees F) or Fuel Injector Solenoid Coil Test - Engine Coolant Temperature Outside 10-35 Degrees C (50-95 Degrees F)

--

10

  1. Disconnect 10-way fuel injector harness connector.
  2. Connect J 35616-200 test light to battery positive voltage and the PCM side of 10-way connector injector control circuit for cylinder number 3.

Is the J 35616-200 test light on?

 

Go to Step 11

Go to Step 12

11

  1. Disconnect the PCM.
  2. With the J 35616-200 test light still connected to battery positive voltage and PCM side of 10-way connector cylinder number 3 injector driver circuit.

Is the J 35616-200 test light on?

 

Go to Step 14

Go to Step 15

12

With the J 35616-200 test light still connected, crank the engine.

Does the J 35616-200 test light flash?

 

Go to Fuel Injector Solenoid Coil Test - Engine Coolant Temperature Between 10-35 Degrees C (50-95 Degrees F) or Fuel Injector Solenoid Coil Test - Engine Coolant Temperature Outside 10-35 Degrees C (50-95 Degrees F)

Go to Step 13

13

  1. Check cylinder number 3 injector driver circuit between the 10-way fuel injector connector and the PCM for an open circuit. Refer to Wiring Repairs .
  2. If a problem is found repair as necessary.

Was a problem found?

 

Go to Step 16

--

14

Locate and repair short to ground in the fuel injector driver circuit between the PCM and the 10-Way fuel injector connector.

Is the action complete?

 

Go to step 16

--

15

Important: :  The replacement PCM must be programmed.

Replace the PCM. Refer to Powertrain Control Module Replacement/Programming .

Is the action complete?

 

Go to step 16

--

16

  1. Turn on the ignition switch, leaving the engine off.
  2. Review and record scan tool Fail Records data.
  3. Clear the DTCs.
  4. Operate the vehicle within the Fail Records conditions.
  5. Using a scan tool, monitor Specific DTC info for DTC P0203.

Does the scan tool indicate DTC P0203 failed this ignition?

 

Go to Step 2

System OK