GM Service Manual Online
For 1990-2009 cars only

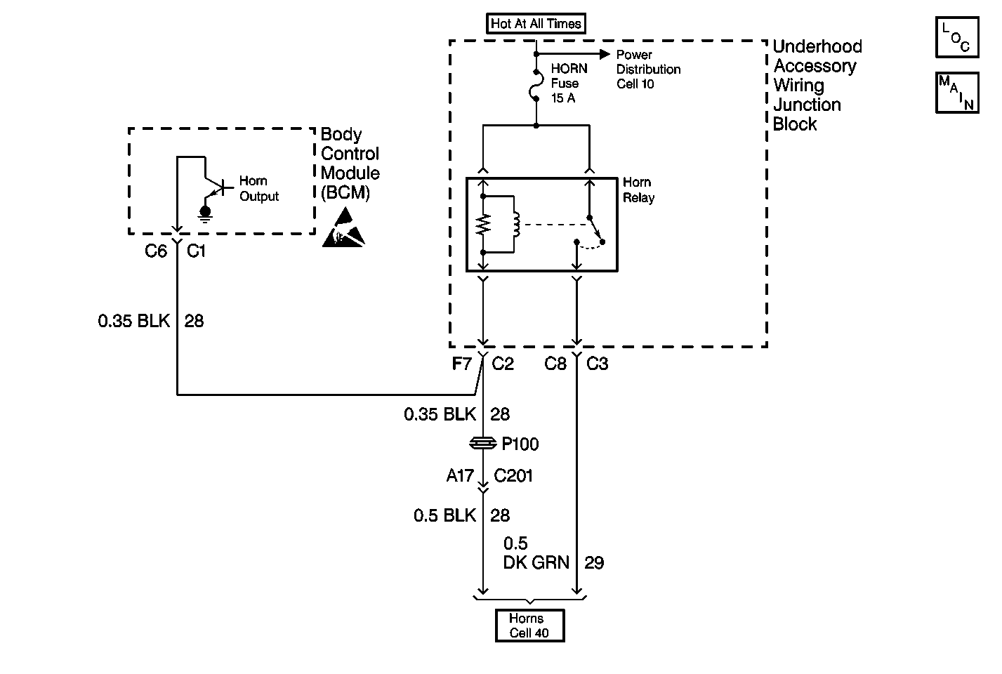
Object Number: 385151  Size: MF

Circuit Description

The BCM sounds the horns for the alarm feature. When the BCM grounds circuit 28, it energizes the horn relay and causes the horns to sound. The BCM monitors the voltage level in circuit 28. When the BCM energizes the horn relay, the voltage level in circuit 28 should be low. When the horn relay is de-energized, the voltage in circuit 28 should be high.

Conditions for Setting the DTC

    • The BCM detects a high voltage level (i.e. short to B+ or BCM shorted to B+ internally) in the horn control circuit (circuit 28).
    • The BCM tests for this condition when attempting to energize the horn relay during an alarm activation.
    • All conditions must be present for more than 0.08 seconds.

Action Taken When the DTC Sets

    • The BCM stores DTC B2753 in memory.
    • The BCM turns off its output to the horn relay.

Conditions for Clearing the DTC

    • When the ignition switch is turned from off to on, a current DTC B2753 is always cleared. If a short to B+ is still present in circuit 28 when the BCM attempts to ground circuit 28 during an alarm function, DTC B2753 will reset as a current DTC.
    • A history DTC will clear after 100 consecutive ignition cycles if the condition for the fault is no longer present.
    • Using a scan tool.

Diagnostic Aids

    • The following conditions may cause an intermittent malfunction to occur:
      • An intermittent short to B+ in circuit 28.
      • The BCM is shorted to B+ internally.
      • The horn relay coil is shorted to B+ internally.
    • If the BCM is shorted to B+ internally, or if circuit 28 is shorted to B+, the horn will remain off at all times.
    • If the DTC is a history DTC, the problem may be intermittent. Try performing the tests shown while moving wiring and connectors, this can often cause the malfunction to reappear.
    • DTC P1626 will set in the Powertrain Control Module (PCM) when the ignition switch is on with the Body Control module (BCM) disconnected. When BCM diagnostics and repairs are completed, refer to Engine Controls for additional information on PCM related DTCs.

Test Description

The numbers below refer to the step numbers on the diagnostic table.

  1. This step checks for a short to B+ in circuit 28.

  2. This step checks the coil side of the horn relay for proper resistance values.

  3. This step determines whether the malfunction is intermittent or the BCM is faulty.

Step

Action

Value(s)

Yes

No

1

Was the BCM Diagnostic System Check performed?

--

Go to Step 2

Go to Diagnostic System Check - Body Control System

2

  1. Turn the ignition switch off.
  2. Remove the horn relay from the underhood accessory wiring junction block.
  3. Disconnect the BCM connector C1.
  4. Turn the ignition switch on.
  5. Using a DMM, measure the voltage between the BCM connector C1 terminal C6 and ground.

Is the voltage measured within the specified range?

Less than 2V

Go to Step 3

Go to Step 5

3

Using a DMM, measure the resistance between the horn relay terminals 85 and 86 (relay side).

Is the resistance measured within the specified range?

65-100ohms

Go to Step 4

Go to Step 6

4

  1. Turn the ignition switch off.
  2. Reinstall connectors/components removed.
  3. Turn the ignition switch on.
  4. Clear BCM DTCs. Refer to Clearing DTCs for more information.
  5. Press the alarm button on the keyless entry transmitter. Press alarm button again to stop the horn.
  6. Check for BCM DTCs. Refer to Diagnostic Trouble Code (DTC) Displaying for more information.

Does DTC B2753 reset as a current DTC?

--

Go to Step 7

Go to Step 8

5

Repair short to B+ in circuit 28.

Is the repair complete?

--

Go to Step 9

--

6

Replace the horn relay.

Is the repair complete?

--

Go to Step 9

--

7

  1. Replace the BCM. Refer to Body Control Module Replacement for more information.
  2. After replacing the BCM, perform the Setup New BCM procedure. Refer to Body Control Module (BCM) Programming/RPO Configuration for more information.

Is the repair complete?

--

Go to Step 9

--

8

The malfunction is not present at this time. Refer to Diagnostic Aids for additional information regarding this DTC.

Is the repair complete?

--

Go to Step 9

--

9

  1. Turn the ignition switch off.
  2. Reinstall connectors/components removed.
  3. Turn the ignition switch on.
  4. Clear BCM DTCs. Refer to Clearing DTCs for more information.
  5. Check for BCM DTCs. Refer to Diagnostic Trouble Code (DTC) Displaying for more information.

Are there any BCM current DTCs set?

--

Go to Diagnostic System Check - Body Control System

System OK