GM Service Manual Online
For 1990-2009 cars only
Makes
🢒
Buick
🢒
1999
🢒
Century
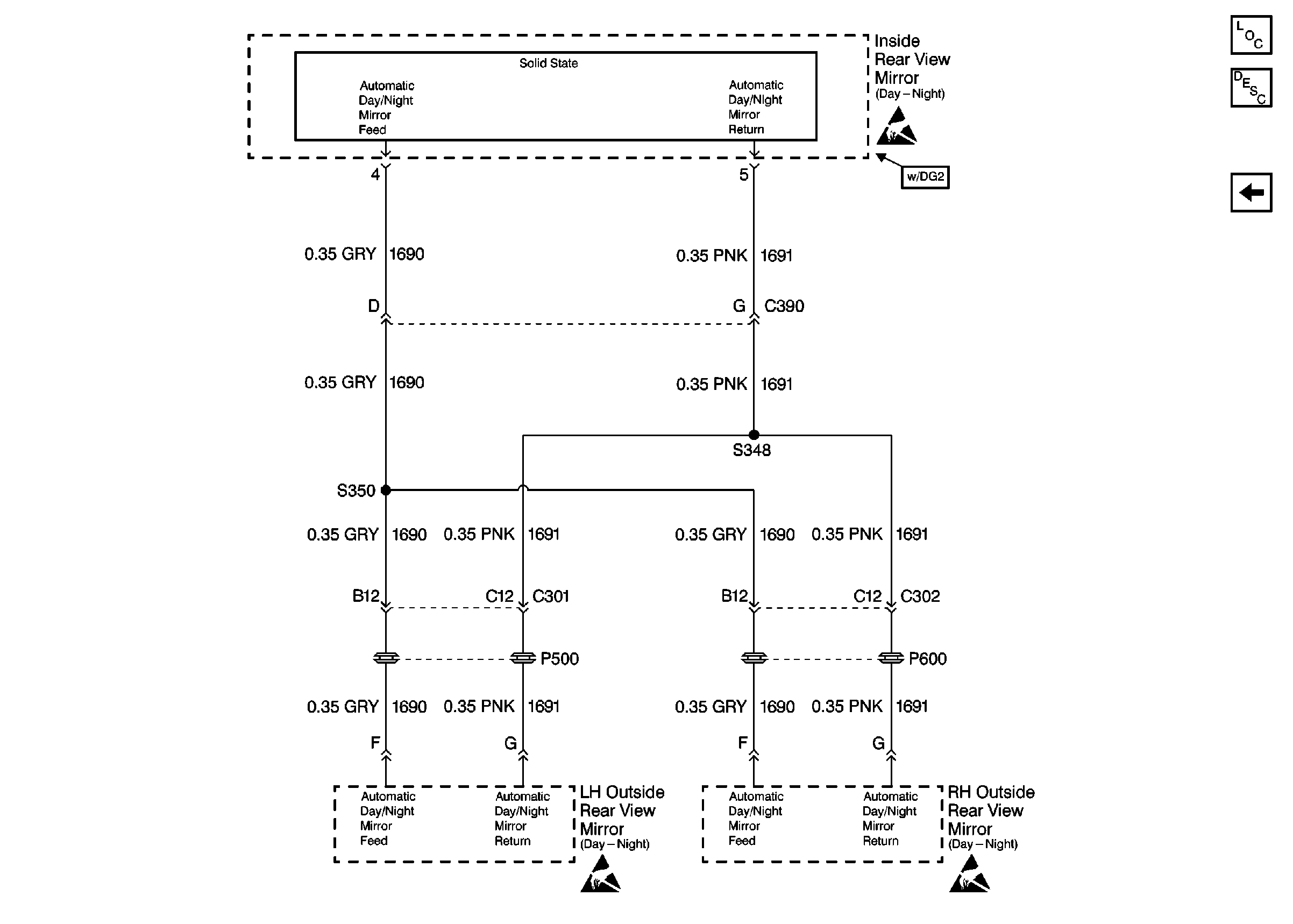
🢒 Cell 148: RH and LH Outside Rearview Mirror
Cell 148: RH and LH Outside Rearview Mirror
Cell 148: RH and LH Outside Rearview Mirror
Stationary Windows Components
Automatic Day-Night Mirrors Circuit Description
Cell 148: VIN K, 1
Handling ESD Sensitive Parts Notice
Handling ESD Sensitive Parts Notice
Handling ESD Sensitive Parts Notice