GM Service Manual Online
For 1990-2009 cars only

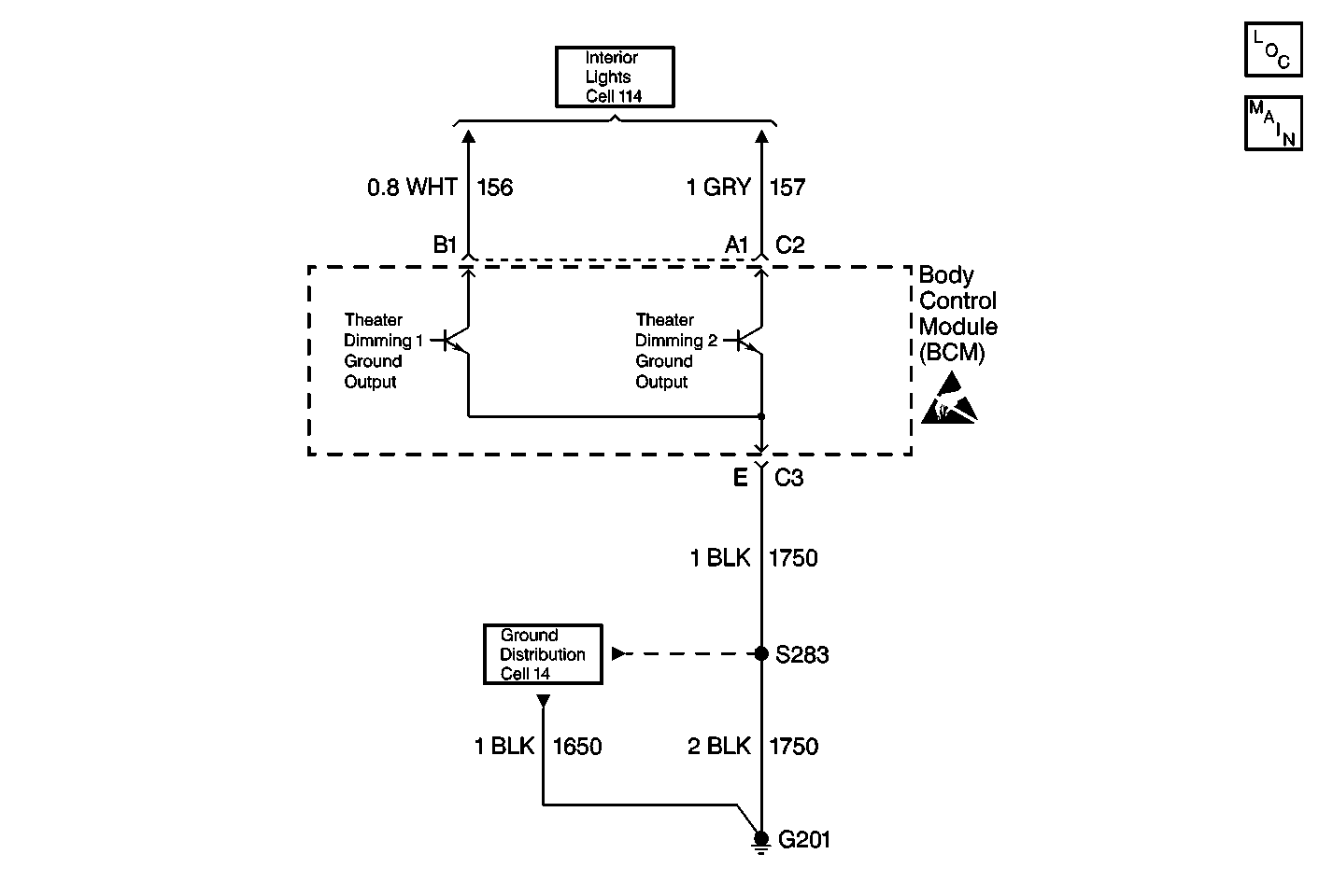
Object Number: 385147  Size: MF

Circuit Description

The Body Control Module (BCM) controls the interior illumination. The BCM turns on the I/P courtesy lamps and the ignition switch illumination bulb when:

    • Any vehicle door is opened.
    • The I/P dimmer switch is in the DOME position.
    • During exit illumination or delayed illumination.
    • When lifting either LF or RF door handle.
    • When unlocking the doors using the keyless entry transmitter.

The BCM turns off the lamps when all doors are closed and the I/P dimmer switch is off.

All vehicle doors contain a door lock ajar switch. When the driver's door is open, the LF door lock ajar switch closes and sends a ground signal to the BCM through circuit 49. When the LF, RF, LR or RR door is open, its corresponding door lock ajar switch closes and sends a ground signal to the BCM through circuit 727. The LF and RF door locks have a door handle switch. When either LF or RF door handle is lifted, its corresponding door lock switch sends a ground signal to the BCM through circuit 394. The BCM grounds circuit 156 when detecting a ground signal in circuit 49, 394 or 727.

When the driver's door is closed, the LF door lock ajar switch opens circuit 49. When the LF, RF, LR and RR doors are closed, their corresponding door lock ajar switches open circuit 727. When LF and RF door handles are released, circuit 394 opens. The BCM then opens circuit 156 when circuit 49, 394 and 727 are open.

The BCM uses the voltage in circuit 240 to power the courtesy lights through circuit 1732. The BCM controls the power supplied in circuit 1732 for inadvertent load (battery rundown) protection. The BCM opens circuit 156 when the inadvertent load (battery rundown) protection is active (circuit 1732 is open).

Conditions for Setting the DTC

The BCM detects a short to B+ in circuit 156.

Action Taken When the DTC Sets

    • The BCM stores DTC B2613 in memory.
    • The BCM turns off its ground output to circuit 156.

Conditions for Clearing the DTC

    • A short to B+ is no longer detected by the BCM in circuit 156 when the ignition switch is turned from off to on.
    • A history DTC will clear after 100 consecutive ignition cycles if the condition for the fault is no longer present.
    • Using a scan tool.

Diagnostic Aids

    • The following conditions may cause an intermittent malfunction to occur:
      • An intermittent short to B+ in circuit 156.
      • The BCM is shorted to B+ internally.
    • If the DTC is a history DTC, the problem may be intermittent. Try performing the tests shown while wiggling wiring and connectors, this can often cause the malfunction to reappear.
    • DTC P1626 will set in the Powertrain Control Module (PCM) when the ignition switch is on with the Body Control module (BCM) disconnected. When BCM diagnostics and repairs are completed, refer to Engine Controls for additional information on PCM related DTCs.

Test Description

The numbers below refer to the step numbers on the diagnostic table.

  1. This step checks for a short to B+ in circuit 156.

  2. This step determines whether the malfunction is intermittent or the BCM is faulty.

Step

Action

Value(s)

Yes

No

1

Was the BCM Diagnostic System Check performed?

--

Go to Step 2

Go to Diagnostic System Check - Body Control System

2

Check for BCM current DTCs. Refer to Diagnostic Trouble Code (DTC) Displaying for more information.

Is BCM current DTC B2559 set also?

--

Go to DTC B2559 Theater Dimming Ground Circuit Open

Go to Step 3

3

  1. Turn the ignition switch off.
  2. Disconnect BCM connectors C2 and C3.
  3. Turn the ignition switch on.
  4. Using a DMM, measure the voltage between the BCM harness connector C2 terminal B1 and ground.

Is the voltage measured within the specified range?

Less than 2V

Go to Step 4

Go to Step 5

4

  1. Turn the ignition switch off.
  2. Reinstall connectors/components removed.
  3. Turn the ignition switch on.
  4. Clear BCM DTCs. Refer to Clearing DTCs for more information.
  5. Turn the I/P dimmer switch to the DOME position (turning on the interior courtesy lights.)

Does BCM DTC B2613 reset as a current DTC?

--

Go to Step 6

Go to Step 7

5

Repair short to B+ in circuit 156.

Is the repair complete?

--

Go to Step 8

--

6

  1. Replace the BCM. Refer to Body Control Module Replacement for more information.
  2. After replacing the BCM, perform the Setup New BCM procedure. Refer to Body Control Module (BCM) Programming/RPO Configuration for more information.

Is the repair complete?

--

Go to Step 8

--

7

The malfunction is not present at this time. Refer to Diagnostic Aids for additional information regarding this DTC.

Is the repair complete?

--

Go to Step 8

--

8

  1. Turn the ignition switch off.
  2. Reinstall connectors/components removed.
  3. Turn the ignition switch on.
  4. Clear BCM DTCs. Refer to Clearing DTCs for more information.
  5. Check for BCM DTCs. Refer to Diagnostic Trouble Code (DTC) Displaying for more information.

Are there any BCM current DTCs set?

--

Go to Diagnostic System Check - Body Control System

System OK