| |||||||||||||||
|---|---|---|---|---|---|---|---|---|---|---|---|---|---|---|---|
Connector Part Information |
| Connector Part Information |
| ||||||||||||
Pin | Wire Color | Circuit No. | Function | Pin | Wire Color | Circuit No. | Function | ||||||||
A | WHT | 85 | Cruise Control Engaged Output | A | WHT | 85 | Cruise Control Engaged Output | ||||||||
B | -- | -- | Not Used | B | -- | -- | Not Used | ||||||||
C | PPL | 420 | Brake Pedal Switch Output - Torque Converter Clutch | C | PPL | 420 | Brake Pedal Switch Output - Torque Converter Clutch | ||||||||
D | -- | -- | Not Used | D | -- | -- | Not Used | ||||||||
E | WHT | 17 | Stop Lamp Switch - Output | E | WHT | 17 | Stop Lamp Switch - Output | ||||||||
F | DK GRN | 83 | Cruise Control Signal - Disengage | F | DK GRN | 83 | Cruise Control Signal - Disengage | ||||||||
G | DK GRN/WHT | 817 | VSS - 4,000 Pulses per Mile | G | DK GRN/WHT | 817 | VSS - 4,000 Pulses per Mile | ||||||||
H | BLK | 452 | Sensor Return | H | BLK | 452 | Sensor Return | ||||||||
J | DK GRN | 890 | Fuel Tank Pressure Sensor Signal | J | DK GRN | 890 | Fuel Tank Pressure Sensor Signal | ||||||||
K | GRY | 474 | 5 Volt Reference | K | GRY | 474 | 5 Volt Reference | ||||||||
L | BLK | 884 | Left Rear Wheel Speed Signal High | L | BLK | 884 | Left Rear Wheel Speed Signal High | ||||||||
M | RED | 885 | Left Rear Wheel Speed Signal Low | M | RED | 885 | Left Rear Wheel Speed Signal Low | ||||||||
N | BRN | 882 | Right Rear Wheel Speed Signal High | N | BRN | 882 | Right Rear Wheel Speed Signal High | ||||||||
P | WHT | 883 | Right Rear Wheel Speed Signal Low | P | WHT | 883 | Right Rear Wheel Speed Signal Low | ||||||||
R | LT BLU | 1122 | Class II Serial Data Signal to ABS/TCS | R | LT BLU | 1122 | Class II Serial Data Signal to ABS/TCS | ||||||||
S | DK GRN | 1049 | Class 2 Serial Data Signal to BCM | S | DK GRN | 1049 | Class 2 Serial Data Signal to BCM | ||||||||
T | -- | -- | Not Used | T | -- | -- | Not Used | ||||||||
U | DK GRN/WHT | 762 | A/C Request Signal (2-Door) | U | DK GRN/WHT | 762 | A/C Request Signal (2-Door) | ||||||||
U | -- | -- | Not Used (4-Door) | U | -- | -- | Not Used (4-Door) | ||||||||
V | BRN/WHT | 419 | Check Engine Indicator Lamp Output | V | BRN/WHT | 419 | Check Engine Indicator Lamp Output | ||||||||
W | PPL | 1589 | Fuel Gauge Sensor Signal | W | PPL | 1589 | Fuel Gauge Sensor Signal | ||||||||
| |||||||||||||||
|---|---|---|---|---|---|---|---|---|---|---|---|---|---|---|---|
Connector Part Information |
| Connector Part Information |
| ||||||||||||
Pin | Wire Color | Circuit No. | Function | Pin | Wire Color | Circuit No. | Function | ||||||||
A | PNK | 639 | Fuse Output - Ignition 1 | A | PNK | 639 | Fuse Output - Ignition 1 | ||||||||
B | YEL | 410 | Coolant Temperature Sensor Signal | B | YEL | 410 | Coolant Temperature Sensor Signal | ||||||||
C | BLK | 1744 | Fuel Injection 1 | C | BLK | 1744 | Fuel Injection 1 | ||||||||
D | LT GRN/BLK | 1745 | Fuel Injection 2 | D | LT GRN/BLK | 1745 | Fuel Injection 2 | ||||||||
E | PNK/BLK | 1746 | Fuel Injection 3 | E | PNK/BLK | 1746 | Fuel Injection 3 | ||||||||
F | LT BLU/BLK | 844 | Fuel Injection 4 | F | LT BLU/BLK | 844 | Fuel Injection 4 | ||||||||
G | BLK/WHT | 845 | Fuel Injection 5 | G | BLK/WHT | 845 | Fuel Injection 5 | ||||||||
H | YEL/BLK | 846 | Fuel Injection 6 | H | YEL/BLK | 846 | Fuel Injection 6 | ||||||||
J | -- | -- | Not Used | J | -- | -- | Not Used | ||||||||
K | GRY | 2704 | Reference Voltage Feed - 5 Volts - MAP Sensor | K | GRY | 2704 | Reference Voltage Feed - 5 Volts - MAP Sensor | ||||||||
L | GRN/BLK | 469 | Manifold Absolute Pressure Sensor Return | L | GRN/BLK | 469 | Manifold Absolute Pressure Sensor Return | ||||||||
M | LT GRN | 432 | Manifold Absolute Pressure Sensor Signal | M | LT GRN | 432 | Manifold Absolute Pressure Sensor Signal | ||||||||
N | RED/WHT | 812 | Reference Voltage Feed - 12 Volts | N | RED/WHT | 812 | Reference Voltage Feed - 12 Volts | ||||||||
P | BLK | 407 | Sensor Return | P | BLK | 407 | Sensor Return | ||||||||
R | BRN/WHT | 633 | Camshaft Position Sensor Signal | R | BRN/WHT | 633 | Camshaft Position Sensor Signal | ||||||||
S | -- | -- | Not Used | S | -- | -- | Not Used | ||||||||
| |||||||||||||||
|---|---|---|---|---|---|---|---|---|---|---|---|---|---|---|---|
Connector Part Information |
| Connector Part Information |
| ||||||||||||
Pin | Wire Color | Circuit No. | Function | Pin | Wire Color | Circuit No. | Function | ||||||||
A | GRY | 532 | Engine Coolant Fan 1 Return | A | GRY | 532 | Engine Coolant Fan 1 Return | ||||||||
B | LT BLU | 409 | Engine Coolant Fan 1 Feed | B | LT BLU | 409 | Engine Coolant Fan 1 Feed | ||||||||
C | BLK | 1050 | Ground | C | BLK | 1050 | Ground | ||||||||
D | WHT | 504 | Engine Coolant Fan 2 Feed | D | WHT | 504 | Engine Coolant Fan 2 Feed | ||||||||
| |||||||||||||||
|---|---|---|---|---|---|---|---|---|---|---|---|---|---|---|---|
Connector Part Information |
| Connector Part Information |
| ||||||||||||
Pin | Wire Color | Circuit No. | Function | Pin | Wire Color | Circuit No. | Function | ||||||||
A | WHT | 423 | Ignition Control | A | WHT | 423 | Ignition Control | ||||||||
B | TAN/BLK | 424 | Bypass Control | B | TAN/BLK | 424 | Bypass Control | ||||||||
C | LT BLU/BLK | 647 | Crankshaft Position Signal | C | LT BLU/BLK | 647 | Crankshaft Position Signal | ||||||||
D | PPL/WHT | 430 | Electronic Spark Timing - High Reference Signal | D | PPL/WHT | 430 | Electronic Spark Timing - High Reference Signal | ||||||||
E | -- | -- | Not Used | E | WHT | 121 | Not Used | ||||||||
F | BLK | 630 | Camshaft Position (CMP) Sensor Signal | F | BLK | 630 | Camshaft Position (CMP) Sensor Signal | ||||||||
G | RED/BLK | 453 | Electronic Spark Timing - Low Reference Signal | G | RED/BLK | 453 | Electronic Spark Timing - Low Reference Signal | ||||||||
H | PNK | 239 | Fused Ignition 1 Feed | H | PNK | 239 | Fused Ignition 1 Feed | ||||||||
| |||||||||||||||
|---|---|---|---|---|---|---|---|---|---|---|---|---|---|---|---|
Connector Part Information |
| Connector Part Information |
| ||||||||||||
Pin | Wire Color | Circuit No. | Function | Pin | Wire Color | Circuit No. | Function | ||||||||
A | LT GRN | 1222 | 1-2 Shift Solenoid (SS) Valve Control | A | LT GRN | 1222 | 1-2 Shift Solenoid (SS) Valve Control | ||||||||
B | YEL/BLK | 1223 | 2-3 Shift Solenoid (SS) Valve Control | B | YEL | 1223 | 2-3 Shift Solenoid (SS) Valve Control | ||||||||
C | RED/BLK | 1228 | Transaxle Pressure Control Solenoid - High | C | PPL | 1228 | Transaxle Pressure Control Solenoid - High | ||||||||
D | LT BLU/WHT | 1229 | Transaxle Pressure Control Solenoid - Low | D | LT BLU | 1229 | Transaxle Pressure Control Solenoid - Low | ||||||||
E | PNK | 1039 | Fused Ignition 1 Feed | E | RED | 1039 | Fused Ignition 1 Feed | ||||||||
L | YEL | 1227 | Transmission Fluid Temperature (TFT) Sensor Signal | L | BRN | 1227 | Transmission Fluid Temperature (TFT) Sensor Signal | ||||||||
M | BLK | 2762 | PCM Sensor Ground | M | BLK | 2762 | PCM Sensor Ground | ||||||||
N | PNK | 1224 | Transmission Pressure Switch Signal A | N | PNK | 1224 | Transmission Pressure Switch Signal A | ||||||||
P | RED | 1226 | Transmission Pressure Switch Signal C | P | ORN | 1226 | Transmission Pressure Switch Signal C | ||||||||
R | DK BLU | 1225 | Transmission Pressure Switch Signal B | R | DK BLU | 1225 | Transmission Pressure Switch Signal B | ||||||||
S | RED/BLK | 1230 | Transaxle Input Speed - High | S | BLK | 1230 | Transaxle Input Speed - High | ||||||||
T | BRN | 418 | TCC PWM Solenoid Valve Control | T | TAN | 418 | TCC PWM Solenoid Valve Control | ||||||||
U | YEL | 657 | TCC Oil Pressure Switch Signal | U | WHT | 657 | TCC Oil Pressure Switch Signal | ||||||||
V | DK BLU/WHT | 1231 | Transaxle Input Speed - Low | V | DK GRN | 1231 | Transaxle Input Speed - Low | ||||||||
| |||||||||||||||
|---|---|---|---|---|---|---|---|---|---|---|---|---|---|---|---|
Connector Part Information |
| Connector Part Information |
| ||||||||||||
Pin | Wire Color | Circuit No. | Function | Pin | Wire Color | Circuit No. | Function | ||||||||
A | YEL | 61 | Ambient Outside Temperature Sensor Return | A | YEL | 61 | Ambient Outside Temperature Sensor Return | ||||||||
B | LT GRN/BLK | 735 | Ambient Outside Temperature Sensor Signal | B | LT GRN/BLK | 735 | Ambient Outside Temperature Sensor Signal | ||||||||
| |||||||||||||||
|---|---|---|---|---|---|---|---|---|---|---|---|---|---|---|---|
Connector Part Information |
| Connector Part Information |
| ||||||||||||
Pin | Wire Color | Circuit No. | Function | Pin | Wire Color | Circuit No. | Function | ||||||||
A | LT BLU | 1876 | Knock Sensor - Bank 2 | A | DK BLU | 1876 | Knock Sensor - Bank 2 | ||||||||
| |||||||||||||||
|---|---|---|---|---|---|---|---|---|---|---|---|---|---|---|---|
Connector Part Information |
| Connector Part Information |
| ||||||||||||
Pin | Wire Color | Circuit No. | Function | Pin | Wire Color | Circuit No. | Function | ||||||||
A | BLK | 452 | PCM Sensor Ground | A | BLK | 452 | PCM Sensor Ground | ||||||||
B | BLK | 2761 | Sensor Return - Engine Coolant Temperature | B | BLK | 2761 | Sensor Return - Engine Coolant Temperature | ||||||||
C | -- | -- | Not Used | C | -- | -- | Not Used | ||||||||
| |||||||||||||||
|---|---|---|---|---|---|---|---|---|---|---|---|---|---|---|---|
Connector Part Information |
| Connector Part Information |
| ||||||||||||
Pin | Wire Color | Circuit No. | Function | Pin | Wire Color | Circuit No. | Function | ||||||||
A | BLK | 1350 | Ground | A | BLK | 1350 | Ground | ||||||||
B | BRN | 9 | Parking Lamp Feed | B | ORN | 9 | Parking Lamp Feed | ||||||||
C | -- | -- | Not Used | C | -- | -- | Not Used | ||||||||
D | LT BLU | 14 | Turn Signal Lamp Feed - Left Front | D | WHT/BLK | 14 | Turn Signal Lamp Feed - Left Front | ||||||||
E | BRN | 9 | Parking Lamp Feed | E | PPL | 9 | Parking Lamp Feed | ||||||||
F | ORN | 1640 | Fused Battery Feed | F | ORN | 1640 | Fused Battery Feed | ||||||||
G | PNK | 1200 | Headlamp Output - High Beam | G | YEL | 1200 | Headlamp Output - High Beam | ||||||||
H | ORN/BLK | 1640 | Fused Battery Feed | H | RED | 1640 | Fused Battery Feed | ||||||||
J | DK BLU | 1201 | Headlamp Output - Low Beam | J | LT BLU | 1201 | Headlamp Output - Low Beam | ||||||||
K | ORN | 57 | Corning Lamp Feed - Left Front (w/RP0 LG8) | K | WHT | 57 | Corning Lamp Feed - Left Front (w/RP0 LG8) | ||||||||
K | -- | -- | Not Used (w/o RP0 LG8) | K | -- | -- | Not Used (w/o RP0 LG8) | ||||||||
| |||||||||||||||
|---|---|---|---|---|---|---|---|---|---|---|---|---|---|---|---|
Connector Part Information |
| Connector Part Information |
| ||||||||||||
Pin | Wire Color | Circuit No. | Function | Pin | Wire Color | Circuit No. | Function | ||||||||
A | BLK | 1350 | Ground | A | BLK | 1350 | Ground | ||||||||
B | BRN | 9 | Parking Lamp Feed | B | ORN | 9 | Parking Lamp Feed | ||||||||
C | -- | -- | Not Used | C | -- | -- | Not Used | ||||||||
D | DK BLU | 15 | Turn Signal Lamp Feed - Right Front | D | WHT/BLU | 15 | Turn Signal Lamp Feed - Right Front | ||||||||
E | BRN | 9 | Parking Lamp Feed | E | PPL | 9 | Parking Lamp Feed | ||||||||
F | ORN | 1740 | Fused Battery Feed | F | ORN | 1740 | Fused Battery Feed | ||||||||
G | PNK | 1200 | Headlamp Output - High Beam | G | YEL | 1200 | Headlamp Output - High Beam | ||||||||
H | ORN | 1740 | Fused Battery Feed | H | ORN | 1740 | Fused Battery Feed | ||||||||
J | DK BLU | 1201 | Headlamp Output - Low Beam | J | LT BLU | 1201 | Headlamp Output - Low Beam | ||||||||
K | BLK | 58 | Corning Lamp Feed - Right (w/RP0 LG8) | K | WHT | 58 | Corning Lamp Feed - Right (w/RP0 LG8) | ||||||||
K | -- | -- | Not Used (w/o RP0 LG8) | K | -- | -- | Not Used (w/o RP0 LG8) | ||||||||
| |||||||||||||||
|---|---|---|---|---|---|---|---|---|---|---|---|---|---|---|---|
Connector Part Information |
| Connector Part Information |
| ||||||||||||
Pin | Wire Color | Circuit No. | Function | Pin | Wire Color | Circuit No. | Function | ||||||||
A | LT BLU | 830 | Left Front Wheel Speed Signal High | A | BLK | 830 | Left Front Wheel Speed Signal High | ||||||||
B | YEL | 873 | Left Front Wheel Speed Sensor Low | B | WHT | 873 | Left Front Wheel Speed Sensor Low | ||||||||
| |||||||||||||||
|---|---|---|---|---|---|---|---|---|---|---|---|---|---|---|---|
Connector Part Information |
| Connector Part Information |
| ||||||||||||
Pin | Wire Color | Circuit No. | Function | Pin | Wire Color | Circuit No. | Function | ||||||||
A | WHT | 872 | Right Front Wheel Speed Signal High | A | DK GRN | 872 | Right Front Wheel Speed Signal High | ||||||||
B | BLK | 833 | Right Front Wheel Speed Sensor Low | B | TAN | 833 | Right Front Wheel Speed Sensor Low | ||||||||
| |||||||||||||||
|---|---|---|---|---|---|---|---|---|---|---|---|---|---|---|---|
Connector Part Information |
| Connector Part Information |
| ||||||||||||
Pin | Wire Color | Circuit No. | Function | Pin | Wire Color | Circuit No. | Function | ||||||||
A1 | DK GRN | 835 | Diagnostic Signal Entertainment and Comfort | A1 | DK GRN | 835 | Diagnostic Signal Entertainment and Comfort | ||||||||
A2 | GRY | 120 | Fuel Pump Motor Feed | A2 | GRY | 120 | Fuel Pump Motor Feed | ||||||||
A3 | PPL | 293 | Rear Defogger Element Feed | A3 | PPL | 293 | Rear Defogger Element Feed | ||||||||
A4 | GRY | 8 | Interior Lamp Dim Signal | A4 | GRY | 8 | Interior Lamp Dim Signal | ||||||||
B1 | ORN | 340 | Fuse Output - Battery | B1 | ORN | 340 | Fuse Output - Battery | ||||||||
B2 | Bare | 2012 | Drain | B2 | Bare | 2012 | Drain | ||||||||
B3 | BRN | 41 | Fuse Output-Ignition 3 | B3 | BRN | 41 | Fuse Output-Ignition 3 | ||||||||
B4 | PPL | 1589 | Fuel Gauge Sensor Signal | B4 | PPL | 1589 | Fuel Gauge Sensor Signal | ||||||||
C1 | DK BLU | 546 | Audio Signal - Right Rear - Low Level | C1 | DK BLU | 546 | Audio Signal - Right Rear - Low Level | ||||||||
C2 | LT GRN | 1948 | Audio Return - Right Front - Low Level | C2 | LT GRN | 1948 | Audio Return - Right Front - Low Level | ||||||||
C3 | BLK | 1946 | Audio Return - Right Rear - Low Level | C3 | BLK | 1946 | Audio Return - Right Rear - Low Level | ||||||||
C4 | DK GRN | 1947 | Audio Return - Left Front - Low Level | C4 | DK GRN | 1947 | Audio Return - Left Front - Low Level | ||||||||
D1 | -- | 2232 | -- | D1 | -- | 2232 | -- | ||||||||
D2 | TAN | 511 | Audio Signal - Left Front - Low Level | D2 | TAN | 511 | Audio Signal - Left Front - Low Level | ||||||||
D3 | LT GRN | 512 | Audio Signal - Right Front - Low Level | D3 | LT GRN | 512 | Audio Signal - Right Front - Low Level | ||||||||
E1 | BRN | 882 | Wheel Speed Sensor Signal - Right Rear | E1 | BRN | 882 | Wheel Speed Sensor Signal - Right Rear | ||||||||
E2 | WHT | 883 | Wheel Speed Sensor Return - Right Rear | E2 | WHT | 883 | Wheel Speed Sensor Return - Right Rear | ||||||||
E3 | BLK | 884 | Wheel Speed Sensor Signal - Left Rear | E3 | BLK | 884 | Wheel Speed Sensor Signal - Left Rear | ||||||||
E4 | RED | 885 | Wheel Speed Sensor Return - Left Rear | E4 | RED | 885 | Wheel Speed Sensor Return - Left Rear | ||||||||
F1 | TAN | 694 | Power Door Lock Motor Feed - Driver Door Unlock | F1 | TAN | 694 | Power Door Lock Motor Feed - Driver Door Unlock | ||||||||
F2 | LT BLU | 1405 | Tape Player Signal - Remote - Audio Communication | F2 | LT BLU | 1405 | Tape Player Signal - Remote - Audio Communication | ||||||||
F3 | BLK | 452 | Sensor Return | F3 | BLK | 452 | Sensor Return | ||||||||
F4 | DK GRN | 890 | Fuel Tank Pressure Sensor Signal | F4 | DK GRN | 890 | Fuel Tank Pressure Sensor Signal | ||||||||
G1 | BLK/WHT | 56 | Rear Compartment Lid Release Motor Feed | G1 | BLK/WHT | 56 | Rear Compartment Lid Release Motor Feed | ||||||||
G2 | ORN | 267 | Heated Mirror Element Feed | G2 | ORN | 267 | Heated Mirror Element Feed | ||||||||
G3 | DK BLU/WHT | 727 | Door Latch Switch Signal - Secondary | G3 | DK BLU/WHT | 727 | Door Latch Switch Signal - Secondary | ||||||||
G4 | WHT | 156 | Courtesy Lamp - Output | G4 | WHT | 156 | Courtesy Lamp - Output | ||||||||
G5 | -- | -- | Not Used | G5 | -- | -- | Not Used | ||||||||
H6 | ORN/BLK | 737 | Rear Compartment Lamp Output | H6 | ORN/BLK | 737 | Rear Compartment Lamp Output | ||||||||
H7 | BLK/WHT | 351 | Ground - Clean | H7 | BLK/WHT | 351 | Ground - Clean | ||||||||
H8 | YEL | 143 | Fuse Output - Accessory | H8 | YEL | 143 | Fuse Output - Accessory | ||||||||
H9 | LT GRN | 1407 | Tape Player Signal - Remote - Right Audio | H9 | LT GRN | 1407 | Tape Player Signal - Remote - Right Audio | ||||||||
J6 | BLK/WHT | 238 | Seat Belt Switch Signal | J6 | BLK/WHT | 238 | Seat Belt Switch Signal | ||||||||
J7 | ORN | 1732 | Electronic Control Unit Output - 12 Volts | J7 | ORN | 1732 | Electronic Control Unit Output - 12 Volts | ||||||||
J8 | DK BLU | 49 | Door Jamb Switch Signal - Driver | J8 | DK BLU | 49 | Door Jamb Switch Signal - Driver | ||||||||
J9 | RED/BLK | 780 | Power Door Lock Switch Output - Driver Switch - Lock | J9 | RED/BLK | 790 | Power Door Lock Switch Output - Driver Switch - Lock | ||||||||
K6 | ORN/BLK | 781 | Power Door Lock Switch Output - Driver Switch - Unlock | K6 | ORN/BLK | 791 | Power Door Lock Switch Output - Driver Switch - Unlock | ||||||||
K7 | LT GRN | 2208 | Adaptive Receptive System Antenna Signal | K7 | LT GRN | 2208 | Adaptive Receptive System Antenna Signal | ||||||||
K8 | DK GRN | 19 | Stop/Turn Lamp Feed - Right Rear | K8 | DK GRN | 19 | Stop/Turn Lamp Feed - Right Rear | ||||||||
K9 | WHT | 17 | Stop Lamp Switch Output | K9 | WHT | 17 | Stop Lamp Switch Output | ||||||||
L6 | PNK | 339 | Fuse Output - Ignition 1 | L6 | PNK | 339 | Fuse Output - Ignition 1 | ||||||||
L7 | ORN | 1140 | Fuse Output - Battery | L7 | ORN | 1140 | Fuse Output - Battery | ||||||||
L8 | ORN/BLK | 1406 | Tape Player Signal - Remote - Left Audio | L8 | ORN/BLK | 1406 | Tape Player Signal - Remote - Left Audio | ||||||||
M6 | LT GRN | 24 | Backup Lamp Feed | M6 | LT GRN | 24 | Backup Lamp Feed | ||||||||
M7 | YEL | 18 | Stop/Turn Lamp Feed - Left Rear | M7 | YEL | 18 | Stop/Turn Lamp Feed - Left Rear | ||||||||
M8 | WHT | 1310 | Canister Vent Valve Solenoid Output | M8 | WHT | 1310 | Canister Vent Valve Solenoid Output | ||||||||
M9 | BRN | 199 | Audio Signal - Left Rear - Low Level | M9 | BRN | 199 | Audio Signal - Left Rear - Low Level | ||||||||
N6 | TAN | 294 | Power Door Lock Motor Feed - Unlock | N6 | TAN | 294 | Power Door Lock Motor Feed - Unlock | ||||||||
N7 | GRY | 295 | Power Door Lock Motor Feed - Lock | N7 | GRY | 295 | Power Door Lock Motor Feed - Lock | ||||||||
N8 | BRN | 1999 | Audio Return - Left Rear - Low Level | N8 | BRN | 1999 | Audio Return - Left Rear - Low Level | ||||||||
N9 | BRN/WHT | 301 | Park Lamp Switch Signal - Parklamps On | N9 | BRN/WHT | 301 | Park Lamp Switch Signal - Parklamps On | ||||||||
P6 | ORN | 1440 | Fuse Output - Battery (w/RPO CJ2) | P6 | ORN | 1440 | Fuse Output - Battery (w/RPO CJ2) | ||||||||
P6 | -- | -- | Not Used (w/RPO CJ3) | P6 | -- | -- | Not Used (w/RPO CJ3) | ||||||||
P7 | ORN | 2940 | Fuse Output - Battery | P7 | ORN | 2940 | Fuse Output - Battery | ||||||||
P8 | ORN | 1940 | Fuse Output - Battery (w/RPO CJ2) | P8 | ORN | 1940 | Fuse Output - Battery (w/RPO CJ2) | ||||||||
P8 | -- | -- | Not Used (w/RPO CJ3) | P8 | -- | -- | Not Used (w/RPO CJ3) | ||||||||
P9 | GRY | 474 | Reference Voltage Feed - 5 Volts | P9 | GRY | 474 | Reference Voltage Feed - 5 Volts | ||||||||
P10 | DK GRN | 145 | Power Antenna Relay Feed - Coil | P10 | DK GRN | 145 | Power Antenna Relay Feed - Coil | ||||||||
| |||||||||||||||
|---|---|---|---|---|---|---|---|---|---|---|---|---|---|---|---|
Connector Part Information |
| Connector Part Information |
| ||||||||||||
Pin | Wire Color | Circuit No. | Function | Pin | Wire Color | Circuit No. | Function | ||||||||
A1 | DK GRN | 835 | Diagnostic Signal Entertainment and Comfort (w/RPO CF5) | A1 | DK GRN | 835 | Diagnostic Signal Entertainment and Comfort (w/RPO CF5) | ||||||||
A1 | -- | -- | Not Used (w/o RPO CF5) | A1 | -- | -- | Not Used (w/o RPO CF5) | ||||||||
A2 | GRY | 120 | Fuel Pump Motor Feed | A2 | GRY | 120 | Fuel Pump Motor Feed | ||||||||
A3 | PPL | 293 | Rear Defogger Element Feed | A3 | PPL | 293 | Rear Defogger Element Feed | ||||||||
A4 | GRY | 8 | Interior Lamp Dim Signal | A4 | GRY | 8 | Interior Lamp Dim Signal | ||||||||
B1 | ORN | 340 | Fuse Output-Battery | B1 | ORN | 340 | Fuse Output-Battery | ||||||||
B2 | Bare | 2012 | Drain | B2 | Bare | 2012 | Drain (w/RPO CF5) | ||||||||
B2 | -- | -- | Not Used | B2 | -- | -- | Not Used (w/o RPO CF5) | ||||||||
B3 | BRN | 41 | Fuse Output-Ignition 3 | B3 | BRN | 41 | Fuse Output-Ignition 3 (w/RPO C90) | ||||||||
B3 | -- | -- | Not Used | B3 | -- | -- | Not Used (w/o RPO C90) | ||||||||
B4 | PPL | 1589 | Fuel Gauge Sensor Signal | B4 | PPL | 1589 | Fuel Gauge Sensor Signal | ||||||||
C1 | DK BLU | 46 | Speaker Feed-Right Rear | C1 | DK BLU | 46 | Speaker Feed-Right Rear | ||||||||
C2 | DK GRN | 117 | Speaker Return-Right Front | C2 | DK GRN | 117 | Speaker Return-Right Front | ||||||||
C3 | BLK | 115 | Speaker Return-Right Rear | C3 | BLK | 115 | Speaker Return-Right Rear | ||||||||
C4 | DK GRN | 118 | Speaker Return-Left Front | C4 | DK GRN | 118 | Speaker Return-Left Front | ||||||||
D1 | -- | -- | Not Used | D1 | -- | -- | Not Used | ||||||||
D2 | TAN | 201 | Speaker Feed-Left Front | D2 | TAN | 201 | Speaker Feed-Left Front | ||||||||
D3 | LT GRN | 200 | Speaker Feed-Right Front | D3 | LT GRN | 200 | Speaker Feed-Right Front | ||||||||
E1 | BRN | 882 | Wheel Speed Sensor Signal-Right Rear | E1 | BRN | 882 | Wheel Speed Sensor Signal-Right Rear | ||||||||
E2 | WHT | 883 | Wheel Speed Sensor Return-Right Rear | E2 | WHT | 883 | Wheel Speed Sensor Return-Right Rear | ||||||||
E3 | BLK | 884 | Wheel Speed Sensor Signal-Left Rear | E3 | BLK | 884 | Wheel Speed Sensor Signal-Left Rear | ||||||||
E4 | RED | 885 | Wheel Speed Sensor Return-Left Rear | E4 | RED | 885 | Wheel Speed Sensor Return-Left Rear | ||||||||
F1 | TAN | 694 | Power Door Lock Motor Feed-Driver Door Unlock | F1 | TAN | 694 | Power Door Lock Motor Feed-Driver Door Unlock | ||||||||
F2 | LT BLU | 1405 | Tape Player Signal-Remote-Left Audio | F2 | LT BLU | 1405 | Tape Player Signal-Remote-Left Audio | ||||||||
F2 | -- | -- | Not Used | F2 | -- | -- | Not Used (w/o RPO CF5) | ||||||||
F3 | BLK | 452 | Sensor Return | F3 | BLK | 452 | Sensor Return | ||||||||
F4 | DK GRN | 890 | Fuel Tank Pressure Sensor Signal | F4 | DK GRN | 890 | Fuel Tank Pressure Sensor Signal | ||||||||
G1 | BLK/WHT | 56 | Rear Compartment Lid Release Motor Feed | G1 | BLK/WHT | 56 | Rear Compartment Lid Release Motor Feed | ||||||||
G2 | ORN | 267 | Heated Mirror Element Feed | G2 | ORN | 267 | Heated Mirror Element Feed | ||||||||
G2 | -- | -- | Not Used | G2 | -- | -- | Not Used (w/o RPO C90) | ||||||||
G3 | DK BLU/WHT | 727 | Door Latch Switch Signal - Secondary | G3 | DK BLU/WHT | 727 | Door Latch Switch Signal - Secondary | ||||||||
G4 | WHT | 156 | Countesy Lamp-Output | G4 | WHT | 156 | Countesy Lamp-Output | ||||||||
G5 | -- | -- | Not Used | G5 | -- | -- | Not Used | ||||||||
H6 | ORN/BLK | 737 | Rear Compartment Lamp Output | H6 | ORN/BLK | 737 | Rear Compartment Lamp Output | ||||||||
H7 | BLK/WHT | 351 | Ground - Clean | H7 | BLK/WHT | 351 | Ground - Clean | ||||||||
H8 | YEL | 143 | Fuse Output-Accessory | H8 | YEL | 143 | Fuse Output-Accessory | ||||||||
H9 | LT GRN | 1407 | Tape Player Signal-Remote-Right Audio | H9 | LT GRN | 1407 | Tape Player Signal-Remote-Right Audio | ||||||||
H9 | -- | -- | Not Used | H9 | -- | -- | Not Used (w/o RPO CF5) | ||||||||
J6 | BLK/WHT | 238 | Seat Belt Switch Signal | J6 | BLK/WHT | 238 | Seat Belt Switch Signal | ||||||||
J7 | ORN | 1732 | Electronic Control Unit Output-12 Volts | J7 | ORN | 1732 | Electronic Control Unit Output-12 Volts | ||||||||
J8 | DK BLU | 49 | Door Jamb Switch Signal-Driver | J8 | DK BLU | 49 | Door Jamb Switch Signal-Driver | ||||||||
J9 | RED/BLK | 780 | Power Door Lock Switch Output - Driver Switch - Lock | J9 | RED/BLK | 780 | Power Door Lock Switch Output - Driver Switch - Lock | ||||||||
K6 | ORN/BLK | 781 | Power Door Lock Switch Output - Driver Switch - Unlock | K6 | ORN/BLK | 781 | Power Door Lock Switch Output - Driver Switch - Unlock | ||||||||
K7 | -- | -- | Not Used | K7 | -- | -- | Not Used | ||||||||
K8 | DK GRN | 19 | Stop/Turn Lamp Feed - Right Rear | K8 | DK GRN | 19 | Stop/Turn Lamp Feed - Right Rear | ||||||||
K9 | WHT | 17 | Stop Lamp Switch Output | K9 | WHT | 17 | Stop Lamp Switch Output | ||||||||
L6 | PNK | 339 | Fuse Output-Ignition 1 | L6 | PNK | 339 | Fuse Output-Ignition 1 | ||||||||
L7 | ORN | 1140 | Fuse Output-Battery | L7 | ORN | 1140 | Fuse Output-Battery | ||||||||
L8 | ORN/BLK | 1406 | Tape Player Signal - Remote - Left Audio | L8 | ORN/BLK | 1406 | Tape Player Signal - Remote - Left Audio | ||||||||
L8 | -- | -- | Not Used | L8 | -- | -- | Not Used (w/o RPO CF5) | ||||||||
M6 | LT GRN | 24 | Backup Lamp Feed | M6 | LT GRN | 24 | Backup Lamp Feed | ||||||||
M7 | YEL | 18 | Stop/Turn Lamp Feed - Left Rear | M7 | YEL | 18 | Stop/Turn Lamp Feed - Left Rear | ||||||||
M8 | WHT | 1310 | Canister Vent Valve Solenoid Output | M8 | WHT | 1310 | Canister Vent Valve Solenoid Output | ||||||||
M9 | BRN | 199 | Speaker Feed-Left Rear | M9 | BRN | 199 | Speaker Feed-Left Rear | ||||||||
N6 | TAN | 294 | Power Door Lock Motor Feed - Unlock | N6 | TAN | 294 | Power Door Lock Motor Feed - Unlock | ||||||||
N7 | GRY | 295 | Power Door Lock Motor Feed - Lock | N7 | GRY | 295 | Power Door Lock Motor Feed - Lock | ||||||||
N8 | YEL | 116 | Speaker Return-Left Rear | N8 | YEL | 116 | Speaker Return-Left Rear | ||||||||
N9 | BRN/WHT | 301 | Park Lamp Switch Signal - Parklamps On | N9 | BRN/WHT | 301 | Park Lamp Switch Signal - Parklamps On | ||||||||
P6 | ORN | 1440 | Fuse Output-Battery | P6 | ORN | 1440 | Fuse Output-Battery | ||||||||
P6 | -- | -- | Not Used (w/o RPO AW6) | P6 | -- | -- | Not Used (w/o RPO AW6) | ||||||||
P7 | ORN | 2940 | Fuse Output-Battery | P7 | ORN | 2940 | Fuse Output-Battery | ||||||||
P7 | -- | -- | Not Used (w/o RPO CF5) | P7 | -- | -- | Not Used (w/o RPO CF5) | ||||||||
P8 | ORN | 1940 | Fuse Output-Battery | P8 | ORN | 1940 | Fuse Output-Battery | ||||||||
P8 | -- | -- | Not Used (w/o RPO U85) | P8 | -- | -- | Not Used (w/o RPO U85) | ||||||||
P9 | GRY | 474 | Reference Voltage Feed-5 Volts | P9 | GRY | 474 | Reference Voltage Feed-5 Volts | ||||||||
P10 | DK GRN | 145 | Power Antenna Relay Feed-Coil | P10 | DK GRN | 145 | Power Antenna Relay Feed-Coil | ||||||||
| |||||||||||||||
|---|---|---|---|---|---|---|---|---|---|---|---|---|---|---|---|
Connector Part Information |
| Connector Part Information |
| ||||||||||||
Pin | Wire Color | Circuit No. | Function | Pin | Wire Color | Circuit No. | Function | ||||||||
A1 | PNK | 1200 | Headlamp Output - High Beam | A1 | PNK | 1200 | Headlamp Output - High Beam | ||||||||
A2 | DK BLU | 1201 | Headlamp Output - Low Beam | A2 | DK BLU | 1201 | Headlamp Output - Low Beam | ||||||||
A3 | YEL | 10 | Headlamp Switch Output | A3 | YEL | 10 | Headlamp Switch Output | ||||||||
A4 | BLK | 1450 | Ground | A4 | BLK | 1450 | Ground | ||||||||
A5 | -- | -- | Not Used | A5 | -- | -- | Not Used | ||||||||
A6 | PNK | 739 | Fused Ignition 3 Feed | A6 | BRN | 739 | Fused Ignition 3 Feed | ||||||||
A7 | GRY/BLK | 87 | Cruise Control Resume/Accelerate Switch Signal | A7 | GRY/BLK | 87 | Cruise Control Resume/Accelerate Switch Signal | ||||||||
A8 | DK BLU | 84 | Cruise Control SET/COAST Switch Signal | A8 | DK BLU | 84 | Cruise Control SET/COAST Switch Signal | ||||||||
A9 | GRY | 397 | Cruise ON/OFF Signal | A9 | GRY | 397 | Cruise ON/OFF Signal | ||||||||
A10 | BLK | 150 | Park/Neutral Input (2 Door) | A10 | BLK | 150 | Park/Neutral Input (2 Door) | ||||||||
A10 | -- | -- | Not Used (4 Door) | A10 | -- | -- | Not Used (4 Door) | ||||||||
A11 | DK GRN/WHT | 1135 | Stop Lamp Switched BTSI Feed (w/o RP0 KP2) | A11 | DK GRN/WHT | 1135 | Stop Lamp Switched BTSI Feed (w/o RP0 KP2) | ||||||||
A11 | -- | -- | Not Used (w/RP0 KP2) | A11 | -- | -- | Not Used (w/RP0 KP2) | ||||||||
A12 | DK BLU | 1415 | Turn Signal Switch Output - Right Front | A12 | DK BLU/WHT | 1415 | Turn Signal Switch Output - Right Front | ||||||||
A13 | LT BLU | 1414 | Turn Signal Switch Output - Left Front | A13 | LT BLU/WHT | 1414 | Turn Signal Switch Output - Left Front | ||||||||
A14 | ORN | 57 | Corning Lamp Feed - Left (2 Door) | A14 | ORN | 57 | Corning Lamp Feed - Left (2 Door) | ||||||||
A14 | -- | -- | Not Used (4 Door) | A14 | -- | -- | Not Used (4 Door) | ||||||||
A15 | BLK | 58 | Corning Lamp Feed - Right (2 Door) | A15 | BLK | 58 | Corning Lamp Feed - Right (2 Door) | ||||||||
A15 | -- | -- | Not Used (4 Door) | A15 | -- | -- | Not Used (4 Door) | ||||||||
A16 | -- | -- | Not Used | A16 | -- | -- | Not Used | ||||||||
A17 | BLK | 28 | Horn Relay Output - Coil | A17 | BLK | 28 | Horn Relay Output - Coil | ||||||||
| |||||||||||||||
|---|---|---|---|---|---|---|---|---|---|---|---|---|---|---|---|
Connector Part Information |
| Connector Part Information |
| ||||||||||||
Pin | Wire Color | Circuit No. | Function | Pin | Wire Color | Circuit No. | Function | ||||||||
B1-B2 | -- | -- | Not Used | B1-B2 | -- | -- | Not Used | ||||||||
B3 | LT GRN | 80 | Key-In-Ignition Input | B3 | LT GRN | 80 | Key-In-Ignition Input | ||||||||
B4 | BLK | 1550 | Ground | B4 | BLK | 1550 | Ground | ||||||||
B5-B6 | -- | -- | Not Used | B5-B6 | -- | -- | Not Used | ||||||||
C1 | WHT | 500 | Ignition Switched Battery Feed - START | C1 | DK GRN | 500 | Ignition Switched Battery Feed - START | ||||||||
C2 | BLK | 1550 | Ground | C2 | BLK | 1550 | Ground | ||||||||
C3-C4 | -- | -- | Not Used | C3-C4 | -- | -- | Not Used | ||||||||
C5 | PNK | 3 | Ignition Switched Ignition 1 | C5 | PNK | 3 | Ignition Switched Ignition 1 | ||||||||
C6 | ORN | 300 | Ignition Switch Output - Ignition 3 | C6 | ORN | 300 | Ignition Switch Output - Ignition 3 | ||||||||
D1 | YEL | 5 | Ignition Switched Power Feed | D1 | YEL | 5 | Ignition Switched Power Feed | ||||||||
D2 | RED | 142 | Fused Battery Feed | D2 | RED | 142 | Fused Battery Feed | ||||||||
D3 | WHT/BLK | 1134 | Parking Brake Input (4 Door) | D3 | LT BLU | 1134 | Parking Brake Input (4 Door) | ||||||||
D3 | -- | -- | Not Used (2 Door) | D3 | -- | -- | Not Used (2 Door) | ||||||||
D4 | BLK | 1450 | Ground (4 Door) | D4 | BLK | 1450 | Ground (4 Door) | ||||||||
D4 | -- | -- | Not Used (2 Door) | D4 | -- | -- | Not Used (2 Door) | ||||||||
D5 | RED/WHT | 42 | Fused Battery Feed | D5 | RED | 42 | Fused Battery Feed | ||||||||
D6 | BRN | 4 | Ignition Switch Output - Accessory | D6 | BRN | 4 | Ignition Switch Output - Accessory | ||||||||
| |||||||||||||||
|---|---|---|---|---|---|---|---|---|---|---|---|---|---|---|---|
Connector Part Information |
| Connector Part Information |
| ||||||||||||
Pin | Wire Color | Circuit No. | Function | Pin | Wire Color | Circuit No. | Function | ||||||||
E1 | PPL | 92 | Windshield Wiper Motor Feed - High Speed | E1 | PPL | 92 | Windshield Wiper Motor Feed - High Speed | ||||||||
E2 | GRY | 112 | Windshield Wiper Switch Signal - ON | E2 | GRY | 112 | Windshield Wiper Switch Signal - Low/Pulse | ||||||||
E3 | DK GRN | 113 | Windshield Wiper Switch Signal - ON | E3 | DK GRN | 113 | Windshield Wiper Switch Signal - ON | ||||||||
E4 | RED | 228 | Windshield Washer Pump Motor Feed | E4 | RED | 228 | Windshield Washer Pump Motor Feed | ||||||||
E5 | YEL | 243 | Fuse Accessory Power Feed | E5 | YEL | 243 | Fuse Accessory Power Feed | ||||||||
E6 | ORN | 1508 | Turn Signal Lamp/Hazard Lamp Flasher Feed | E6 | LT BLU | 1508 | Turn Signal Lamp/Hazard Lamp Flasher Feed | ||||||||
E7 | PNK | 539 | Fused Ignition 1 Feed | E7 | PNK | 539 | Fused Ignition 1 Feed | ||||||||
E8 | LT BLU | 1508 | Turn Signal Lamp/Hazard Lamp Flasher Feed | E8 | LT BLU | 1508 | Turn Signal Lamp/Hazard Lamp Flasher Feed | ||||||||
E9 | ORN | 1840 | Fused Battery Feed | E9 | ORN | 1840 | Fused Battery Feed | ||||||||
E10 | YEL | 18 | Tail/Turn/Stop Lamp Feed - Left Rear | E10 | YEL | 18 | Tail/Turn/Stop Lamp Feed - Left Rear | ||||||||
E11 | DK GRN | 19 | Tail/Turn/Stop Lamp Feed - Right Rear | E11 | DK GRN | 19 | Tail/Turn/Stop Lamp Feed - Right Rear | ||||||||
E12 | WHT | 17 | Stop Lamp Switch Output | E12 | WHT | 17 | Stop Lamp Switch Output | ||||||||
E13 | PPL | 16 | Turn Signal Flasher Output | E13 | PPL | 16 | Turn Signal Flasher Output | ||||||||
| |||||||||||||||
|---|---|---|---|---|---|---|---|---|---|---|---|---|---|---|---|
Connector Part Information |
| Connector Part Information |
| ||||||||||||
Pin | Wire Color | Circuit No. | Function | Pin | Wire Color | Circuit No. | Function | ||||||||
A | YEL | 43 | Fused Retained Accessory Power Feed | A | YEL | 43 | Fused Retained Accessory Power Feed | ||||||||
B | GRY | 1458 | Fused Interior Light Dimming Signal | B | GRY/BLK | 1458 | Fused Interior Light Dimming Signal | ||||||||
C | LT GRN | 1796 | Radio Control Signal - Steering Column | C | DK BLU | 1796 | Radio Control Signal - Steering Column | ||||||||
D | BLK | 1450 | Ground | D | BLK | 1450 | Ground | ||||||||
| |||||||||||||||
|---|---|---|---|---|---|---|---|---|---|---|---|---|---|---|---|
Connector Part Information |
| Connector Part Information |
| ||||||||||||
Pin | Wire Color | Circuit No. | Function | Pin | Wire Color | Circuit No. | Function | ||||||||
A | ORN | 2540 | Fused Battery Feed | A | ORN | 2540 | Fused Battery Feed | ||||||||
B | YEL | 643 | Fused Accessory Power Feed | B | YEL | 643 | Fused Accessory Power Feed | ||||||||
C | BLK | 1450 | Ground | C | BLK | 1450 | Ground | ||||||||
| |||||||||||||||
|---|---|---|---|---|---|---|---|---|---|---|---|---|---|---|---|
Connector Part Information |
| Connector Part Information |
| ||||||||||||
Pin | Wire Color | Circuit No. | Function | Pin | Wire Color | Circuit No. | Function | ||||||||
A | WHT | 1073 | Ignition Key Resistor Feed | A | WHT/BLK | 1073 | Ignition Key Resistor Feed | ||||||||
B | WHT | 1074 | Ignition Key Resistor Output | B | PPL/WHT | 1074 | Ignition Key Resistor Output | ||||||||
| |||||||||||||||
|---|---|---|---|---|---|---|---|---|---|---|---|---|---|---|---|
Connector Part Information |
| Connector Part Information |
| ||||||||||||
Pin | Wire Color | Circuit No. | Function | Pin | Wire Color | Circuit No. | Function | ||||||||
A | WHT | 347 | SIR Inflator Feed - Driver | A | WHT | 347 | SIR Inflator Feed - Driver | ||||||||
B | DK GRN | 348 | SIR Inflator Output - Driver | B | DK GRN | 348 | SIR Inflator Output - Driver | ||||||||
| |||||||||||||||
|---|---|---|---|---|---|---|---|---|---|---|---|---|---|---|---|
Connector Part Information |
| Connector Part Information |
| ||||||||||||
Pin | Wire Color | Circuit No. | Function | Pin | Wire Color | Circuit No. | Function | ||||||||
A | WHT/BLK | 1403 | SIR Inflator Feed - Passenger | A | WHT/BLK | 1403 | SIR Inflator Feed - Passenger | ||||||||
B | DK GRN/WHT | 1404 | SIR Inflator Output - Passenger | B | DK GRN/WHT | 1404 | SIR Inflator Output - Passenger | ||||||||
| |||||||||||||||
|---|---|---|---|---|---|---|---|---|---|---|---|---|---|---|---|
Connector Part Information |
| Connector Part Information |
| ||||||||||||
Pin | Wire Color | Circuit No. | Function | Pin | Wire Color | Circuit No. | Function | ||||||||
A | GRY | 8 | Interior Lamp Dim Signal | A | GRY | 8 | Interior Lamp Dim Signal | ||||||||
B | -- | -- | Not Used | B | -- | -- | Not Used | ||||||||
C | ORN | 2540 | Fused Battery Feed | C | ORN | 2540 | Fused Battery Feed | ||||||||
D | -- | -- | Not Used | D | -- | -- | Not Used | ||||||||
E | ORN | 1732 | Master Feed - 12 Volts | E | ORN | 1732 | Master Feed - 12 Volts | ||||||||
F | BRN/WHT | 1571 | Traction Control System (TCS) Switched Input | F | BRN/WHT | 1571 | Traction Control System (TCS) Switched Input | ||||||||
G | -- | -- | Not Used | G | -- | -- | Not Used | ||||||||
H | BLK | 1550 | Ground | H | BLK | 1550 | Ground | ||||||||
J | BLK | 1450 | Ground | J | BLK | 1450 | Ground | ||||||||
K | -- | -- | Not Used | K | -- | -- | Not Used | ||||||||
| |||||||||||||||
|---|---|---|---|---|---|---|---|---|---|---|---|---|---|---|---|
Connector Part Information |
| Connector Part Information |
| ||||||||||||
Pin | Wire Color | Circuit No. | Function | Pin | Wire Color | Circuit No. | Function | ||||||||
A | ORN | 2540 | Fused Battery Feed | A | ORN | 440 | Fused Battery Feed | ||||||||
B | BLK | 1450 | Ground | B | BLK | 1450 | Ground | ||||||||
C | GRY | 8 | Interior Lamp Dim Signal | C | GRY | 8 | Interior Lamp Dim Signal | ||||||||
| |||||||||||||||
|---|---|---|---|---|---|---|---|---|---|---|---|---|---|---|---|
Connector Part Information |
| Connector Part Information |
| ||||||||||||
Pin | Wire Color | Circuit No. | Function | Pin | Wire Color | Circuit No. | Function | ||||||||
A1 | -- | -- | Not Used | A1 | -- | -- | Not Used | ||||||||
A2 | BLK | 750 | Ground | A2 | BLK | 750 | Ground | ||||||||
A3 | YEL | 143 | Fused Feed - Accessory | A3 | YEL | 143 | Fused Feed - Accessory | ||||||||
A4 | DK BLU | 1307 | Power Window Master Switch Feed - Lockout | A4 | DK BLU | 1307 | Power Window Master Switch Feed - Lockout | ||||||||
A5 | PPL | 169 | Power Window Master Switch Feed - Left Rear - Window - DOWN | A5 | PPL | 159 | Power Window Master Switch Feed - Left Rear - Window - DOWN | ||||||||
A6 | DK GRN | 168 | Power Window Master Switch Feed - Left Rear - Window - UP | A6 | DK GRN | 168 | Power Window Master Switch Feed - Left Rear - Window - UP | ||||||||
A7-A8 | -- | -- | Not Used | A7-A8 | -- | -- | Not Used | ||||||||
B1 | BLK | 1856 | Speaker Feed - Left Front - Tweeter (w/RPO U85) | B1 | BLK | 1856 | Speaker Feed - Left Front - Tweeter (w/RPO U85) | ||||||||
B1 | -- | -- | Not Used (w/o RPO U85) | B1 | -- | -- | Not Used (w/o RPO U85) | ||||||||
B2 | GRY | 118 | Speaker Return - Left Front | B2 | GRY | 118 | Speaker Return - Left Front | ||||||||
B3 | RED/BLK | 780 | Power Window Master Switch Feed - Driver Switch - LOCK | B3 | RED/BLK | 780 | Power Window Master Switch Feed - Driver Switch - LOCK | ||||||||
B4 | DK BLU | 727 | Door Latch Switch Signal - Secondary | B4 | DK BLU/WHT | 727 | Door Latch Switch Signal - Secondary | ||||||||
B5 | -- | -- | Not Used | B5 | -- | -- | Not Used | ||||||||
B6 | ORN | 267 | Heated Mirror Element Feed w/RPO C90) | B6 | ORN | 267 | Heated Mirror Element Feed w/RPO C90) | ||||||||
B6 | -- | -- | Not Used (w/o RPO C90) | B6 | -- | -- | Not Used (w/o RPO C90) | ||||||||
B7 | WHT | 156 | Courtesy Lamp (w/RPO C90) | B7 | WHT | 156 | Courtesy Lamp (w/RPO C90) | ||||||||
B7 | -- | -- | Not Used (w/o RPO C90) | B7 | -- | -- | Not Used (w/o RPO C90) | ||||||||
B8 | ORN | 1140 | Fused Output Battery | B8 | ORN | 1140 | Fused Output Battery | ||||||||
B9 | RED/WHT | 881 | Power Mirror Motor Feed - Right Horizontal Motor - Right Direction | B9 | RED/WHT | 881 | Power Mirror Motor Feed - Right Horizontal Motor - Right Direction | ||||||||
B10 | GRY | 8 | Interior Lamp Dim Signal | B10 | GRY | 8 | Interior Lamp Dim Signal | ||||||||
B11 | TAN | 694 | Power Door Lock Motor Feed - Driver Door - UNLOCK | B11 | TAN | 694 | Power Door Lock Motor Feed - Driver Door - UNLOCK | ||||||||
B12 | GRY | 1690 | Automatic Day/Night Mirror Return - Outside (w/RPO C90) | B12 | GRY | 1690 | Automatic Day/Night Mirror Return - Outside (w/RPO C90) | ||||||||
B12 | -- | -- | Not Used (w/o RPO C90) | B12 | -- | -- | Not Used (w/o RPO C90) | ||||||||
C1 | YEL | 1956 | Speaker Return - Left Front - Tweeter (w/RPO U85) | C1 | YEL | 1956 | Speaker Return - Left Front - Tweeter (w/RPO U85) | ||||||||
C1 | -- | -- | Not Used (w/o RPO U85) | C1 | -- | -- | Not Used (w/o RPO U85) | ||||||||
C2 | TAN | 201 | Speaker Feed - Left Front | C2 | TAN | 201 | Speaker Feed - Left Front | ||||||||
C3 | ORN/BLK | 781 | Power Door Lock Switch Output - Driver Switch - UNLOCK | C3 | ORN/BLK | 781 | Power Door Lock Switch Output - Driver Switch - UNLOCK | ||||||||
C4 | DK BLU/WHT | 49 | Door Jamb Switch Signal - Driver | C4 | DK BLU/WHT | 49 | Door Jamb Switch Signal - Driver | ||||||||
C5-C6 | -- | -- | Not Used | C5-C6 | -- | -- | Not Used | ||||||||
C7 | ORN | 1732 | Electronic Control Unit Output - 12 Volts (w/RPO C90) | C7 | ORN | 1732 | Electronic Control Unit Output - 12 Volts (w/RPO C90) | ||||||||
C7 | -- | -- | Not Used (w/o RPO C90) | C7 | -- | -- | Not Used (w/o RPO C90) | ||||||||
C8 | BLK | 750 | Ground | C8 | BLK | 750 | Ground | ||||||||
C9 | GRY/BLK | 90 | Power Mirror Motor Feed - Right Horizontal Motor - Left Direction | C9 | GRY | 90 | Power Mirror Motor Feed - Right Horizontal Motor - Left Direction | ||||||||
C10 | PPL/WHT | 889 | Power Mirror Motor Feed - Right Vertical Motor - Down Direction | C10 | PPL/WHT | 889 | Power Mirror Motor Feed - Right Vertical Motor - Down Direction | ||||||||
C11 | GRY | 295 | Power Door Lock Motor Feed - LOCK | C11 | GRY | 295 | Power Door Lock Motor Feed - LOCK | ||||||||
C12 | PNK | 1691 | Automatic Day/Night Mirror Return - Outside (w/RPO C90) | C12 | PNK | 1691 | Automatic Day/Night Mirror Return - Outside (w/RPO C90) | ||||||||
C12 | -- | -- | Not Used (w/o RPO C90) | C12 | -- | -- | Not Used (w/o RPO C90) | ||||||||
D1-D2 | -- | -- | Not Used | D1-D2 | -- | -- | Not Used | ||||||||
D3 | LT GRN | 170 | Power Window Master Switch Output - Right Rear Window - DOWN | D3 | LT GRN | 170 | Power Window Master Switch Output - Right Rear Window - DOWN | ||||||||
D4 | PPL | 171 | Power Window Master Switch Output - Right Rear Window - UP | D4 | PPL | 171 | Power Window Master Switch Output - Right Rear Window - UP | ||||||||
D5 | LT BLU | 166 | Power Window Master Switch Output - Right Front Window - UP | D5 | LT BLU | 156 | Power Window Master Switch Output - Right Front Window - UP | ||||||||
D6 | TAN | 167 | Power Window Master Switch Output - Right Front Window - DOWN | D6 | TAN | 167 | Power Window Master Switch Output - Right Front Window - DOWN | ||||||||
D7-D8 | -- | -- | Not Used | D7-D8 | -- | -- | Not Used | ||||||||
| |||||||||||||||
|---|---|---|---|---|---|---|---|---|---|---|---|---|---|---|---|
Connector Part Information |
| Connector Part Information |
| ||||||||||||
Pin | Wire Color | Circuit No. | Function | Pin | Wire Color | Circuit No. | Function | ||||||||
A1-A3 | -- | -- | Not Used | A1-A3 | -- | -- | Not Used | ||||||||
A4 | DK BLU | 1307 | Power Window Master Switch Output - LOCKOUT | A4 | DK BLU | 1307 | Power Window Master Switch Output - LOCKOUT | ||||||||
A5-A8 | -- | -- | Not Used | A5-A8 | -- | -- | Not Used | ||||||||
B1 | BLK/WHT | 1852 | Speaker Feed - Right Front - Tweeter (w/RPO U85) | B1 | BLK/WHT | 1852 | Speaker Feed - Right Front - Tweeter (w/RPO U85) | ||||||||
B1 | -- | -- | Not Used (w/o RPO U85) | B1 | -- | -- | Not Used (w/o RPO U85) | ||||||||
B2 | DK GRN | 117 | Speaker Return - Right Front | B2 | DK GRN | 117 | Speaker Return - Right Front | ||||||||
B3 | RED/BLK | 780 | Power Door Lock Switch Output - Driver Switch - LOCK | B3 | RED/BLK | 780 | Power Door Lock Switch Output - Driver Switch - LOCK | ||||||||
B4 | DK BLU/WHT | 727 | Door Latch Switch Signal - Secondary | B4 | DK BLU/WHT | 727 | Door Latch Switch Signal - Secondary | ||||||||
B5 | -- | -- | Not Used | B5 | -- | -- | Not Used | ||||||||
B6 | ORN | 267 | Heated Mirror Element Feed | B6 | ORN | 267 | Heated Mirror Element Feed | ||||||||
B7 | WHT | 156 | Countesy Lamp Output (w/RPO C90) | B7 | WHT | 156 | Countesy Lamp Output (w/RPO C90) | ||||||||
B7 | -- | -- | Not Used (w/o RPO C90) | B7 | -- | -- | Not Used (w/o RPO C90) | ||||||||
B8 | -- | -- | Not Used | B8 | -- | -- | Not Used | ||||||||
B9 | RED/WHT | 881 | Power Mirror Motor Feed - Right Horizontal Motor - Right Direction | B9 | RED/WHT | 881 | Power Mirror Motor Feed - Right Horizontal Motor - Right Direction | ||||||||
B10 | GRY | 8 | Interior Lamp Dim Signal | B10 | GRY | 8 | Interior Lamp Dim Signal | ||||||||
B11 | TAN | 294 | Power Door Lock Motor Feed - UNLOCK | B11 | TAN | 294 | Power Door Lock Motor Feed - UNLOCK | ||||||||
B12 | GRY | 1690 | Automatic Day/Night Mirror Signal - Outside (w/RPO C90) | B12 | GRY | 1690 | Automatic Day/Night Mirror Signal - Outside (w/RPO C90) | ||||||||
B12 | -- | -- | Not Used (w/o RPO C90) | B12 | -- | -- | Not Used (w/o RPO C90) | ||||||||
C1 | PPL | 1952 | Speaker Return - Right Front - Tweeter (w/RPO U85) | C1 | PPL | 1952 | Speaker Return - Right Front - Tweeter (w/RPO U85) | ||||||||
C1 | -- | -- | Not Used (w/o RPO U85) | C1 | -- | -- | Not Used (w/o RPO U85) | ||||||||
C2 | LT GRN | 200 | Speaker Feed - Right Front | C2 | LT GRN | 200 | Speaker Feed - Right Front | ||||||||
C3 | ORN/BLK | 781 | Power Door Lock Switch Output - Driver Switch - LOCK | C3 | ORN/BLK | 781 | Power Door Lock Switch Output - Driver Switch - LOCK | ||||||||
C4-C6 | -- | -- | Not Used | C4-C6 | -- | -- | Not Used | ||||||||
C7 | ORN | 1732 | Electronic Control Unit Output - 12 Volts (w/RPO C90) | C7 | ORN | 1732 | Electronic Control Unit Output - 12 Volts (w/RPO C90) | ||||||||
C7 | -- | -- | Not Used (w/o RPO C90) | C7 | -- | -- | Not Used (w/o RPO C90) | ||||||||
C8 | BLK | 750 | Ground | C8 | BLK | 750 | Ground | ||||||||
C9 | GRY | 90 | Power Mirror Motor Feed - Right Horizontal - Left Direction | C9 | GRY | 90 | Power Mirror Motor Feed - Right Horizontal - Left Direction | ||||||||
C10 | PPL/WHT | 889 | Power Mirror Motor Feed - Right Vertical Motor - Down Direction | C10 | PPL/WHT | 889 | Power Mirror Motor Feed - Right Vertical Motor - Down Direction | ||||||||
C11 | GRY | 295 | Power Door Lock Motor Feed - LOCK | C11 | GRY | 295 | Power Door Lock Motor Feed - LOCK | ||||||||
C12 | PNK | 1690 | Automatic Day/Night Mirror Signal - Outside (w/RPO C90) | C12 | PNK | 1690 | Automatic Day/Night Mirror Signal - Outside (w/RPO C90) | ||||||||
C12 | -- | -- | Not Used (w/o RPO C90) | C12 | -- | -- | Not Used (w/o RPO C90) | ||||||||
D1-D4 | -- | -- | Not Used | D1-D4 | -- | -- | Not Used | ||||||||
D5 | LT BLU | 166 | Power Window Master Switch Output - Right Front Window - UP | D5 | LT BLU | 166 | Power Window Master Switch Output - Right Front Window - UP | ||||||||
D6 | TAN | 167 | Power Window Master Switch Output - Right Front Window - DOWN | D6 | TAN | 167 | Power Window Master Switch Output - Right Front Window - DOWN | ||||||||
D7-D8 | -- | -- | Not Used | D7-D8 | -- | -- | Not Used | ||||||||
| |||||||||||||||
|---|---|---|---|---|---|---|---|---|---|---|---|---|---|---|---|
Connector Part Information |
| Connector Part Information |
| ||||||||||||
Pin | Wire Color | Circuit No. | Function | Pin | Wire Color | Circuit No. | Function | ||||||||
A | ORN | 340 | Fused Battery Feed | A | ORN | 340 | Fused Battery Feed | ||||||||
B | BLK | 750 | Ground | B | BLK | 750 | Ground | ||||||||
C | ORN | 1440 | Fused Battery Feed | C | ORN | 1440 | Fused Battery Feed | ||||||||
D | BLK/WHT | 238 | Seat Belt Switch Input | D | BLK/WHT | 238 | Seat Belt Switch Input | ||||||||
E | LT BLU | 1462 | Heated Seat ON Feed (w/RPO KAI) | E | LT BLU | 1462 | Heated Seat ON Feed (w/RPO KAI) | ||||||||
F | PNK | 1501 | Heated Seat Low/High Input (w/RPO KAI) | F | PNK | 1501 | Heated Seat Low/High Input (w/RPO KAI) | ||||||||
E-F | -- | -- | Not Used (w/o RPO KAI) | E-F | -- | -- | Not Used (w/o RPO KAI) | ||||||||
| |||||||||||||||
|---|---|---|---|---|---|---|---|---|---|---|---|---|---|---|---|
Connector Part Information |
| Connector Part Information |
| ||||||||||||
Pin | Wire Color | Circuit No. | Function | Pin | Wire Color | Circuit No. | Function | ||||||||
A | ORN | 340 | Fused Battery Feed | A | ORN | 340 | Fused Battery Feed | ||||||||
B | BLK | 750 | Ground | B | BLK | 750 | Ground | ||||||||
C | ORN | 1940 | Fused Battery Feed (w/RPO KAI) | C | ORN | 1940 | Fused Battery Feed (w/RPO KAI) | ||||||||
D | -- | -- | Not Used (w/RPO KAI) | D | -- | -- | Not Used (w/RPO KAI) | ||||||||
E | LT BLU/BLK | 1505 | Heated Seat Switch Signal - Passenger (w/RPO KAI) | E | LT BLU/BLK | 1505 | Heated Seat Switch Signal - Passenger (w/RPO KAI) | ||||||||
F | PNK | 1503 | Heated Seat Low/High Input (w/RPO KAI) | F | PNK | 1503 | Heated Seat Low/High Input (w/RPO KAI) | ||||||||
C-F | -- | -- | Not Used (w/o RPO KAI) | C-F | -- | -- | Not Used (w/o RPO KAI) | ||||||||
| |||||||||||||||
|---|---|---|---|---|---|---|---|---|---|---|---|---|---|---|---|
Connector Part Information |
| Connector Part Information |
| ||||||||||||
Pin | Wire Color | Circuit No. | Function | Pin | Wire Color | Circuit No. | Function | ||||||||
A | PPL | 169 | Left Front Window Switch Feed - Left Rear Window Switch | A | PPL | 159 | Left Front Window Switch Feed - Left Rear Window Switch | ||||||||
B | GRY | 295 | Power Door Lock Motor Feed - LOCK | B | GRY | 295 | Power Door Lock Motor Feed - LOCK | ||||||||
C | -- | -- | Not Used | C | -- | -- | Not Used | ||||||||
D | DK BLU | 1307 | Master Window Switch Lockout Feed | D | DK BLU | 1307 | Master Window Switch Lockout Feed | ||||||||
E | TAN | 294 | Passenger Door Lock Motor Feed - UNLOCK | E | TAN | 294 | Passenger Door Lock Motor Feed - UNLOCK | ||||||||
F | DK GRN | 168 | Left Front Window Switch Feed - Left Rear Window UP | F | DK GRN | 168 | Left Front Window Switch Feed - Left Rear Window UP | ||||||||
| |||||||||||||||
|---|---|---|---|---|---|---|---|---|---|---|---|---|---|---|---|
Connector Part Information |
| Connector Part Information |
| ||||||||||||
Pin | Wire Color | Circuit No. | Function | Pin | Wire Color | Circuit No. | Function | ||||||||
G | -- | -- | Not used | G | -- | -- | Not Used | ||||||||
H | BLK | 750 | Ground | H | BLK | 750 | Ground | ||||||||
J | DK BLU/WHT | 727 | Door Latch Signal - Secondary | J | DK BLU/WHT | 727 | Door Latch Signal - Secondary | ||||||||
K | -- | -- | Not Used | K | -- | -- | Not Used | ||||||||
| |||||||||||||||
|---|---|---|---|---|---|---|---|---|---|---|---|---|---|---|---|
Connector Part Information |
| Connector Part Information |
| ||||||||||||
Pin | Wire Color | Circuit No. | Function | Pin | Wire Color | Circuit No. | Function | ||||||||
A | PPL | 171 | Left Front Window Switch Feed - Right Rear Window Down | A | PPL | 171 | Left Front Window Switch Feed - Right Rear Window Down | ||||||||
B | GRY | 295 | Power Door Lock Motor Feed - LOCK | B | GRY | 295 | Power Door Lock Motor Feed - LOCK | ||||||||
C | -- | -- | Not Used | C | -- | -- | Not Used | ||||||||
D | DK BLU | 1307 | Master Window Switch Lockout Feed | D | DK BLU | 1307 | Master Window Switch Lockout Feed | ||||||||
E | TAN | 294 | Passenger Door Lock Motor Feed - UNLOCK | E | TAN | 294 | Passenger Door Lock Motor Feed - UNLOCK | ||||||||
F | LT GRN | 170 | Left Front Window Switch Feed - Right Rear Window UP | F | LT GRN | 170 | Left Front Window Switch Feed - Right Rear Window UP | ||||||||
| |||||||||||||||
|---|---|---|---|---|---|---|---|---|---|---|---|---|---|---|---|
Connector Part Information |
| Connector Part Information |
| ||||||||||||
Pin | Wire Color | Circuit No. | Function | Pin | Wire Color | Circuit No. | Function | ||||||||
G | -- | -- | Not Used | G | -- | -- | Not Used | ||||||||
H | BLK | 750 | Ground | H | BLK | 750 | Ground | ||||||||
J | DK BLU/WHT | 727 | Door Latch Signal - Secondary | J | DK BLU/WHT | 727 | Door Latch Signal - Secondary | ||||||||
K | -- | -- | Not Used | K | -- | -- | Not Used | ||||||||
| |||||||||||||||
|---|---|---|---|---|---|---|---|---|---|---|---|---|---|---|---|
Connector Part Information |
| Connector Part Information |
| ||||||||||||
Pin | Wire Color | Circuit No. | Function | Pin | Wire Color | Circuit No. | Function | ||||||||
A | ORN | 1732 | Countesy Lamps Battery Feed | A | ORN | 1732 | Countesy Lamps Battery Feed | ||||||||
B | WHT | 156 | Courtesy Lamp Output | B | WHT | 156 | Courtesy Lamp Output | ||||||||
C | BLK | 850 | Ground | C | BLK | 850 | Ground | ||||||||
D | GRN | 1690 | Automatic Day/Night Mirror Signal - Outside (w/RPO C90) | D | GRN | 1690 | Automatic Day/Night Mirror Signal - Outside (w/RPO C90) | ||||||||
E | BRN | 41 | Fused Ignition 3 Feed (w/RPO C90) | E | BRN | 41 | Fused Ignition 3 Feed (w/RPO C90) | ||||||||
F | LT GRN | 24 | Backup Lamp Feed (w/RPO C90) | F | LT GRN | 24 | Backup Lamp Feed (w/RPO C90) | ||||||||
G | PNK | 1691 | Automatic Day/Night Mirror Return - Outside (w/RPO C90) | G | PNK | 1691 | Automatic Day/Night Mirror Return - Outside (w/RPO C90) | ||||||||
H | -- | -- | Not Used (w/RPO C90) | H | -- | -- | Not Used (w/RPO C90) | ||||||||
D-H | -- | -- | Not Used (w/o RPO C90) | D-H | -- | -- | Not Used (w/o RPO C90) | ||||||||
| |||||||||||||||
|---|---|---|---|---|---|---|---|---|---|---|---|---|---|---|---|
Connector Part Information |
| Connector Part Information |
| ||||||||||||
Pin | Wire Color | Circuit No. | Function | Pin | Wire Color | Circuit No. | Function | ||||||||
A | DK GRN | 145 | Radio Switched Power | A | DK GRN | 145 | Radio Switched Power | ||||||||
B | BLK/WHT | 351 | Ground - Clean (w/RPO U77) | B | BLK/WHT | 351 | Ground - Clean (w/RPO U77) | ||||||||
B | LT GRN | 2208 | Adaptive Reception System Antenna Signal (w/RPO UV7) | B | LT GRN | 2208 | Adaptive Reception System Antenna Signal (w/RPO UV7) | ||||||||
| |||||||||||||||
|---|---|---|---|---|---|---|---|---|---|---|---|---|---|---|---|
Connector Part Information |
| Connector Part Information |
| ||||||||||||
Pin | Wire Color | Circuit No. | Function | Pin | Wire Color | Circuit No. | Function | ||||||||
A | YEL | 143 | Radio Switched Power | A | YEL | 143 | Radio Switched Power | ||||||||
B | -- | -- | Not Used | B | -- | -- | Not Used | ||||||||
C | BLK | 850 | Ground | C | BLK | 850 | Ground | ||||||||
| |||||||||||||||
|---|---|---|---|---|---|---|---|---|---|---|---|---|---|---|---|
Connector Part Information |
| Connector Part Information |
| ||||||||||||
Pin | Wire Color | Circuit No. | Function | Pin | Wire Color | Circuit No. | Function | ||||||||
A | BRN/WHT | 301 | Fused Rear Parking Lamp Feed | A | BRN/WHT | 301 | Fused Rear Parking Lamp Feed | ||||||||
B | YEL | 18 | Stop/Turn Lamp Feed - Left Rear | B | YEL | 18 | Stop/Turn Lamp Feed - Left Rear | ||||||||
C | -- | -- | Not Used | C | -- | -- | Not Used | ||||||||
D | BLK | 250 | Ground | D | BLK | 250 | Ground | ||||||||
E-F | -- | -- | Not Used | E-F | -- | -- | Not Used | ||||||||
| |||||||||||||||
|---|---|---|---|---|---|---|---|---|---|---|---|---|---|---|---|
Connector Part Information |
| Connector Part Information |
| ||||||||||||
Pin | Wire Color | Circuit No. | Function | Pin | Wire Color | Circuit No. | Function | ||||||||
A | BRN/WHT | 301 | Fused Rear Parking Lamp Feed | A | BRN/WHT | 301 | Fused Rear Parking Lamp Feed | ||||||||
B | DK GRN | 19 | Tail/Turn/Stop Lamp Feed - Right Rear | B | DK GRN | 19 | Tail/Turn/Stop Lamp Feed - Right Rear | ||||||||
C | -- | -- | Not Used | C | -- | -- | Not Used | ||||||||
D | BLK | 350 | Ground | D | BLK | 350 | Ground | ||||||||
E-F | -- | -- | Not Used | E-F | -- | -- | Not Used | ||||||||
| |||||||||||||||
|---|---|---|---|---|---|---|---|---|---|---|---|---|---|---|---|
Connector Part Information |
| Connector Part Information |
| ||||||||||||
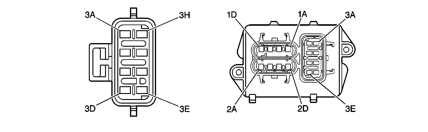
Pin | Wire Color | Circuit No. | Function | Pin | Wire Color | Circuit No. | Function | ||||||||
3A | BLK | 650 | Ground | 3A | BLK | 650 | Ground | ||||||||
3B | BLK | 452 | Sensor Return | 3B | BLK | 452 | Sensor Return | ||||||||
3C | GRY | 120 | Fuel Pump Motor Feed | 3C | GRY | 120 | Fuel Pump Motor Feed | ||||||||
3D | PPL | 1589 | Fuel Gauge Sensor Signal | 3D | PPL | 1589 | Fuel Gauge Sensor Signal | ||||||||
3E | -- | -- | Not Used | 3E | -- | -- | Not Used | ||||||||
3F | GRY | 474 | Reference Voltage Feed - 5 Volt | 3F | GRY | 474 | Reference Voltage Feed - 5 Volt | ||||||||
3G | DK GRN | 890 | Fuel Tank Pressure Sensor Signal | 3G | DK GRN | 890 | Fuel Tank Pressure Sensor Signal | ||||||||
3H | BLK | 452 | Sensor Return | 3H | BLK | 452 | Sensor Return | ||||||||
| |||||||||||||||
|---|---|---|---|---|---|---|---|---|---|---|---|---|---|---|---|
Connector Part Information |
| Connector Part Information |
| ||||||||||||
Pin | Wire Color | Circuit No. | Function | Pin | Wire Color | Circuit No. | Function | ||||||||
A | BLK | 350 | Ground | A | BLK | 350 | Ground | ||||||||
B | ORN/BLK | 737 | Rear Compartment Lamp Output | B | ORN/BLK | 737 | Rear Compartment Lamp Output | ||||||||
C | BLK/WHT | 56 | Rear Compartment Lid Release Motor Feed | C | BLK/WHT | 56 | Rear Compartment Lid Release Motor Feed | ||||||||
D | LT GRN | 24 | Backup Lamp Feed | D | LT GRN | 24 | Backup Lamp Feed | ||||||||
E | BRN/WHT | 301 | Fused Rear Parking Lamp Feed | E | BRN/WHT | 301 | Fused Rear Parking Lamp Feed | ||||||||
F-H | -- | -- | Not Used | F-H | -- | -- | Not Used | ||||||||
| |||||||||||||||
|---|---|---|---|---|---|---|---|---|---|---|---|---|---|---|---|
Connector Part Information |
| Connector Part Information |
| ||||||||||||
Pin | Wire Color | Circuit No. | Function | Pin | Wire Color | Circuit No. | Function | ||||||||
A | WHT | 17 | Stoplamp Switch Output | A | WHT | 17 | Stoplamp Switch Output | ||||||||
B | BLK | 350 | Ground | B | BLK | 350 | Ground | ||||||||
| |||||||||||||||
|---|---|---|---|---|---|---|---|---|---|---|---|---|---|---|---|
Connector Part Information |
| Connector Part Information |
| ||||||||||||
Pin | Wire Color | Circuit No. | Function | Pin | Wire Color | Circuit No. | Function | ||||||||
A | BRN/WHT | 301 | Fused Rear Parking Lamp Feed | A | BRN/WHT | 301 | Fused Rear Parking Lamp Feed | ||||||||
B | LT GRN | 24 | Backup Lamp Feed | B | LT GRN | 24 | Backup Lamp Feed | ||||||||
C | BLK | 350 | Ground | C | BLK | 350 | Ground | ||||||||
D | -- | -- | Not Used | D | -- | -- | Not Used | ||||||||