GM Service Manual Online
For 1990-2009 cars only

Removal Procedure

Caution: When replacing the power booster brake, make sure that the cruise control cable is not routed between the booster and the cowl. If the cable is damaged or pinched, it must be replaced. Failure to do this could result in personal injury.

Notice: Inspect the locking flanges on booster and mounting plate. Replace the booster and mounting plate if the locking flanges are bent or damaged.

Tools Required

J 22805-01 Power Brake Booster Holder

  1. Disconnect negative battery cable. Refer to Battery Negative Cable Disconnection and Connection in Engine Electrical.
  2. Rotate engine forward. Refer to Rotating the Engine for Service Access in Engine Mechanical.
  3. Important: It is not necessary to undo brake lines from the master cylinder or the brake modulator.

  4. Remove the master cylinder mounting nuts.
  5. Unbolt brake modulator from shock tower and disconnect electrical connection.
  6. Remove the vacuum hose from the brake booster.
  7. Notice: When disconnecting the pushrod from the brake pedal, the brake pedal must be held stationary or damage to the brake switch may result.

    Notice: Do not attempt to remove the booster until pushrod is disconnected from the brake pedal.

  8. Remove the brake booster pushrod from the brake pedal. Refer to Brake Pedal Replacement .
  9. Notice: Use the correct fastener in the correct location. Replacement fasteners must be the correct part number for that application. Fasteners requiring replacement or fasteners requiring the use of thread locking compound or sealant are identified in the service procedure. Do not use paints, lubricants, or corrosion inhibitors on fasteners or fastener joint surfaces unless specified. These coatings affect fastener torque and joint clamping force and may damage the fastener. Use the correct tightening sequence and specifications when installing fasteners in order to avoid damage to parts and systems.

  10. Attach the J 22805-01 to the booster using the nuts.
  11. Tighten
    Tighten the nuts to 27 N·m (20 lb ft).


    Object Number: 176819  Size: SH
  12. Unlock the booster (2) from the front of the dash.
  13. Use a flat bladed tool (3) in order to pry the locking tab (5) on the booster out of the locking notch (4) on the mounting flange. Perform the above action while turning the booster counterclockwise with the wrench (1) on J 22805-01 .
  14. Important: When removing the booster, carefully pull the pushrod through the eyehole so that you do not damage the insulator boot mounted on the front of the dash.

  15. Remove the booster (2).

Installation Procedure

Notice: Internal components of this booster are not serviceable. The housing must not be unstaked and separated. Separating the housing will cause permanent deformation, preventing the booster from holding proper volume.

    Notice: Use the correct fastener in the correct location. Replacement fasteners must be the correct part number for that application. Fasteners requiring replacement or fasteners requiring the use of thread locking compound or sealant are identified in the service procedure. Do not use paints, lubricants, or corrosion inhibitors on fasteners or fastener joint surfaces unless specified. These coatings affect fastener torque and joint clamping force and may damage the fastener. Use the correct tightening sequence and specifications when installing fasteners in order to avoid damage to parts and systems.

  1. Attach the J 22805-01 to the new booster using the nuts.
  2. Tighten
    Tighten the nuts to 27 N·m (20 lb ft).


    Object Number: 176826  Size: SH

    Important: Carefully push the pushrod eye through the hole so that you do not damage or dislodge the insulator boot.

  3. Place the booster (3) on the cowl counterclockwise from the final installation position so that the locking flanges on the booster and on the mounting engage.

  4. Object Number: 176827  Size: SH

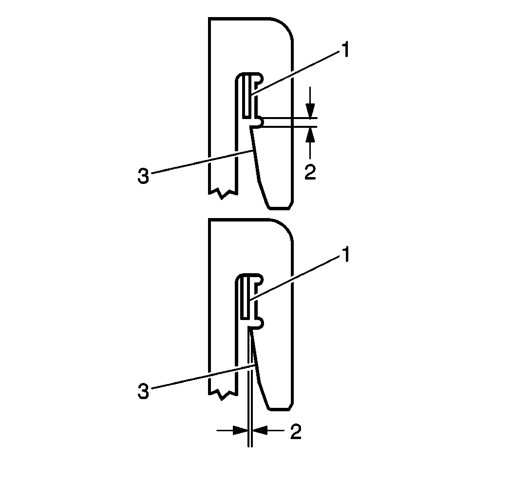
    Important: Ensure that the locking tab (1) and the flanges are in the fully engaged position.

  5. Turn the booster clockwise with the wrench on the J 22805-01 . Do not use a screwdriver in the locking tab in order to install the booster. When the booster is correctly installed, the locking tab (1) slides up the flange and snaps in the locking notch (3).
  6. Connect the brake booster pushrod (1) to the brake pedal. Refer to Brake Pedal Replacement
  7. Connect the vacuum hose to the brake booster.
  8. Install the master cylinder. Refer to Master Cylinder Replacement
  9. Install brake modulator and connect electrical connection
  10. Rotate engine forward to its original position. Refer to Rotating the Engine for Service Access in Engine Mechanical.
  11. Adjust stoplamp switch. Refer to Stop Lamp Switch Adjustment
  12. Connect the negative battery cable. Refer to Battery Negative Cable Disconnection and Connection in Engine Electrical.