GM Service Manual Online
For 1990-2009 cars only

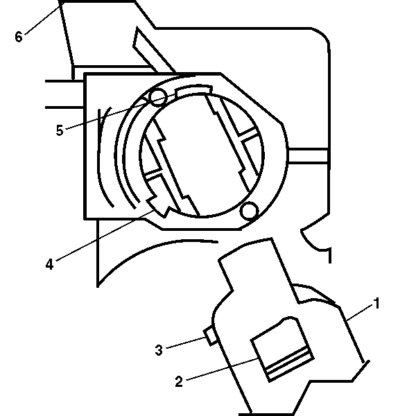
Steering Column Lock Cylinder Set - Assemble - Off Vehicle Floor Shift


    Object Number: 373862  Size: SH
  1. Insert the key into the steering column lock cylinder set (1).
  2. Line up the locking tab (2) and the positioning tab (3) of the steering column lock cylinder set with the locking tab slot (5) and the positioning tab slot (4) in the electronic lock module assembly (6).
  3. Push the steering column lock cylinder set (1) into the electronic lock module assembly (6).
  4. Rotate the steering column lock cylinder set (1) in the electronic lock module assembly (6) into all positions.
  5. Install the upper and lower trim covers. Refer to Steering Column Trim Covers - Assemble - Off Vehicle .

Steering Column Lock Cylinder Set - Assemble - Off Vehicle Column Shift


    Object Number: 373862  Size: SH
  1. Insert the key into the steering column lock cylinder set (1).
  2. Line up the locking tab (2) and the positioning tab (3) of the steering column lock cylinder set with the locking tab slot (5) and the positioning tab slot (4) in the electronic lock module assembly (6).
  3. Push the steering column lock cylinder set (1) into the electronic lock module assembly (6).
  4. Rotate the steering column lock cylinder set (1) in the electronic lock module assembly (6) into all positions.
  5. Install the upper and lower trim covers. Refer to Steering Column Trim Covers - Assemble - Off Vehicle .