GM Service Manual Online
For 1990-2009 cars only
Makes
🢒
Buick
🢒
2000
🢒
Century
🢒
Body and Accessories
🢒
Keyless Entry
🢒 Keyless Entry Schematics
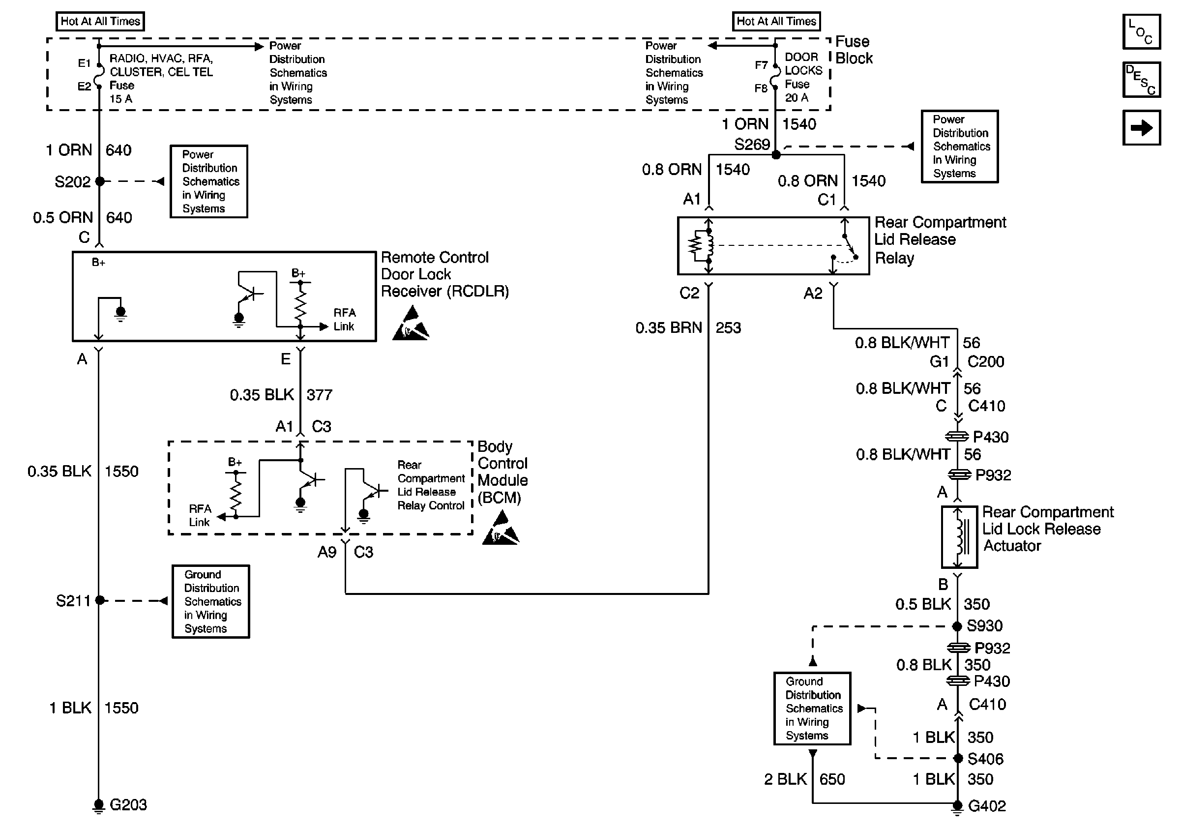
Figure
1:
Power, Ground, Rear Compartment Lid Release Relay and Rear Compartment Lid Lock Release Actuator
Battery, UAWJB, Fuse Block, Headlamp Switch, Parklamp and Headlamp Relay
Radio, HVAC, RFA, Cluster, Cel Tel, BCM Power, INADV Power Bus, Radio PRM Sound, and Cigar Lighter/Data Link Fuses
G203
Handling ESD Sensitive Parts Notice
Handling ESD Sensitive Parts Notice
Battery, UAWJB, Fuse Block, Headlamp Switch, Parklamp and Headlamp Relay
High Blower, Hazard, Stoplamps, Door Locks, Power Mirrors, and Heated Seats Fuses
G402 cont.
Keyless Entry Components
Keyless Entry System Circuit Description
Door Lock Actuators
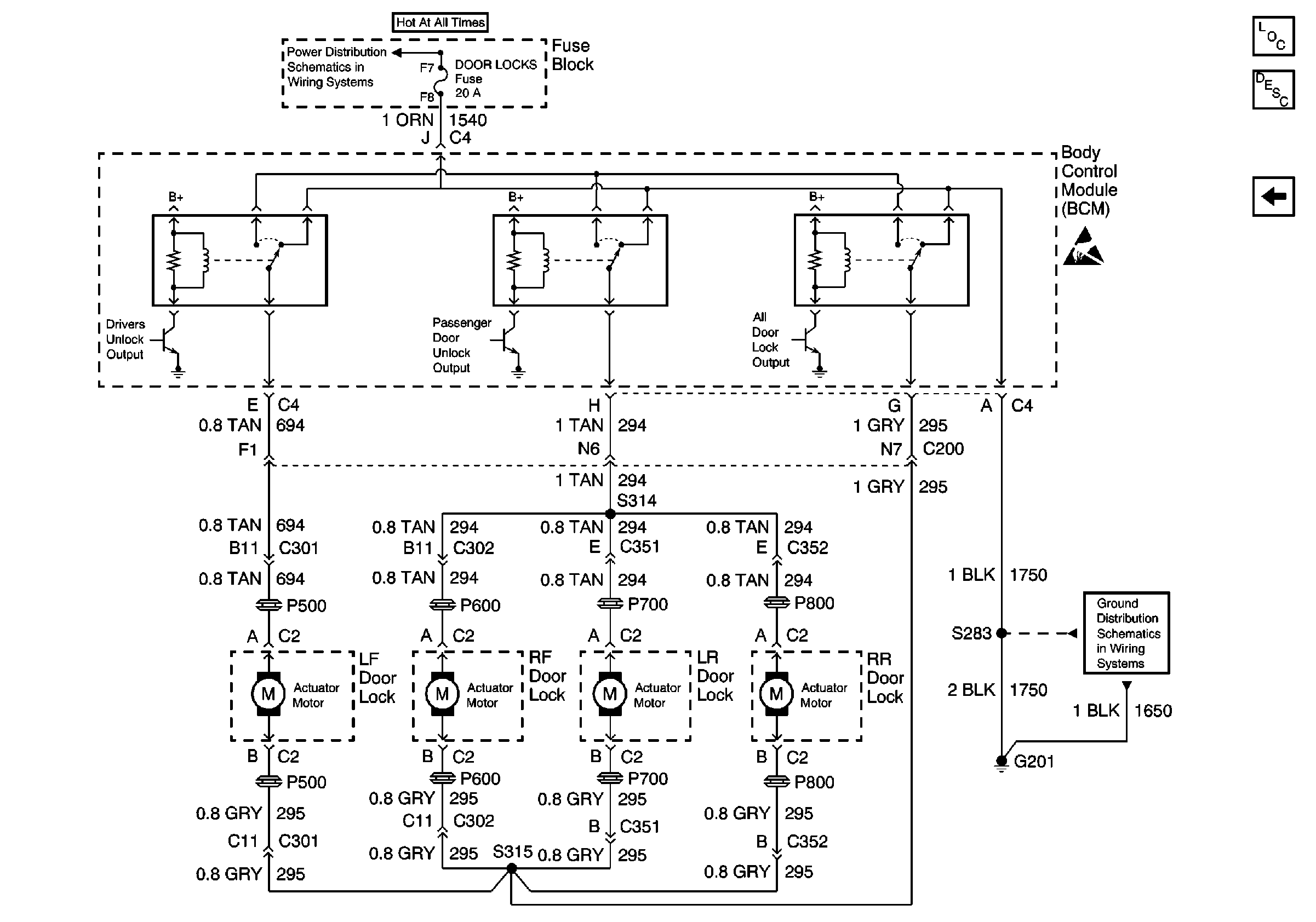
Figure
2:
Door Lock Actuators
Battery, UAWJB, Fuse Block, Headlamp Switch, Parklamp and Headlamp Relay
High Blower, Hazard, Stoplamps, Door Locks, Power Mirrors, and Heated Seats Fuses
Handling ESD Sensitive Parts Notice
G201
Keyless Entry Components
Keyless Entry System Circuit Description
Power, Ground, Rear Compartment Lid Release Relay and Rear CoMPARtment Lid Lock Release Actuator