Reference Number | Length (mm) | Width (mm) | Height (mm) | Feature Size |
|---|---|---|---|---|
1 | 3124 | 555 | 678 | 16 mm rear bumper attach |
2 | 3124 | 555 | 616 | 16 mm rear bumper attach |
3 | 3124 | 412 | 647 | 16 mm rear bumper attach |
4 | 3190 | 568 | 950 | 11 mm tail lamp attach |
5 | 3120 | 706 | 977 | 5 x 11 mm tail lamp attach |
6 | 3190 | 568 | 1029 | 11 mm tail lamp attach |
All dimensions are measured from a zero line, center line, and a common datum. All dimensions are symmetrical unless otherwise specified. | ||||
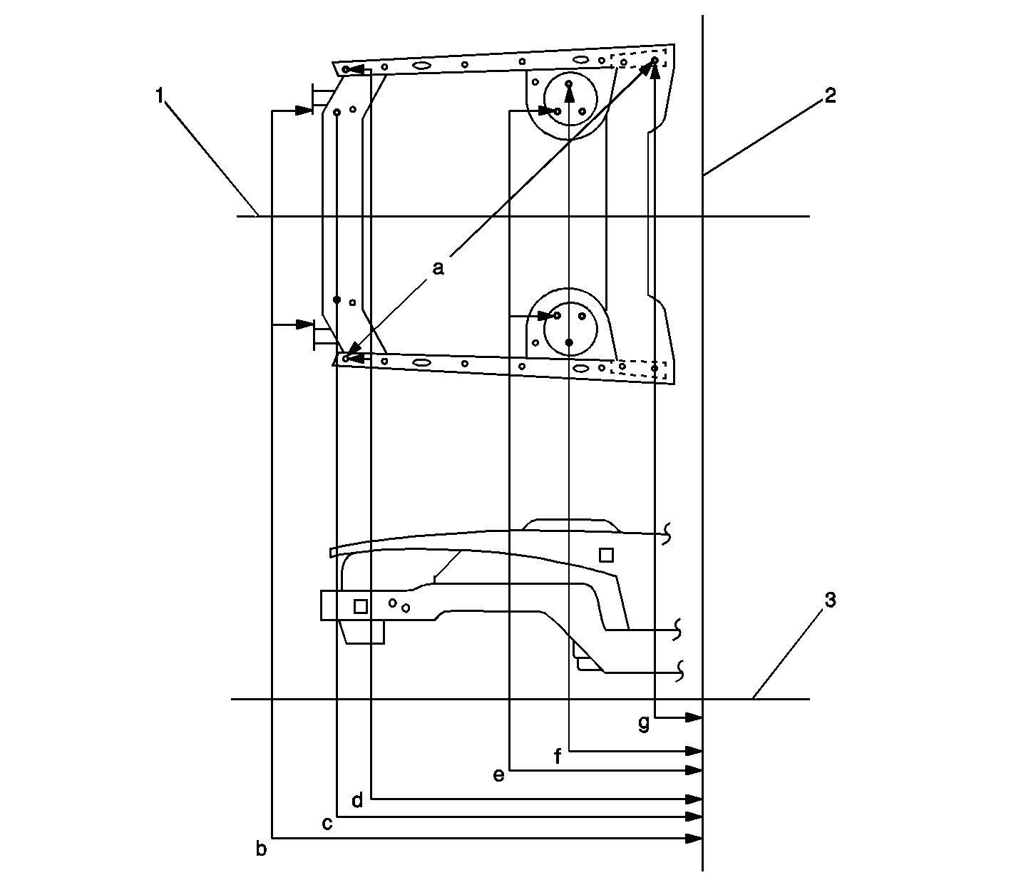
Reference Number | Length (mm) | Width (mm) | Height (mm) | Feature Size |
|---|---|---|---|---|
1 | 1126 | 802 | 973 | Door Hinge attach |
2 | 1147 | 801 | 996 | Door Hinge attach |
3 | 2104 | 812 | 1024 | Door lock striker attach |
4 | 1143 | 814 | 637 | Door Hinge attach |
5 | 1123 | 813 | 660 | Door Hinge attach |
6 | 77 | 808 | 622 | Door Hinge attach |
7 | 57 | 808 | 645 | Door Hinge attach |
8 | 1104 | 788 | 819 | Door lock striker attach |
9 | 56 | 802 | 975 | Door Hinge attach |
10 | 78 | 801 | 998 | Door Hinge attach |
All dimensions are measured from a zero line, center line, and a common datum. All dimensions are symmetrical unless otherwise specified. | ||||
Reference Number | Length (mm) | Width (mm) | Height (mm) | Feature Size |
|---|---|---|---|---|
1 | 1104 | 236 | 927 | 7 mm Engine Mount Attach |
2 | 1104 | 210 | 927 | 7 mm Engine Mount Attach |
3 | 1219 | 616 | 675 | 9x18 mm Bumper Bar Attach |
4 | 1219 | 616 | 606 | 16 mm Bumper Bar Attach |
5 | 1255 | 450 | 606 | 16 mm Bumper Bar Attach |
All dimensions are measured from a zero line, center line, and a common datum. All dimensions are symmetrical unless otherwise specified. | ||||
Reference Number | Length (mm) | Width (mm) | Height (mm) | Feature Size |
|---|---|---|---|---|
1 | 155 | 754 | 1064 | hood hinge attach |
2 | 328 | 546 | 1036 | 12x15 mm front suspension attach |
3 | 448 | 551 | 1043 | 12x15 mm front suspension attach |
4 | 442 | 546 | 1041 | 12x15 mm front suspension attach |
5 | 325 | 552 | 1037 | 12x15 mm front suspension attach |
6 | 371 | 664 | 1053 | 12 mm front suspension attach |
7 | 1132 | 319 | 924 | support brace |
8 | 1106 | 468 | 922 | support brace |
9 | 988 | 710 | 921 | 5 mm gage fender attach |
10 | 401 | 664 | 1054 | 12 mm front suspension attach |
All dimensions are measured from a zero line, center line, and a common datum. All dimensions are symmetrical unless otherwise specified. | ||||
Reference Number | Length (mm) | Width (mm) | Height (mm) | Feature Size |
|---|---|---|---|---|
P | 90 | 795 | 600 | Door Hinge attach |
Q | 77 | 780 | 984 | Door Hinge attach |
R | 1393 | 787 | 842 | Door lock striker attach |
All dimensions are measured from a zero line, center line, and a common datum. All dimensions are symmetrical unless otherwise specified. | ||||