GM Service Manual Online
For 1990-2009 cars only

Object Number: 613776  Size: MF
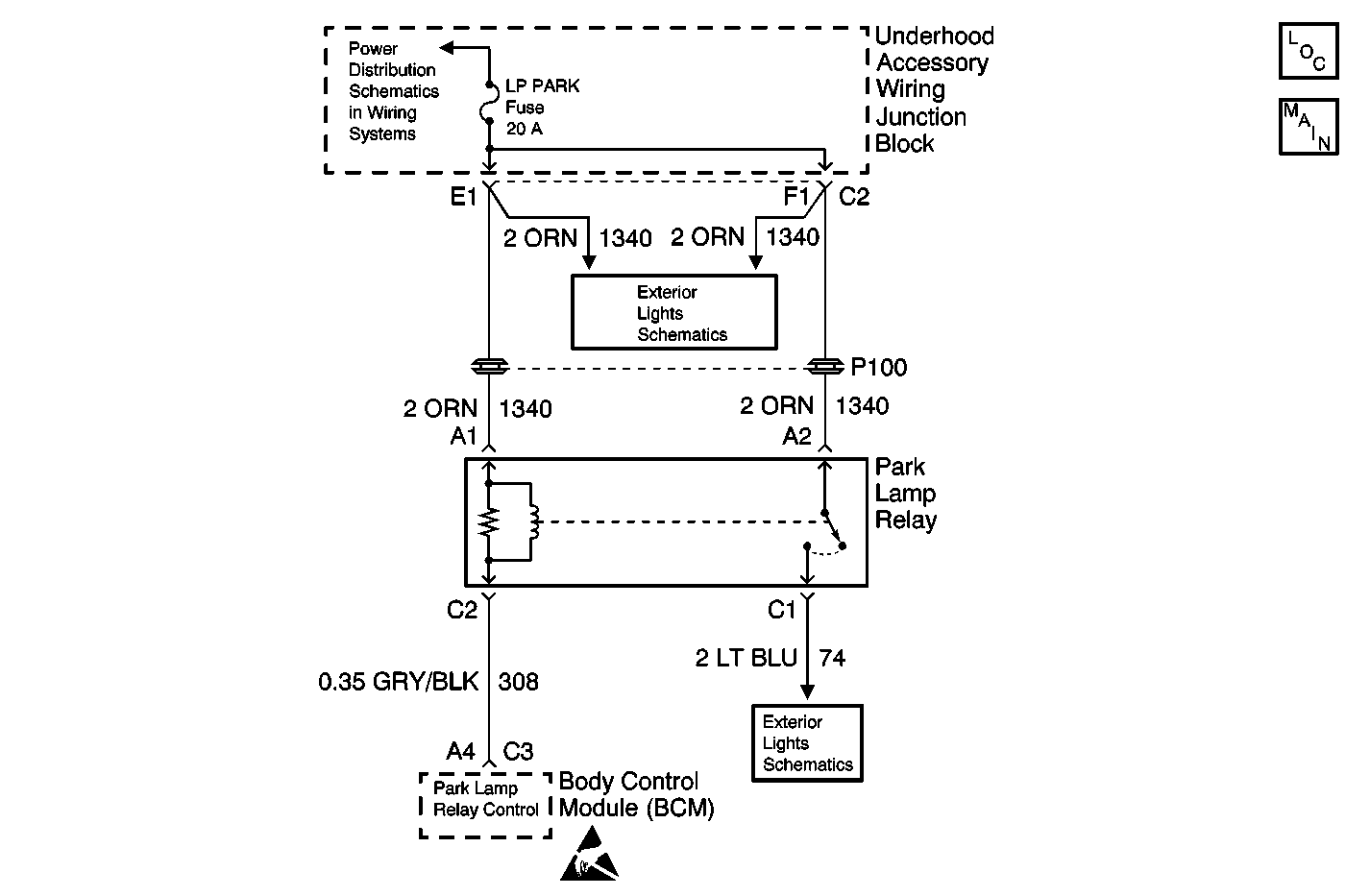
Battery, UAWJB, Fuse Block, Headlamp Switch, Parklamp and Headlamp Relay
BCM, Headlamp Switch, Park Lamp Relay, Headlamp Relay and Ambient Light SenSor
BCM, Headlamp Switch, Park Lamp Relay, Headlamp Relay and Ambient Light SenSor
Handling ESD Sensitive Parts Notice
Lighting Systems Components
BCM, Headlamp Switch, Park Lamp Relay, Headlamp Relay and Ambient Light SenSor

Circuit Description

The Body Control Module (BCM) controls the Park Lamp relay. The BCM grounds the park lamp relay coil control circuit which in turns energizes the Park Lamp relay.

Conditions for Running the DTC

The BCM must be commanding the Park Lamp relay to energize.

Conditions for Setting the DTC

    • The BCM detects a short to battery in the park lamp relay coil control circuit when It is trying to energize the park lamp relay.
    • The condition above must be present for more than 0.3 seconds.

Action Taken When the DTC Sets

    • The BCM stores DTC B2588 in memory.
    • The SERVICE VEHICLE SOON telltale illuminates.

Conditions for Clearing the DTC

    • A short to battery in the Park Lamp relay coil control circuit is no longer detected by the BCM when the Park Lamp relay is commanded to energize.
    • A history DTC B2588 will clear after 100 consecutive ignition cycles if the condition for the malfunction is no longer present.

Diagnostic Aids

    • If the DTC B2588 is a history DTC, the fault may be intermittent. Refer to Intermittents and Poor Connections.
    • The following conditions may cause an intermittent malfunction to occur:
       - An intermittent short to battery in the park lamp relay coil control circuit.
       - The park lamp relay coil is shorted to battery internally
       - The BCM is shorted to battery internally

Test Description

The number(s) below refer to the step number(s) on the diagnostic table.

  1. Listen for an audible click when the park lamp relay operates. Command both the ON and OFF states. Repeat the commands as necessary.

  2. Tests for voltage at the coil side of the park lamp relay. The LP Park fuse supplies power to the coil side of the park lamp relay.

  3. Verifies that the Body Control Module is providing ground to the park lamp relay.

  4. Tests if ground is constantly being applied to the park lamp relay.

Step

Action

Value(s)

Yes

No

1

Did you perform the Lighting System Diagnostic System Check?

--

Go to Step 2

Go to Diagnostic System Check - Lighting Systems

2

  1. Install a scan tool.
  2. Turn ON the ignition, with the engine OFF.
  3. With a scan tool, command the park lamp relay ON and OFF.

Does the park lamp relay turn ON and OFF with each command?

--

Go to Diagnostic Aids

Go to Step 3

3

  1. Turn OFF the ignition.
  2. Disconnect the park lamp relay.
  3. Turn ON the ignition, with the engine OFF.
  4. Probe the coil side feed circuit of the park lamp relay with a test lamp that is connected to a good ground.

Does the test lamp illuminate?

--

Go to Step 4

Go to Step 10

4

  1. Connect a test lamp between the control circuit of the park lamp relay and the coil side feed circuit of the park lamp relay.
  2. With a scan tool, command the park lamp relay ON and OFF .

Does the test lamp turn ON and OFF with each command?

--

Go to Step 8

Go to Step 5

5

Does the test lamp remain illuminated with each command?

--

Go to Step 7

Go to Step 6

6

Test the control circuit of the park lamp relay for a short to voltage or an open. Refer to Circuit Testing and Wiring Repairs in Wiring Systems.

Did you find and correct the condition?

--

Go to Step 13

Go to Step 9

7

Test the control circuit of the park lamp relay for a short to ground. Refer to Circuit Testing and Wiring Repairs in Wiring Systems.

Did you find and correct the condition?

--

Go to Step 13

Go to Step 9

8

Inspect for poor connections at the park lamp relay. Refer to Testing for Intermittent Conditions and Poor Connections and Connector Repairs in Wiring Systems.

Did you find and correct the condition?

--

Go to Step 13

Go to Step 11

9

Inspect for poor connections at the harness connector of the Body Control Module. Refer to Testing for Intermittent Conditions and Poor Connections and Connector Repairs in Wiring Systems.

Did you find and correct the condition?

--

Go to Step 13

Go to Step 12

10

Repair a poor connection or an open in the park lamp relay coil feed. Refer to Circuit Testing and Wiring Repairs in Wiring Systems.

Did you complete the repair?

--

Go to Step 13

--

11

Replace the park lamp relay.

Did you complete the replacement?

--

Go to Step 13

--

12

Important: Perform the set up procedure for the body control module.

Replace the BCM. Refer to Body Control Module Replacement .

Did you complete the replacement?

--

Go to Step 13

--

13

  1. Use the scan tool in order to clear the DTCs .
  2. Operate the vehicle within the Conditions for Running the DTC as specified in the supporting text.

Does the DTC reset?

--

Go to Step 2

System OK