GM Service Manual Online
For 1990-2009 cars only
Figure 1:

Compartment and IP Courtesy Lamps


Object Number: 706488  Size: FS
Master Electrical Component List
Interior Lighting Systems Description and Operation
Sunshade and Courtesy/Reading Lamps
IGN 2
BCM, Power Drop, SW. Switchs
G200, Page 2 of 2
G200, Page 1 of 2
G201
Sunshade and Courtesy/Reading Lamps
Sunshade and Courtesy/Reading Lamps
G402, Page 2 of 2
G402, Page 1 of 2
Figure 2:

Sunshade and Courtesy/Reading Lamps


Object Number: 706495  Size: FS
Master Electrical Component List
Interior Lighting Systems Description and Operation
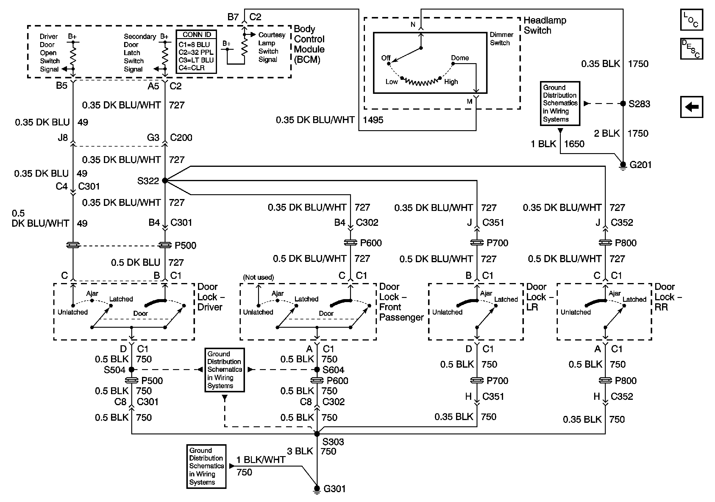
Dome Lamp Control
Compartment and IP Courtesy Lamps
Compartment and IP Courtesy Lamps
Compartment and IP Courtesy Lamps
G402, Page 1 of 2
Figure 3:

Dome Lamp Control


Object Number: 706502  Size: FS
Master Electrical Component List
Interior Lighting Systems Description and Operation
Sunshade and Courtesy/Reading Lamps
G301, Page 1 of 2
G301, Page 1 of 2
G201