GM Service Manual Online
For 1990-2009 cars only
Figure 1:

Power Mirrors


Object Number: 703834  Size: FS
Master Electrical Component List
Outside Mirror Description and Operation
Heated Mirrors
Batt 2
Door and Seat Switches
G301, Page 1 of 2
Figure 2:

Heated Mirrors


Object Number: 703380  Size: FS
Master Electrical Component List
Outside Mirror Description and Operation
Auto Day-Night Mirror
Power Mirrors
G301, Page 1 of 2
G301, Page 1 of 2
Batt 3
Blower, Cruise, HVAC
IGN 2
G200, Page 1 of 2
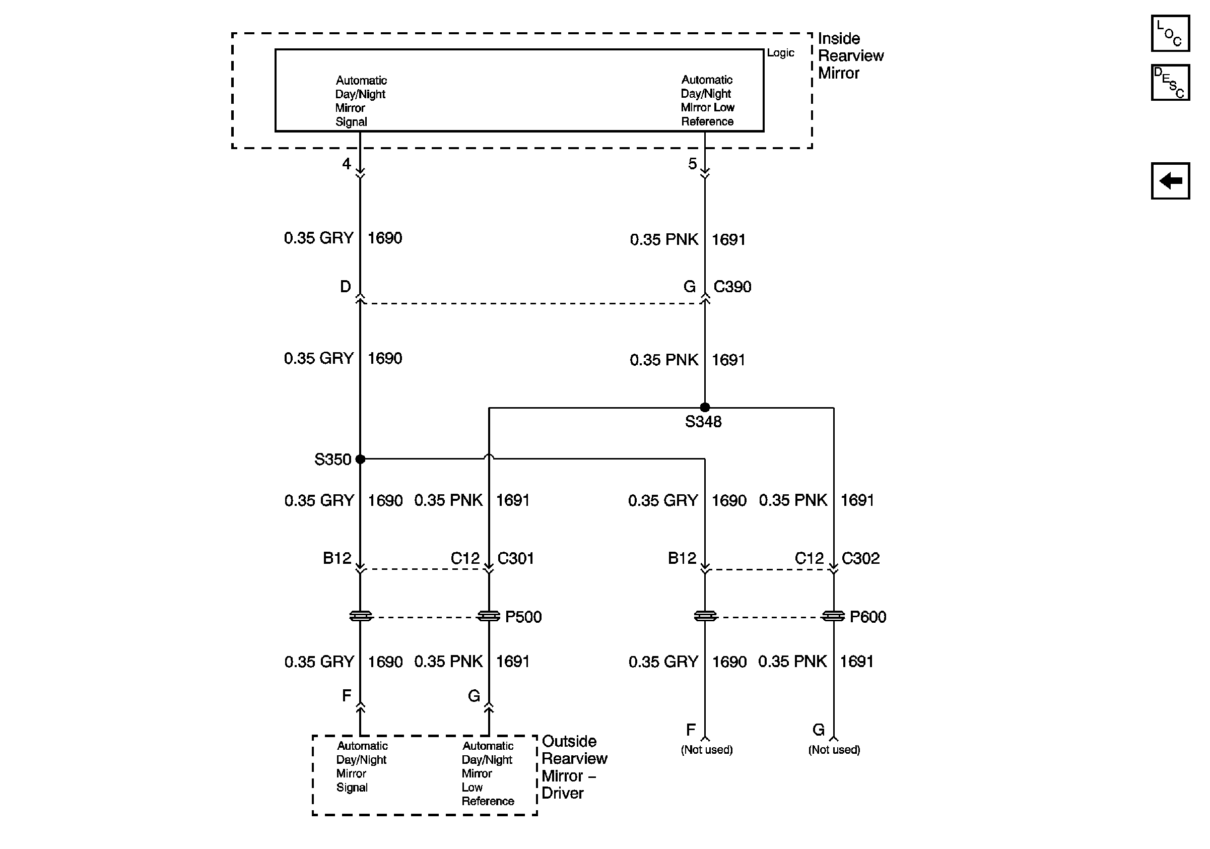
Figure 3:

Auto Day-Night Mirror


Object Number: 703383  Size: FS
Master Electrical Component List
Outside Mirror Description and Operation
Heated Mirrors