GM Service Manual Online
For 1990-2009 cars only

Connecting Rod Measurement


    Object Number: 464719  Size: SH
  1. Measure the connecting rod side clearance. If the side clearance is greater than the maximum replace the connecting rod.
  2. Standard Connecting Rod Side Clearance
    0.25-0.40 mm (0.0099-0.0157 in)

    Maximum Connecting Rod Side Clearance
    0.45 mm (0.0177 in)

    Caution: Refer to Safety Glasses Caution in the Preface section.


    Object Number: 156169  Size: SH
  3. Clean the connecting rods in solvent and dry with compressed air.
  4. Inspect the connecting rods for signs of being twisted, bent, bowed, nicked, or cracked
  5. Maximum Connecting Rod Bow
    0.05 mm (0.0020 in)

    Maximum Connecting Rod Twist
    0.10 mm (0.0039 in)

  6. Inspect the connecting rods for scratches or abrasion on the rod bearing seating surface. If the connecting rod bores contain minor scratches or abrasions, clean the bores by sanding in a circular direction with a light emery paper. Do not scrape the rod or rod cap.
  7. If the connecting rod bores cannot be cleaned by sanding, or if the bow or twist exceeds specifications, replace the connecting rod.

  8. Object Number: 4976  Size: SH
  9. Measure the piston pin to connecting rod bore.
  10. Measure the piston pin diameter in the area of connecting rod contact using an outside micrometer.
  11. Measure the connecting rod piston pin bore using an inside micrometer.
  12. Subtract the piston pin diameter from the piston pin bore diameter.
  13. Piston Pin-to-Piston Pin Bore Clearance
    0.003-0.014 mm (0.0001-0.0005 in)

    Piston Pin Diameter
    20.997-21.000 mm (0.8266-0.8268 in)

    Piston Pin Bore Diameter
    21.003-21.011 mm (0.8269-0.8272 in)

  14. If there is excessive clearance replace the piston pin.
  15. If there is still excessive clearance, replace the connecting rod.

Piston Measurement


    Object Number: 156168  Size: SH
  1. Clean the piston skirts and the pins with a cleaning solvent. Do not wire brush any part of the piston.
  2. Clean the piston ring grooves with a ring groove cleaner. Make sure the oil ring holes and slots are clean.
  3. Inspect the pistons for the following conditions:
  4. • Cracked ring lands, skirts, or pin bosses
    • Ring grooves for nicks and burrs that may cause binding
    • Warped or worn ring lands
    • Eroded areas at the top of the piston (1)
    • Scuffed or damaged skirts (2)
    • Worn or scuffed piston pin bores (3)
  5. Replace pistons and piston pins that show any signs of damage or excessive wear.

  6. Object Number: 236224  Size: SH
  7. Measure the piston ring end gap.
  8. Place the piston ring in the area of the bore where the piston ring will travel, approximately 120 mm or 4.72 inches down from the deck surface.

  9. Square the ring in the cylinder bore by positioning the ring with an inverted piston head.

  10. Object Number: 236227  Size: SH
  11. Measure the piston ring end gap with feeler gages. If the end gap is greater than specifications replace the piston ring.
  12. Top Compression Ring End Gap
    0.20-0.35 mm (0.0079-0.0137 in)

    Maximum Top Compression Ring End Gap
    0.70 mm (0.0276 in)

    Second Compression Ring End Gap
    0.35-0.50 mm (0.0138-0.0196 in)

    Maximum Second Compression Ring End Gap
    0.70 mm (0.0276 in)

    Oil Ring End Gap
    0.20-0.70 mm (0.0079-0.0275 in)

    Maximum Oil Ring End Gap
    1.8 mm (0.0709 in)


    Object Number: 22934  Size: SH
  13. Measure the piston ring side clearance.
  14. Roll the top two piston rings entirely around the piston ring groove. If any binding is caused by the ring groove, dress the groove with a fine file. If any binding is caused by a distorted piston ring, replace the ring.

  15. With the piston ring on the piston, use feeler gages to check clearance at multiple locations.
  16. If the clearance is greater than specifications, replace the piston ring.
  17. If the new ring does not produce the correct side clearance, replace the piston.
  18. Top Compression Ring Side Clearance
    0.030-0.070 mm (0.0012-0.0027 in)

    Second Compression Ring Side Clearance
    0.020-0.060 mm (0.0008-0.0023 in)


    Object Number: 188016  Size: SH
  19. Measure piston-to-cylinder bore clearance.
  20. Using an outside micrometer, measure the width of the piston 26.5 mm (1.04 in) below the top of the piston at the thrust surface perpendicular to the centerline of the piston pin.

  21. Subtract the measured piston diameter from its original cylinder bore diameter.
  22. Piston-to-Cylinder Bore Clearance
    0.02-0.04 mm (0.0008-0.0015 in)

  23. If the clearance obtained through measurement is greater than specifications and the cylinder bores are within specification, replace the piston. If the cylinder bores are not within specification, rebore all 4 cylinders and fit with oversize pistons. Select the smallest available oversize pistons.
  24. Standard Size Pistons
    83.970-83.990 mm (3.3059-3.3067 in)

    0.25 mm (0.0098 in) Oversize Pistons
    84.220-84.240 mm (3.3157-3.3165 in)

    0.50 mm (0.0196 in) Oversize Pistons
    84.470-84.490 mm (3.3256-3.3264 in)

Connecting Rod Bearing Selection


    Object Number: 465885  Size: SH

    Important: If crankshaft bearing failure is due to other than normal wear, investigate the cause. Inspect the crankshaft and the connecting rod bearing bores.

    Notice: Do not shim, scrape, or file bearing inserts. Do not touch the bearing surface of the insert with bare fingers. Skin oil and acids will etch the bearing surface.

  1. The connecting rod bearings are of the precision insert type. The connecting rod bearings are available in standard and 0.25 mm (0.0098 in) undersized. Undersized refers to crankshaft diameter. The undersized bearings are marked with red paint (1).

  2. Object Number: 464718  Size: SH
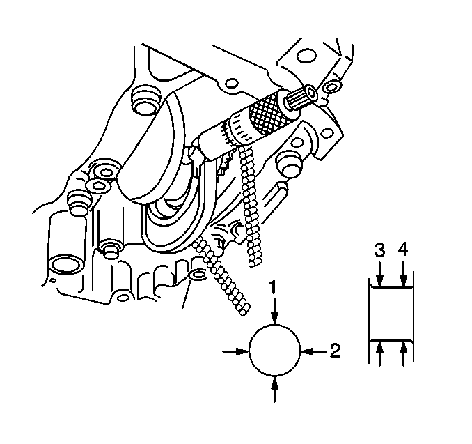
  3. Measure the connecting rod journal for taper (3 minus 4) and out-of-round (1 minus 2).
  4. Maximum Crankshaft Taper
    0.01 mm (0.0004 in)

    Maximum Crankshaft Out-of-Round
    0.01 mm (0.0004 in)

  5. Regrind or replace the crankshaft if the taper or out-of-round exceeds specifications.
  6. Notice: Use the correct fastener in the correct location. Replacement fasteners must be the correct part number for that application. Fasteners requiring replacement or fasteners requiring the use of thread locking compound or sealant are identified in the service procedure. Do not use paints, lubricants, or corrosion inhibitors on fasteners or fastener joint surfaces unless specified. These coatings affect fastener torque and joint clamping force and may damage the fastener. Use the correct tightening sequence and specifications when installing fasteners in order to avoid damage to parts and systems.

  7. Install the connecting rod cap to the rod and tighten the nuts to 45 N·m (33 lb ft).
  8. Measure the connecting rod bearing bore for taper and out-of-round.
  9. No taper or out-of-round should exist. If taper or out-of-round exists, replace the connecting rod.
  10. Important: The crankshaft and the lower crankcase assembly must be installed and properly torqued before measuring the connecting rod clearances.

  11. Starting with the number one connecting rod, remove the connecting rod cap nuts.
  12. Remove the connecting rod cap by wiggling the connecting rod cap left and right.
  13. Important: Do not turn the crankshaft while the gaging plastic is installed.

  14. Lay a piece of gaging plastic across the crankshaft connecting rod journal, avoiding the oil hole.
  15. Carefully place the connecting rod cap onto the connecting rod. The arrow on the rod cap should point towards the front of the engine.
  16. Install the two connecting rod cap nuts.
  17. Tighten
    Tighten the connecting rod cap nuts to 45 N·m (33 lb ft).

  18. After reaching the proper torque, remove the two crankshaft connecting rod cap nuts.
  19. Carefully remove the connecting rod cap from the connecting rod.

  20. Object Number: 4981  Size: SH
  21. Measure the gaging plastic at its widest point.
  22. Standard Oil Clearance
    0.045-0.063 mm (0.0018-0.0025 in)

    Maximum Oil Clearance
    0.08 mm (0.0031 in)

  23. If the oil clearance exceeds the maximum replace the bearing with a new standard size bearing.
  24. If the oil clearance exceeds the maximum with a new standard size bearing replace the crankshaft or regrind the crankshaft.

  25. Object Number: 5265  Size: SH
  26. Regrind the crankshaft.
  27. Regrind the crankshaft so that the finished crankpin diameter equals the measured connecting rod bore diameter minus 0.054 mm (0.0021 in).

    Install a new 0.25 mm (0.0098 in) undersized bearing to the connecting rod.

  28. Install the connecting rod cap and torque the nuts to 45N·m (33 lb ft).
  29. Measure the connecting rod bore diameter with the undersized bearing installed.
  30. Measure the crankpin diameter.
  31. Ensure that the oil clearance is within specifications.