GM Service Manual Online
For 1990-2009 cars only
Makes
🢒
Buick
🢒
2001
🢒
Century
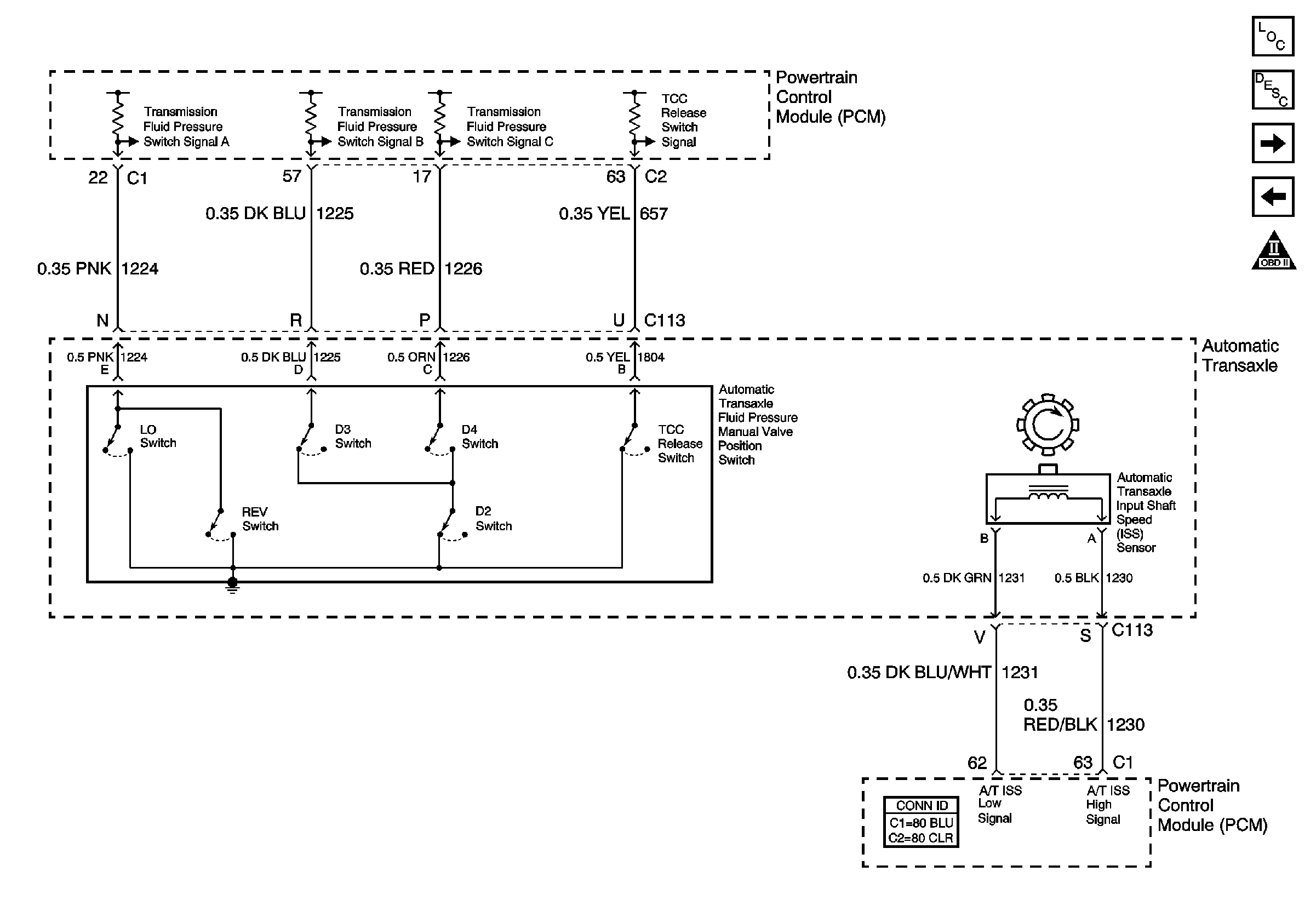
🢒 Fluid Pressure Manual Valve Position Switch and ISS Sensor
Fluid Pressure Manual Valve Position Switch and ISS Sensor
Fluid Pressure Manual Valve Position Switch and ISS Sensor
Master Electrical Component List
Transmission Component and System Description
PNP Switch
Solenoid Controls and TFT Sensor
Engine Emission Notice