GM Service Manual Online
For 1990-2009 cars only
Makes
🢒
Buick
🢒
2002
🢒
Century
🢒
HVAC
🢒
HVAC Systems - Automatic
🢒 OnStar Schematics
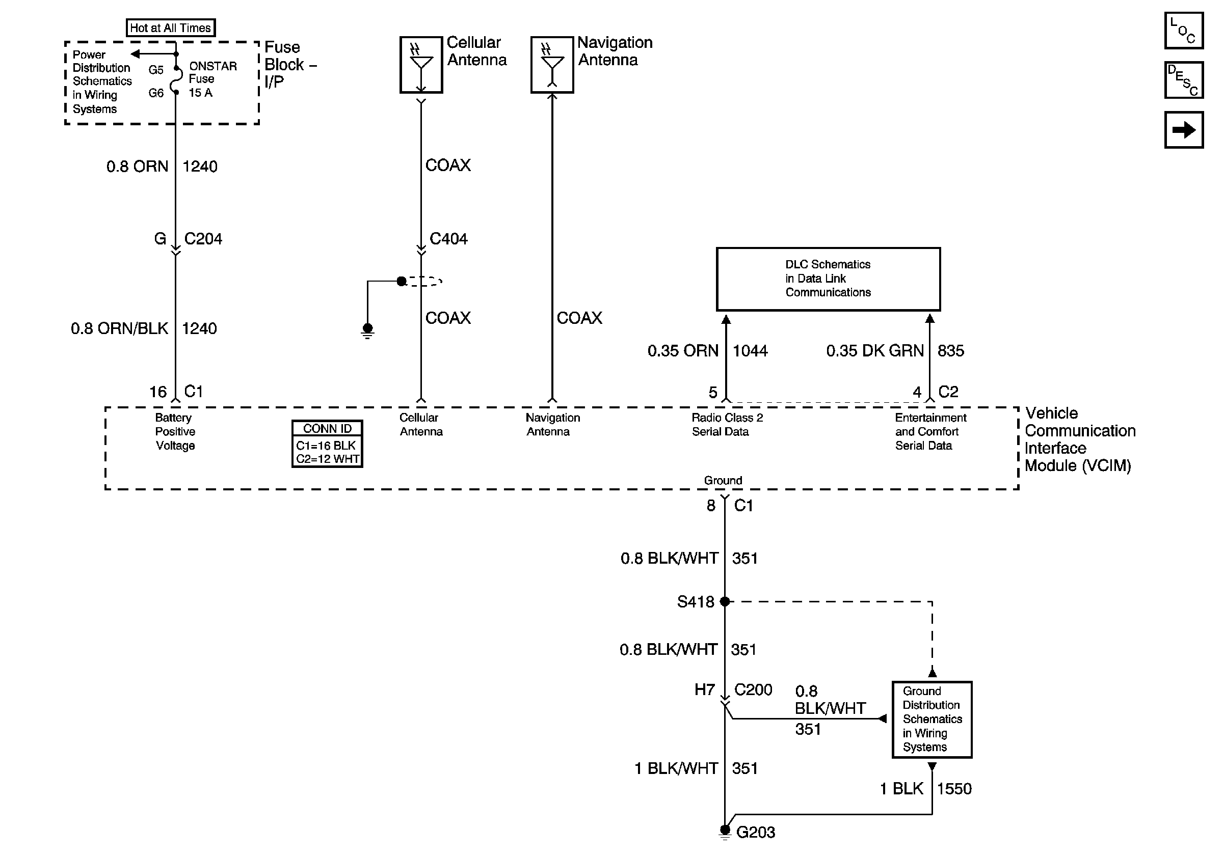
Figure
1:
Power, Grounds, DLC, and Antennas
Master Electrical Component List
OnStar Description and Operation
Inputs and Outputs
Battery 3 (Regal)
Data Link Connector (DLC)
G203 (Page 2 of 2)
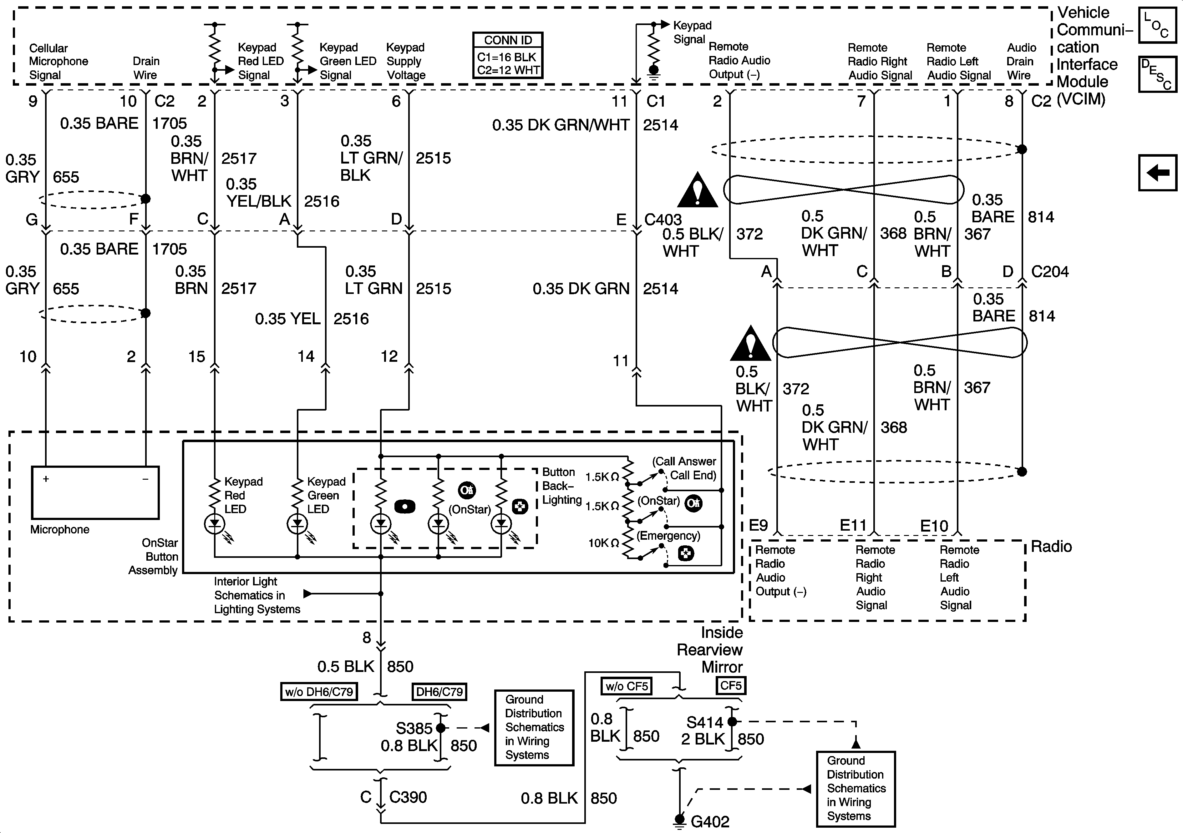
Figure
2:
Inputs and Outputs
Master Electrical Component List
OnStar Description and Operation
Power, Ground, and DLC
Cellular Communication Schematic Icons
Cellular Communication Schematic Icons
Mirror, Dome, and Courtesy/Reading Lamps
G402 (Page 1 of 2)
G402 (Page 1 of 2)