GM Service Manual Online
For 1990-2009 cars only
Makes
🢒
Buick
🢒
2002
🢒
Century
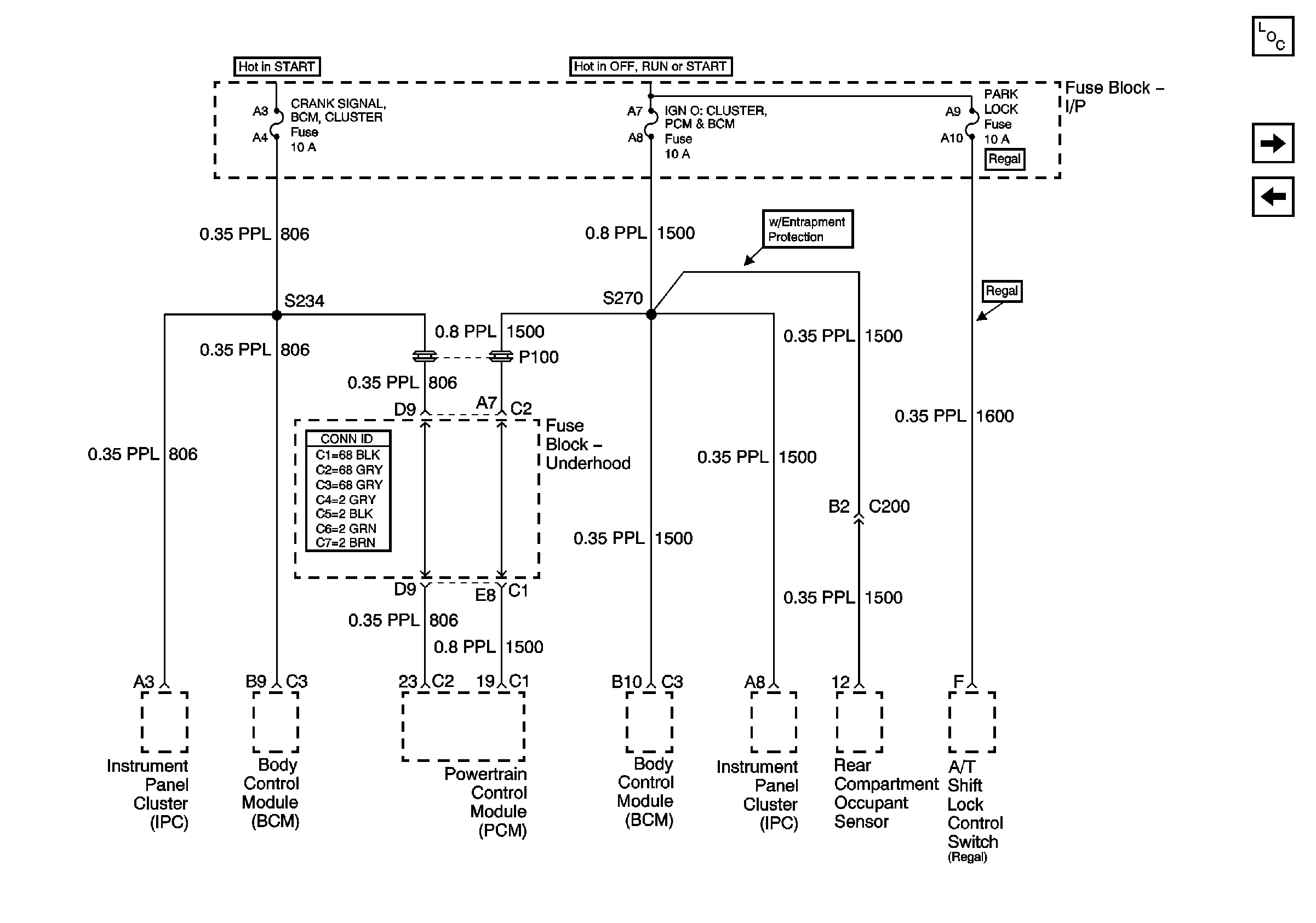
🢒 Cluster, BCM, PCM, BTSI
Cluster, BCM, PCM, BTSI
Fuse Block - I/P CRANK SIGNAL, BCM, CLUSTER, IGN 0: CLUSTER, PCM, BCM, and PARK LOCK Fuses
Master Electrical Component List
ABS, BTSI
PCM, BCM, Cluster, Turn, SDM