GM Service Manual Online
For 1990-2009 cars only
Makes
🢒
Buick
🢒
2002
🢒
Century
🢒 Lighting
Lighting
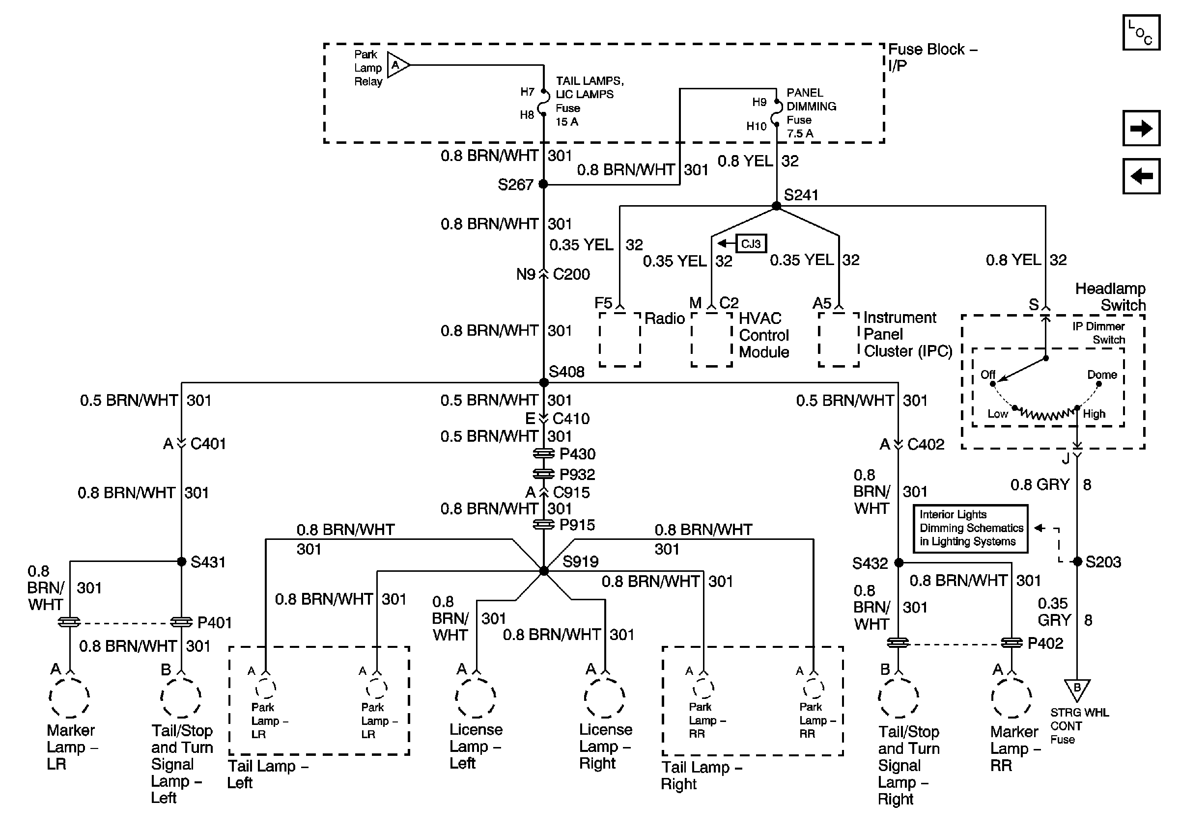
Fuse Block - I/P TAIL LAMPS, LIC LAMPS, and PANEL DIMMING Fuses
Master Electrical Component List
BCM, Power Drop, Steering Wheel Switches
Lighting, Power Windows
Lighting, Power Windows
Fuse Block Underhood Power Bussing (Page 1 of 2)
BCM, Power Drop, Steering Wheel Switches