GM Service Manual Online
For 1990-2009 cars only
Makes
🢒
Buick
🢒
2002
🢒
Century
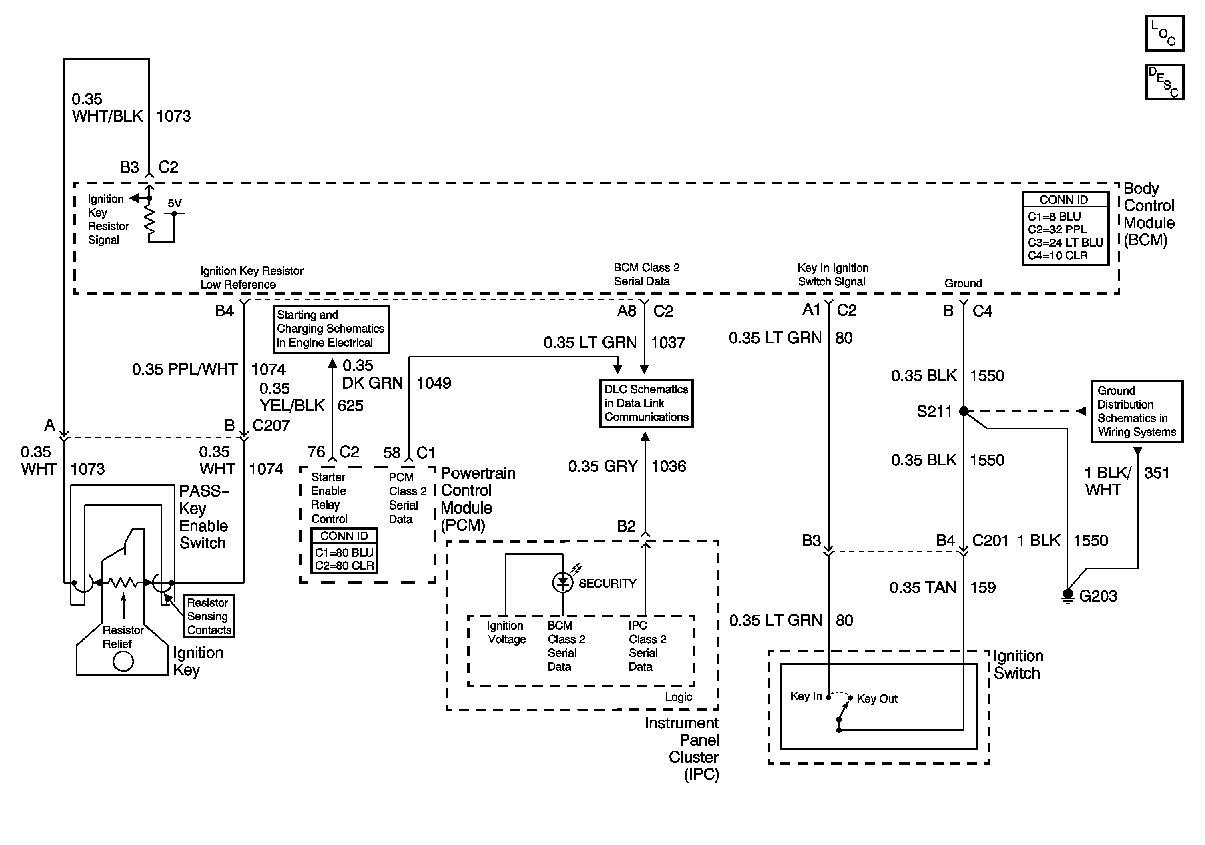
🢒 Theft Deterrent System
Theft Deterrent System
Master Electrical Component List
Vehicle Theft Deterrent (VTD) Description and Operation
Starting
Data Link Connector (DLC)
G203 (Page 1 of 2)