GM Service Manual Online
For 1990-2009 cars only

Tools Required

    • J 5239 Connecting Rod Guide
    • J 8037 Piston Ring Compressor
    • J 36660-A Torque Angle Meter

    Object Number: 843919  Size: SH

    Important: The piston and cylinder bore have been measured and the bore has been sized for the proper clearance. Install the piston and connecting rod assembly into the proper cylinder bore. The piston alignment mark MUST face the front of the engine block.

  1. Lightly lubricate the following components with clean engine oil:
  2. • The piston
    • The piston rings
    • The cylinder bore
    • The bearing surfaces
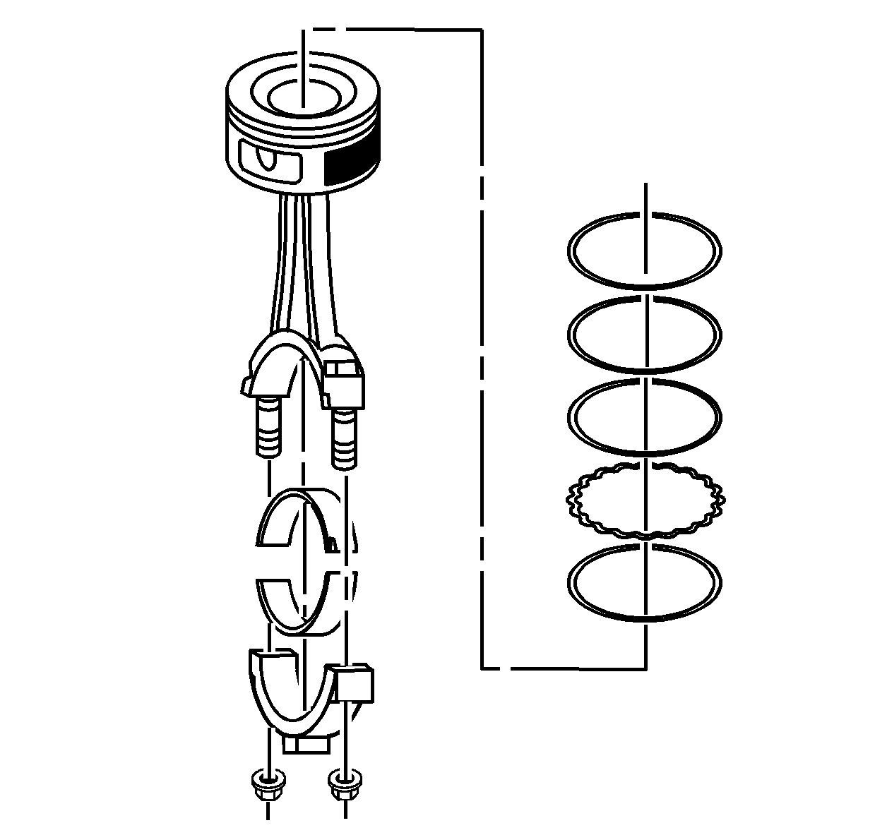
  3. Stagger the oil control ring end gaps a minimum of 90 degrees.
  4. Stagger the compression ring end gaps a minimum of 25 mm (1.0 in).
  5. Install the J 8037 onto the piston and compress the piston rings.

  6. Object Number: 31373  Size: SH

    Important: The piston alignment mark MUST be facing the front of the engine block.

  7. Install the J 5239 on the connecting rod bolts.

  8. Object Number: 43397  Size: SH
  9. Install the piston and connecting rod assembly into the proper cylinder bore.
  10. Hold the piston ring compressor firmly against the engine block. Using a wooden hammer handle, lightly tap the top of the piston until all of the piston rings enter the cylinder bore.

  11. Object Number: 60874  Size: SH
  12. Guide the connecting rod end onto the crankshaft journal.
  13. Notice: Use the correct fastener in the correct location. Replacement fasteners must be the correct part number for that application. Fasteners requiring replacement or fasteners requiring the use of thread locking compound or sealant are identified in the service procedure. Do not use paints, lubricants, or corrosion inhibitors on fasteners or fastener joint surfaces unless specified. These coatings affect fastener torque and joint clamping force and may damage the fastener. Use the correct tightening sequence and specifications when installing fasteners in order to avoid damage to parts and systems.

  14. Install the bearing, cap, and nuts.
  15. Tighten

    1. Tighten the connecting rod bearing cap nuts a first pass to 20 N·m (15 lb ft).
    2. Tighten the connecting rod bearing cap nuts a second pass to 75 degrees using the J 36660-A .

    Object Number: 626625  Size: SH
  16. With the pistons and connecting rods installed, use a soft faced mallet and lightly tap each connecting rod assembly parallel to the crankpin to make sure that the rods have side clearance.
  17. Measure the connecting rod side clearance using a feeler gage or dial indicator. Connecting rod side clearance should be within 0.18-0.44 mm (0.007-0.017 in).