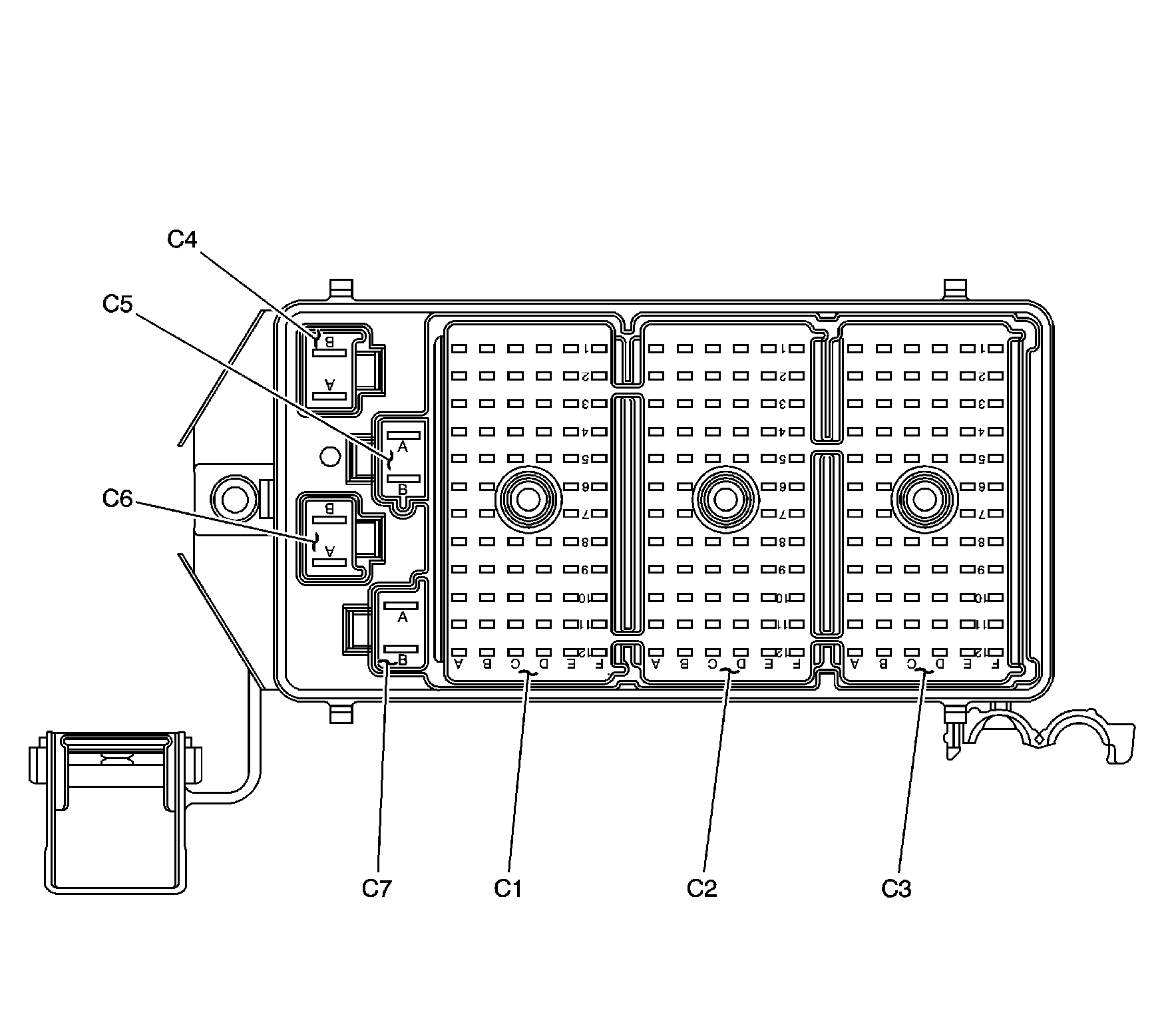
| Table 1: | Fuse Block--Underhood Application Table | 
| Table 2: | Fuse Block-Underhood C1 | 
| Table 3: | Fuse Block-Underhood C2 | 
| Table 4: | Fuse Block-Underhood C3 | 
| Table 5: | Fuse Block-Underhood C4 | 
| Table 6: | Fuse Block-Underhood C5 | 
| Table 7: | Fuse Block-Underhood C6 | 
| Table 8: | Fuse Block-Underhood C7(JL9/JM4) | 
| Table 9: | Fuse Application Table (Fuse Block-I/P) | 
| Table 10: | Fuse Block - I/P, Wire Pinout | 
No.  | Fuse/Circuit Breaker  | Rating  | Description  | 
|---|---|---|---|
1  | ABS Fuse (JL9/JM4)  | 60A  | ABS Module  | 
2  | CRANK Fuse  | 40A  | CRANK Relay, PRNDL Switch  | 
3  | BAT #3 Fuse  | 60A  | TRAP ALERT, ONSTAR, LH HEATED SEAT, RH HEATED SEAT, HEATED MIRROR Fuses, REAR DEFOG and POWER SEATS Circuit Breakers  | 
4  | BAT #2 Fuse  | 60A  | HIGH BLOWER, HAZARD, STOP LAMPS, DOOR LOCKS, and POWER MIRRORS Fuses  | 
5  | IGN 1 Fuse  | 30A  | IGN Switch, IGN0:CLUSTER, PCM, & BCM, PARK LOCK, ABS, BTSI PARK LOCK, TURN SIGNALS, CORN LPS, SIR, CLUSTER:HUD, PCM, BCM, IGN RELAY, and CRANK SIGNAL, BCM, CLUSTER Fuses  | 
6  | COOL FAN 1 Fuse  | 25A  | COOL FAN 1 Relay, RH Cooling Fan  | 
7  | BAT #1 Fuse  | 60A  | RDO, HVAC, RFA, CLSTR, CEL TEL, ABS, BCM, INADV POWER BUS, RAP, REMOTE RDO PREMIUM SOUND, and AUX PWR Fuses  | 
8  | IGN 2 Fuse  | 60A  | RAP Relay, IGN Switch, RADIO, WIPER, BCM, POWER DROP, LOW BLOWER, HVAC, and CRUISE Fuses, PWR WINDOWS & SUNROOF Circuit Breaker  | 
9  | COOL FAN 2 RLY  | Cooling Fan - Right (during high fan speed operation), Cooling Fan - Left (during low fan speed operation  | |
10  | COOL FAN 3 RLY  | Cooling Fan - Right  | |
11  | CRANK RLY  | --  | PNP Switch, Powertrain Control Module (PCM), and Starter  | 
12  | COOL FAN 1 RLY  | --  | Cooling Fan - Left  | 
13  | IGN MAIN RLY  | --  | OXY SEN, ELEK IGN, F/INJR, TRANS, ENG EMIS Fuses, and A/C CLUTH Relay  | 
14  | Empty  | --  | --  | 
15  | A/C CLU RLY  | --  | A/C Compressor Clutch Coil and A/C CLU Diode  | 
16  | HORN RLY  | --  | Horns and Horn Switch  | 
17  | FOG LP RLY (Regal)  | --  | Fog Lamp - LF, Fog Lamp - RF, and Fog Lamp Switch  | 
18  | F/PMP SPD CONT RLY  | --  | Fuel Pump and Sender Assembly  | 
19  | F/PMP RLY  | --  | Fuel Pump and Sender Assembly  | 
20  | Empty  | --  | --  | 
21  | GEN Fuse  | 10A  | Generator  | 
22  | ECM Fuse  | 10A  | Powertrain Control Module (PCM)  | 
23  | A/C CLU Fuse  | 10A  | A/C CLUTCH Relay, A/C CLU Diode, A/C Compressor Clutch  | 
24  | COOL FAN 2 Fuse  | 15A  | COOL FAN 2 Relay, and COOL FAN 3 Relay  | 
25  | ELEK IGN Fuse  | 15A  | Ignition Control Module (ICM)  | 
26  | TRANS Fuse  | 10A  | 1-2 Shift Solenoid (1-2 SS) Valve, 2-3 Shift Solenoid (2-3 SS) Valve, and Torque Converter Clutch (TCC) Solenoid Valve  | 
27  | HORN Fuse  | 15A  | Horn Relay  | 
28  | F/INJR Fuse  | 15A  | Fuel Injectors (1 - 6)  | 
29  | OXY SEN Fuse  | 15A  | Heated Oxygen Sensor (HO2S) 1 and Heated Oxygen Sensor (HO2S) 2  | 
30  | ENG EMIS Fuse  | 10A  | Stop Lamp Switch, Evaporative Emissions (EVAP) Canister Vent Solenoid, Evaporative Emissions (EVAP) Canister Purge Solenoid, Mass Air Flow (MAF) Sensor, Secondary Air Injection (AIR) Solenoid (L36), and Supercharger Boost Control Solenoid (L67)  | 
31  | FOG LP Fuse (Regal)  | 10A  | FOG LP Relay  | 
32  | HDLP R Fuse  | 15A  | Headlamp Assembly - Right  | 
33  | R/CMPT REL Fuse  | 7.5A  | Backup Lamp Relay and Park/Neutral Position (PNP) Switch  | 
34  | LP PARK Fuse  | 20A  | Headlamp Switch, Park Lamp Relay, and Headlamp Relay  | 
35  | F/PMP Fuse  | 15A  | F/PMP Relay and F/PMP SPD CONT Relay (L67)  | 
36  | HDLP L Fuse  | 15A  | Headlamp Assembly - Left  | 
37  | Empty  | --  | --  | 
38  | Empty  | --  | --  | 
39  | Empty  | --  | --  | 
40  | Empty  | --  | --  | 
41  | Empty  | --  | --  | 
42  | Empty  | --  | --  | 
43  | Empty  | --  | --  | 
44  | Empty  | --  | --  | 
 
 | |||||||
|---|---|---|---|---|---|---|---|
Connector Part Information  | 
 
  | ||||||
Pin  | Wire Color  | Circuit No.  | Function  | ||||
A1  | BLK/WHT  | 451  | Ground (L36/L67)  | ||||
A2  | LT BLU  | 409  | Cooling Fan Motor Supply Voltage  | ||||
A3  | DK GRN  | 335  | Low Speed Cooling Fan Relay Control  | ||||
A4  | --  | --  | Not Used  | ||||
A5  | PNK  | 339  | Ignition 1 Voltage  | ||||
A6-A7  | --  | --  | Not Used  | ||||
A8  | ORN  | 2740  | Battery Positive Voltage  | ||||
A9  | PNK  | 1339  | Ignition 1 Voltage (JL9/JM4)  | ||||
A10  | GRY  | 532  | Cooling Fan Low Reference  | ||||
A11  | DK BLU  | 473  | High Speed Cooling Fan Relay Control  | ||||
A12  | --  | --  | Not Used  | ||||
B1  | BLK/WHT  | 451  | Ground (L36/L67)  | ||||
B1  | BLK  | 451  | Ground (LG8)  | ||||
B2  | PNK  | 439  | Ignition 1 Voltage  | ||||
B3 - B5  | --  | --  | Not Used  | ||||
B6  | ORN  | 2140  | Battery Positive Voltage  | ||||
B7  | PNK  | 239  | Ignition 1 Voltage  | ||||
B8  | --  | --  | Not Used  | ||||
B9  | BRN  | 436  | Air Pump Relay Control (LG8)  | ||||
B10-B11  | --  | --  | Not Used  | ||||
B12  | YEL/BLK  | 625  | Starter Enable Relay Control  | ||||
C1  | BLK/WHT  | 451  | Ground  | ||||
C2-C3  | --  | --  | Not Used  | ||||
C4  | PNK  | 339  | Ignition 1 Voltage  | ||||
C5  | PNK  | 839  | Ignition 1 Voltage  | ||||
C8  | --  | --  | Not Used  | ||||
C9  | PNK  | 639  | Ignition 1 Voltage  | ||||
C10  | --  | --  | Not Used  | ||||
C11  | BLK  | 1050  | Ground  | ||||
C12  | --  | --  | Not Used  | ||||
D1-D3  | --  | --  | Not Used  | ||||
D4  | PNK  | 339  | Ignition 1 Voltage (L67)  | ||||
D5  | PNK  | 839  | Ignition 1 Voltage  | ||||
D8  | ORN  | 540  | Battery Positive Voltage  | ||||
D9  | PPL  | 806  | Crank Voltage  | ||||
D10  | WHT  | 1310  | EVAP Canister Vent Solenoid Control  | ||||
D11-D12  | --  | --  | Not Used  | ||||
E1-E2  | --  | --  | Not Used  | ||||
E3  | DK GRN/WHT  | 465  | Fuel Pump Relay Control  | ||||
E4-E7  | --  | --  | Not Used  | ||||
E8  | PPL  | 1500  | Ignition 0 Voltage  | ||||
E9  | PNK  | 1039  | Ignition 1 Voltage  | ||||
E10  | ORN  | 2140  | Battery Positive Voltage  | ||||
E11-E12  | --  | --  | Not Used  | ||||
F1-F6  | --  | --  | Not Used  | ||||
F7  | DK GRN  | 59  | A/C Compressor Clutch Supply Voltage  | ||||
F8  | DK GRN/ WHT  | 459  | A/C Compressor Clutch Relay Control  | ||||
F9  | --  | --  | Not Used  | ||||
F10  | PPL  | 6  | Starter Solenoid Crank Voltage  | ||||
F11  | --  | --  | Not Used  | ||||
F12  | WHT  | 504  | Cooling Fan Motor Supply Voltage  | ||||
 
 | |||||||
|---|---|---|---|---|---|---|---|
Connector Part Information  | 
 
  | ||||||
Pin  | Wire Color  | Circuit No.  | Function  | ||||
A1  | ORN  | 840  | Battery Positive Voltage  | ||||
A2-A3  | --  | --  | Not Used  | ||||
A4  | PNK  | 1339  | Ignition 1 Voltage  | ||||
A5  | --  | --  | Not Used  | ||||
A6  | --  | --  | Not Used  | ||||
A7  | PPL  | 1500  | Ignition 0 Voltage  | ||||
A8-A10  | --  | --  | Not Used  | ||||
A11  | WHT  | 1310  | EVAP Canister Vent Solenoid Output  | ||||
A12  | --  | --  | Not Used  | ||||
B1  | ORN/BLK  | 840  | Battery Positive Voltage  | ||||
B2-B3  | --  | --  | Not Used  | ||||
B4  | GRY  | 120  | Fuel Pump Supply Voltage  | ||||
B5-B12  | --  | --  | Not Used  | ||||
C1  | --  | --  | Not Used  | ||||
C2  | PNK  | 439  | Ignition 1 Voltage  | ||||
C3-C12  | --  | --  | Not Used  | ||||
D1  | --  | --  | Not Used  | ||||
D2  | PNK  | 439  | Ignition 1 Voltage  | ||||
D3-D8  | --  | --  | Not Used  | ||||
D9  | PPL  | 806  | Crank Voltage  | ||||
D10-D11  | --  | --  | Not Used  | ||||
D12  | ORN  | 57  | Left Cornering Lamp Supply Voltage  | ||||
E1  | ORN  | 1340  | Battery Positive Voltage  | ||||
ORN  | 1340  | Battery Positive Voltage  | |||||
E2  | PNK  | 339  | Ignition 1 Voltage  | ||||
E3-E5  | --  | --  | Not Used  | ||||
E6  | PNK  | 1200  | Headlamp High Beam Signal  | ||||
PNK  | 1200  | Headlamp High Beam Signal  | |||||
E7-E8  | --  | --  | Not Used  | ||||
E9  | BLK  | 58  | Right Cornering Lamp Supply Voltage  | ||||
E10-E12  | --  | --  | Not Used  | ||||
F1  | ORN  | 1340  | Battery Positive Voltage  | ||||
ORN  | 1340  | Battery Positive Voltage  | |||||
F2  | PNK  | 339  | Ignition 1 Voltage  | ||||
F3-F4  | --  | --  | Not Used  | ||||
F5  | DK GRN/ WHT  | 1317  | Fog Lamp Relay Control (Regal)  | ||||
F6  | PPL  | 34  | Front Fog Lamps Supply Voltage (Regal)  | ||||
F7  | BLK  | 28  | Horn Relay Control  | ||||
BLK  | 28  | Horn Relay Control  | |||||
F8  | BRN  | 9  | Park Lamp Supply Voltage  | ||||
F9  | --  | --  | Not Used  | ||||
F10  | DK BLU  | 1201  | Headlamp Low Beam Signal  | ||||
F11  | LT BLU  | 14  | Left Turn Signal Lamps Supply Voltage  | ||||
F12  | DK BLU  | 15  | Right Turn Signal Lamps Supply Voltage  | ||||
 
 | |||||||
|---|---|---|---|---|---|---|---|
Connector Part Information  | 
 
  | ||||||
Pin  | Wire Color  | Circuit No.  | Function  | ||||
A1-A4  | --  | --  | Not Used  | ||||
A5  | BRN  | 9  | Park Lamp Supply Voltage  | ||||
A6  | PPL/WHT  | 34  | Fog Lamps Supply Voltage (Regal)  | ||||
A7  | PNK/BLK  | 1200  | Headlamp High Beam Signal  | ||||
A8-A9  | --  | --  | Not Used  | ||||
A10  | DK BLU/ WHT  | 1201  | Headlamp Low Beam Signal  | ||||
A11  | LT BLU  | 14  | Left Turn Signal Lamps Supply Voltage  | ||||
A12  | DK BLU  | 15  | Right Turn Signal Lamps Supply Voltage  | ||||
B1-B4  | --  | --  | Not Used  | ||||
B5  | BRN  | 9  | Park Lamp Supply Voltage  | ||||
B6  | PPL  | 34  | Fog Lamps Supply Voltage (Regal)  | ||||
B7  | PNK  | 1200  | Headlamp High Beam Signal  | ||||
B8-B12  | --  | --  | Not Used  | ||||
C1-C4  | --  | --  | Not Used  | ||||
C5  | BRN/WHT  | 9  | Park Lamp Supply Voltage  | ||||
C8  | DK GRN  | 29  | Horn Control  | ||||
C9-C12  | --  | --  | Not Used  | ||||
D1-D4  | --  | --  | Not Used  | ||||
D5  | BRN  | 9  | Park Lamp Supply Voltage  | ||||
D8-D10  | --  | --  | Not Used  | ||||
D11  | DK BLU  | 1201  | Headlamp Low Beam Signal  | ||||
D12  | ORN  | 57  | Left Cornering Lamp Supply Voltage  | ||||
E1  | ORN  | 1640  | Battery Positive Voltage  | ||||
E2  | ORN/BLK  | 1740  | Battery Positive Voltage  | ||||
E3-E10  | --  | --  | Not Used  | ||||
E11  | BLK  | 58  | Right Cornering Lamp Supply Voltage  | ||||
E12  | --  | --  | Not Used  | ||||
F1  | ORN/BLK  | 1640  | Battery Positive Voltage  | ||||
F2  | ORN  | 1740  | Battery Positive Voltage  | ||||
F3-F12  | --  | --  | Not Used  | ||||
 
 | |||||||
|---|---|---|---|---|---|---|---|
Connector Part Information  | 
 
  | ||||||
Pin  | Wire Color  | Circuit No.  | Function  | ||||
A  | RED  | 242  | Battery Positive Voltage  | ||||
B  | RED  | 142  | Battery Positive Voltage  | ||||
RED  | 142  | Battery Positive Voltage (w/RAP)  | |||||
 
 | |||||||
|---|---|---|---|---|---|---|---|
Connector Part Information  | 
 
  | ||||||
Pin  | Wire Color  | Circuit No.  | Function  | ||||
A  | --  | --  | Not Used  | ||||
B  | RED  | 42  | Battery Positive Voltage  | ||||
 
 | |||||||
|---|---|---|---|---|---|---|---|
Connector Part Information  | 
 
  | ||||||
Pin  | Wire Color  | Circuit No.  | Function  | ||||
A  | RED  | 742  | Battery Positive Voltage  | ||||
B  | RED  | 642  | Battery Positive Voltage  | ||||
 
 | |||||||
|---|---|---|---|---|---|---|---|
Connector Part Information  | 
 
  | ||||||
Pin  | Wire Color  | Circuit No.  | Function  | ||||
A  | --  | --  | Not Used  | ||||
B  | RED  | 1442  | Battery Positive Voltage  | ||||
RED  | 1442  | Battery Positive Voltage  | |||||
Fuse/Circuit Breaker  | Rating  | Description  | 
|---|---|---|
PWR WINDOWS PWR SUNROOF Circuit Breaker  | 30 AMP  | LF Window Switch (w/o CF5) and Sunroof Module (Express Open) (CF5)  | 
REAR DEFOG Circuit Breaker  | 30 AMP  | Rear Window Defogger Relay  | 
POWER SEATS Circuit Breaker  | 30 AMP  | Driver Seat Adjuster Switch (AG1) and Passenger Seat Adjuster Switch (AG2)  | 
PARK LOCK  | 10 AMP  | Automatic Transaxle Control (BTSI)  | 
PCM, BCM, U/H RELAY  | 10 AMP  | CRANK and IGN MAIN Relays, Body Control Module (BCM) and Powertrain Control Module (PCM)  | 
RADIO PREM SOUND  | 15 AMP  | Low Frequency Audio Amplifier (U85) and Remote CD Player  | 
POWER MIRRORS  | 2 AMP  | Outside Remote Control Rearview Mirror Switch  | 
PANEL DIMMING  | 7.5 AMP  | Radio, Headlamp Switch, Instrument Cluster and Heater-A/C Control (CJ3)  | 
IGN 0: CLUSTER, PCM & BCM  | 10 AMP  | Powertrain Control Module (PCM), Body Control Module (BCM) and Instrument Cluster  | 
INADV POWER BUS  | 15 AMP  | Body Control Module (BCM) and Accessory Time Delay (RAP) Relay (KP2)  | 
DOOR LOCKS  | 20 AMP  | Rear Compartment Lid Release Relay and Body Control Module (BCM)  | 
TRAP ALERT  | --  | Not Used  | 
TAIL LAMPS, LIC LAMPS  | 15 AMP  | PANEL DIMMING Fuse, Radio, Headlamp Switch, Instrument Cluster, Heater-A/C Control (CJ3), LR and RR Marker Lamp, LH and RH Tail/Stop/Turn Signal Lamp, LR and RR Park Lamps, Rear License Lamps  | 
RADIO  | 2 AMP  | Radio  | 
HEATED MIRROR  | --  | Not Used  | 
CRUISE  | 10 AMP  | Cruise Control Switch (K34), Cruise Control Module (K34), and Cruise Control Release Switch  | 
CLUSTER  | 10 AMP  | Instrument Cluster  | 
CIGAR LTR  | 20 AMP  | Power Drop Connector, Cigar Lighter and Accessory Power Receptacle (If equipped)  | 
STOP LAMPS  | 15 AMP  | Stop Lamps Switch  | 
ONSTAR  | 15 AMP  | Vehicle Communications Interface Module (VCIM)  | 
FRT PARK LPS  | 10 AMP  | LH and RH Headlamps  | 
POWER DROP  | 10 AMP  | Console Compartment Lamp Switch (Regal) and Power Drop Connector  | 
CRANK SIGNAL, BCM, CLUSTER  | 10 AMP  | Instrument Cluster, Body Control Module (BCM) and Powertrain Control Module (PCM)  | 
HVAC  | 10 AMP  | Vacuum Control Assembly (CJ2), Rear Window Defogger Relay, LH and RH Air Temperature Actuators, HVAC Control Module, Inside Rearview Mirror (C79), Driver and Passenger Heated Seat Switches (KA1)  | 
BTSI PARK LOCK (REGAL)  | 10 AMP  | Stop Lamp Switch (Century), A/T Shift Lock Control Switch (Regal), and Brake To Shift Relay  | 
AIR BAG  | 10 AMP  | Inflatable Restraint Sensing and Diagnostic Module (SDM)  | 
BCM PWR  | 10 AMP  | Body Control Module (BCM)  | 
HAZARD  | 15 AMP  | Turn Signal Switch  | 
LH HEATED SEAT  | 15 AMP  | Driver Seat Heater Control Module (KA1)  | 
BCM ACC  | 10 AMP  | Body Control Module (BCM)  | 
LOW BLOWER  | 20 AMP  | HVAC Control Module (CJ3)  | 
ABS  | 10 AMP  | Electronic Brake Control Module (EBCM) (JL9/JM4)  | 
TURN SIGNALS, CORN LPS  | 10 AMP  | Turn Signal Switch  | 
RADIO, HVAC, RFA, CLUSTER CEL TEL  | 15 AMP  | HVAC Control Module, Radio, Data Link Connector (DLC), Remote Control Door Lock Receiver (RCDLR) and Instrument Cluster  | 
HIGH BLOWER  | 30 AMP  | Blower Motor Resistor Assembly (CJ3) and Blower Motor Control Processor (CJ2)  | 
RH HEATED SEAT  | 15 AMP  | Passenger Heated Seat Control Module (Regal)  | 
STRG WHL CONT  | 2 AMP  | Inflatable Restraint Steering Wheel Module Coil, LH and RH Radio Control Switches (UK3)  | 
WIPER  | 25 AMP  | Windshield Wiper Motor and Windshield Wiper/Washer Switch  | 
Pin  | Wire Color  | Circuit No.  | Function  | 
|---|---|---|---|
A1-A2  | --  | --  | Not Used  | 
A3  | YEL  | 5  | Crank Voltage  | 
A4  | PPL  | 806  | Crank Voltage  | 
A5-A6  | --  | --  | Not Used  | 
A7  | DK GRN  | 500  | Ignition 0 Voltage  | 
A8  | PPL  | 1500  | Ignition 0 Voltage  | 
A9  | --  | --  | Not Used  | 
A10  | PPL  | 1600  | Ignition 0 Voltage (Regal)  | 
B1  | ORN  | 300  | Ignition 3 Voltage  | 
B2  | BRN  | 141  | Ignition 3 Voltage (CJ3)  | 
B3  | --  | --  | Not Used  | 
B4  | BRN  | 41  | Ignition 3 Voltage  | 
B5  | --  | --  | Not Used  | 
B6  | BRN  | 341  | Ignition 3 Voltage  | 
B7-B10  | --  | --  | Not Used  | 
C1  | PNK  | 3  | Ignition 1 Voltage  | 
C2  | PNK  | 1339  | Ignition 1 Voltage  | 
C3  | --  | --  | Not Used  | 
C4  | PNK  | 1439  | Ignition 1 Voltage  | 
PNK  | 1439  | Ignition 1 Voltage  | |
C5-C10  | --  | --  | Not Used  | 
D1  | PNK  | 3  | Ignition 1 Voltage  | 
D2  | PNK  | 539  | Ignition 1 Voltage  | 
D3  | --  | --  | Not Used  | 
D4  | YEL  | 1139  | Ignition 1 Voltage  | 
D5  | --  | --  | Not Used  | 
D6  | PNK  | 39  | Ignition 1 Voltage  | 
D7-D9  | --  | --  | Not Used  | 
D10  | PNK  | 439  | Ignition 1 Voltage  | 
E1  | RED  | 242  | Battery Positive Voltage  | 
E2  | ORN  | 640  | Battery Positive Voltage  | 
E3  | --  | --  | Not Used  | 
E4  | ORN  | 2340  | Battery Positive Voltage  | 
E5  | --  | --  | Not Used  | 
E6  | ORN  | 2540  | Battery Positive Voltage  | 
ORN  | 2540  | Battery Positive Voltage  | |
E7  | --  | --  | Not Used  | 
E8  | ORN  | 240  | Battery Positive Voltage  | 
ORN  | 240  | Battery Positive Voltage (RAP)  | |
E9  | --  | --  | Not Used  | 
E10  | ORN  | 2940  | Battery Positive Voltage (U85)  | 
F1  | RED  | 642  | Battery Positive Voltage  | 
F2  | ORN  | 40  | Battery Positive Voltage  | 
F3  | --  | --  | Not Used  | 
F4  | ORN  | 1840  | Battery Positive Voltage  | 
F5  | --  | --  | Not Used  | 
F6  | ORN  | 140  | Battery Positive Voltage  | 
F7  | --  | --  | Not Used  | 
F8  | ORN  | 1540  | Battery Positive Voltage  | 
F9  | --  | --  | Not Used  | 
F10  | ORN  | 1140  | Battery Positive Voltage  | 
G1  | RED  | 742  | Battery Positive Voltage (Regal)  | 
G2  | ORN  | 1940  | Battery Positive Voltage (Regal)  | 
G3  | --  | --  | Not Used  | 
G4  | ORN  | 1440  | Battery Positive Voltage (Regal)  | 
G5  | RED  | 742  | Battery Positive Voltage (Century)  | 
G6  | ORN  | 1240  | Battery Positive Voltage  | 
G7-G10  | --  | --  | Not Used  | 
H1  | GRY  | 8  | Instrument Panel Lamps Dimmer Switch Signal (UK3)  | 
H2  | GRY/BLK  | 1458  | Instrument Panel Lamp Supply Voltage 4 (UK3)  | 
H3-H4  | --  | --  | Not Used  | 
H5  | LT BLU  | 74  | Park Lamp Switch Signal  | 
LT BLU  | 74  | Park Lamp Switch Signal  | |
H6  | BRN  | 9  | Park Lamp Supply Voltage  | 
H7  | --  | --  | Not Used  | 
H8  | BRN/WHT  | 301  | Rear Park Lamps Supply Voltage  | 
H9  | BRN/WHT  | 301  | Rear Park Lamps Supply Voltage  | 
H10  | YEL  | 32  | Park Lamps Supply Voltage  | 
J1  | BRN  | 4  | Accessory Voltage  | 
J2  | YEL  | 243  | Accessory Voltage  | 
J3  | --  | --  | Not Used  | 
J4  | YEL  | 443  | Accessory Voltage  | 
J5  | --  | --  | Not Used  | 
J6  | YEL  | 643  | Accessory Voltage  | 
YEL  | 643  | Accessory Voltage (Regal)  | |
J7  | DK BLU  | 75  | RAP Relay Switch Supply Voltage (RAP)  | 
J8  | YEL  | 43  | Accessory Voltage  | 
YEL  | 43  | Accessory Voltage (RAP)  | |
J9-J10  | --  | --  | Not Used  | 
K1  | BLK  | 1550  | Ground  | 
K2  | LT GRN  | 1055  | Low Tire Pressure Reset Switch Signal  | 
L1  | BRN  | 4  | Accessory Voltage (w/o RAP)  | 
L1  | DK BLU  | 75  | RAP Relay Switch Supply Voltage (RAP)  | 
L2  | YEL  | 143  | Accessory Voltage  | 
M1  | RED  | 742  | Battery Positive Voltage  | 
M2  | ORN  | 1040  | Battery Positive Voltage  | 
N1  | RED  | 742  | Battery Positive Voltage  | 
N2  | ORN  | 340  | Battery Positive Voltage  | 
P1-P3  | --  | --  | Not Used  |