| Table 1: | A/C Compressor Clutch | 
| Table 2: | A/C Refrigerant Pressure Sensor | 
| Table 3: | Air Temperature Actuator - Left | 
| Table 4: | Air Temperature Actuator - Right | 
| Table 5: | Air Temperature Sensor - Inside | 
| Table 6: | Ambient Outside Air Temperature Sensor | 
| Table 7: | Blower Motor | 
| Table 8: | Blower Motor Control Processor | 
| Table 9: | HVAC Control Module | 
| Table 10: | Sunload Sensor | 
| Table 11: | Vacuum Control Assembly | 
 
 | |||||||
|---|---|---|---|---|---|---|---|
Connector Part Information  | 
 
  | ||||||
Pin  | Wire Color  | Circuit No.  | Function  | ||||
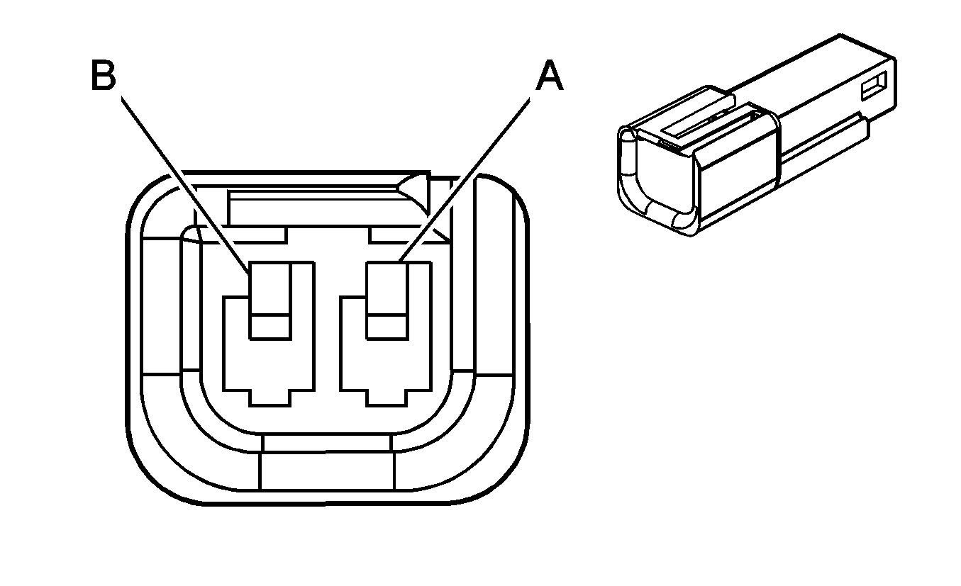
A  | BLK  | 1050  | Ground  | ||||
B  | DK GRN  | 59  | A/C Compressor Clutch Supply Voltage  | ||||
 
 | |||||||
|---|---|---|---|---|---|---|---|
Connector Part Information  | 
 
  | ||||||
Pin  | Wire Color  | Circuit No.  | Function  | ||||
A  | BLK  | 2751  | Low Reference  | ||||
B  | GRY  | 474  | 5-Volt Reference  | ||||
C  | RED/BLK  | 380  | A/C Refrigerant Pressure Sensor Signal  | ||||
 
 | |||||||
|---|---|---|---|---|---|---|---|
Connector Part Information  | 
 
  | ||||||
Pin  | Wire Color  | Circuit No.  | Function  | ||||
5  | BRN  | 41  | Ignition 3 Voltage  | ||||
6  | DK BLU  | 1199  | Air Temperature Door Control  | ||||
7  | YEL  | 61  | Low Reference  | ||||
8  | --  | --  | Not Used  | ||||
9  | BRN/WHT  | 1218  | Left Air Temperature Door Position  | ||||
10  | PNK/BLK  | 1217  | 5-Volt Reference  | ||||
 
 | |||||||
|---|---|---|---|---|---|---|---|
Connector Part Information  | 
 
  | ||||||
Pin  | Wire Color  | Circuit No.  | Function  | ||||
5  | BRN  | 41  | Ignition 3 Voltage  | ||||
6  | WHT/BLK  | 1236  | Right Air Temperature Door Control  | ||||
7  | YEL  | 61  | Low Reference  | ||||
8  | --  | --  | Not Used  | ||||
9  | YEL  | 1791  | Right Air Temperature Door Position  | ||||
10  | PNK/BLK  | 1217  | 5-Volt Reference  | ||||
 
 | |||||||
|---|---|---|---|---|---|---|---|
Connector Part Information  | 
 
  | ||||||
Pin  | Wire Color  | Circuit No.  | Function  | ||||
A  | DK GRN  | 734  | Inside Air Temperature Sensor Signal  | ||||
B  | YEL  | 61  | Low Reference  | ||||
 
 | |||||||
|---|---|---|---|---|---|---|---|
Connector Part Information  | 
 
  | ||||||
Pin  | Wire Color  | Circuit No.  | Function  | ||||
A  | LT GRN/BLK  | 735  | Ambient Air Temperature Sensor Signal  | ||||
B  | YEL  | 61  | Low Reference  | ||||
 
 | |||||||
|---|---|---|---|---|---|---|---|
Connector Part Information  | 
 
  | ||||||
Pin  | Wire Color  | Circuit No.  | Function  | ||||
A  | PPL  | --  | Blower Motor Supply Voltage  | ||||
B  | BLK  | --  | Ground  | ||||
 
 | |||||||||||
|---|---|---|---|---|---|---|---|---|---|---|---|
Connector Part Information  | 
 
 
 
  | ||||||||||
Pin  | Wire Color  | Circuit No.  | Function  | ||||||||
A  | BLK  | 150  | Ground  | ||||||||
B  | ORN  | 40  | Battery Positive Voltage  | ||||||||
C  | GRY/BLK  | 754  | Blower Motor Speed Control  | ||||||||
D  | --  | --  | Not Used  | ||||||||
 
 | |||||||
|---|---|---|---|---|---|---|---|
Connector Part Information  | 
 
  | ||||||
Pin  | Wire Color  | Circuit No.  | Function  | ||||
C1  | BLK  | 1450  | Ground  | ||||
C2  | LT BLU/BLK  | 590  | Sunload Sensor Signal  | ||||
C3  | YEL  | 1791  | Right Air Temperature Door Position  | ||||
C4  | --  | --  | Not Used  | ||||
C5  | BRN  | 41  | Ignition 3 Voltage  | ||||
C6  | WHT/BLK  | 1236  | Right Air Temperature Door Control  | ||||
C7  | DK BLU  | 1199  | Air Temperature Door Control  | ||||
C8  | BRN/WHT  | 1218  | Left Air Temperature Door Position  | ||||
C9  | --  | --  | Not Used  | ||||
C10  | PNK/BLK  | 1217  | 5-Volt Reference  | ||||
C11  | GRY/BLK  | 754  | Blower Motor Speed Control  | ||||
C12  | ORN  | 640  | Battery Positive Voltage  | ||||
C13-C15  | --  | --  | Not Used  | ||||
C16  | GRY  | 8  | Instrument Panel Lamps Dimmer Switch Signal  | ||||
D1  | YEL  | 61  | Low Reference  | ||||
D2  | DK GRN  | 734  | Inside Air Temperature Sensor Signal  | ||||
D3  | LT GRN/BLK  | 735  | Ambient Air Temperature Sensor Signal  | ||||
D4-D7  | --  | --  | Not Used  | ||||
D8  | TAN  | 363  | Recirculation Mode Valve Solenoid Control  | ||||
D9  | PPL  | 361  | Mix-Blend Mode Valve Solenoid Control  | ||||
D10  | RED  | 362  | Lower Mode Valve Solenoid Control  | ||||
D11  | LT GRN/BLK  | 366  | Defrost Mode Valve Solenoid Control  | ||||
D12  | WHT  | 1038  | HVAC Class 2 Serial Data  | ||||
D13  | LT BLU  | 706  | Upper Mode Valve Solenoid Control  | ||||
D14  | --  | --  | Not Used  | ||||
D15  | WHT  | 193  | Rear Defog Relay Control  | ||||
D16  | --  | --  | Not Used  | ||||
 
 | |||||||
|---|---|---|---|---|---|---|---|
Connector Part Information  | 
 
  | ||||||
Pin  | Wire Color  | Circuit No.  | Function  | ||||
A  | LT BLU/BLK  | 590  | Sunload Sensor Signal  | ||||
B  | YEL  | 61  | Low Reference  | ||||
 
 | |||||||
|---|---|---|---|---|---|---|---|
Connector Part Information  | 
 
  | ||||||
Pin  | Wire Color  | Circuit No.  | Function  | ||||
1  | LT GRN/BLK  | 366  | Defrost Mode Valve Solenoid Control  | ||||
2  | RED  | 362  | Lower Mode Valve Solenoid Control  | ||||
3  | PPL  | 361  | Mix-blend Mode Valve Solenoid Control  | ||||
4  | TAN  | 363  | Recirculation Mode Valve Solenoid Control  | ||||
5  | LT BLU  | 706  | Upper Mode Valve Solenoid Control  | ||||
6  | BRN  | 41  | Ignition 3 Voltage  | ||||