GM Service Manual Online
For 1990-2009 cars only

Tools Required

J 25070 Heat Gun

Removal Procedure

  1. When replacing an emblem/nameplate do the following:
  2. 1.1. Use tape to protect the mounting surface during removal.
    1.2. Use tape for alignment marks for installation of the emblem/nameplate.
  3. To remove an emblem/nameplate, heat the emblem/nameplate using a J 25070 .
  4. Apply the heat using a circular motion for about 30 seconds holding the J 25070 approximately 152 mm (6 in) from the surface.

  5. Object Number: 321645  Size: SH

    Notice: Use a plastic, flat-bladed tool to prevent paint damage when removing an emblem/name plate.

  6. Use a plastic, flat-bladed tool to remove the emblem/nameplate from the panel surface.
  7. When replacing, remove all adhesive as follows:
  8. • For body panels use a 3M™ Scotch Brite molding adhesive remover disk 3M™ P/N 07501 or equivalent.
    • For plastic panels use a lint free cloth and Varnish Makers and Painters (VMP) naphtha or a 50/50 mixture by volume of isopropyl alcohol and water to remove the adhesive.

Installation Procedure

    Important: Apply the emblem/nameplate in an environment that is free from dust or other dirt that could come into contact with the sticky backing. Foreign material may cause improper adhesion.

  1. Clean the area where the emblem/nameplate will be installed.
  2. Use a lint free cloth and Varnish Makers and Painters (VMP) naphtha or a 50/50 mixture by volume of isopropyl alcohol and water to clean the area.

  3. Dry the area thoroughly.
  4. If the location of the emblem/nameplate has not been marked, apply tape and mark the location as shown below.

  5. Object Number: 608837  Size: SH
  6. For the SUPERCHARGED emblem/nameplate install as shown.

  7. Object Number: 814111  Size: SH
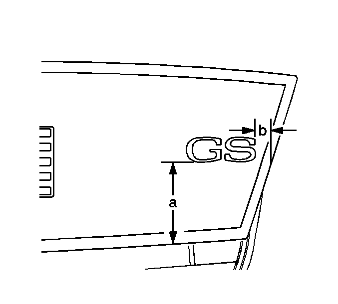
  8. For the GS emblem/nameplate install to the following dimensions:
  9. • Dimension (a) is 85.725 mm (3.375 in) from the bottom edge of the rear compartment lid to the bottom of the emblem/nameplate.
    • Dimension (b) is 31.750 mm (1.250 in) from the right edge of the rear compartment lid to the edge of the emblem/nameplate.

    Object Number: 610047  Size: SH
  10. For the LS emblem/nameplate install as shown.
  11. Heat the mounting surface to approximately 27-41°C (80-105°F) using the J 25070 , if necessary.
  12. Ensure that the temperature of the emblem/nameplate is approximately 29-32°C (85-90°F).
  13. Important: Do not touch the adhesive backing on the emblem/nameplate.

  14. Remove the protective liner from the back of the emblem/nameplate.
  15. Position the emblem/nameplate to the location marks and press the emblem/nameplate to the mounting surface.
  16. Apply equal pressure along the emblem/nameplate in order to uniformly bond the item to the mounting surface.
  17. Remove the protective tape from the mounting surface.