GM Service Manual Online
For 1990-2009 cars only
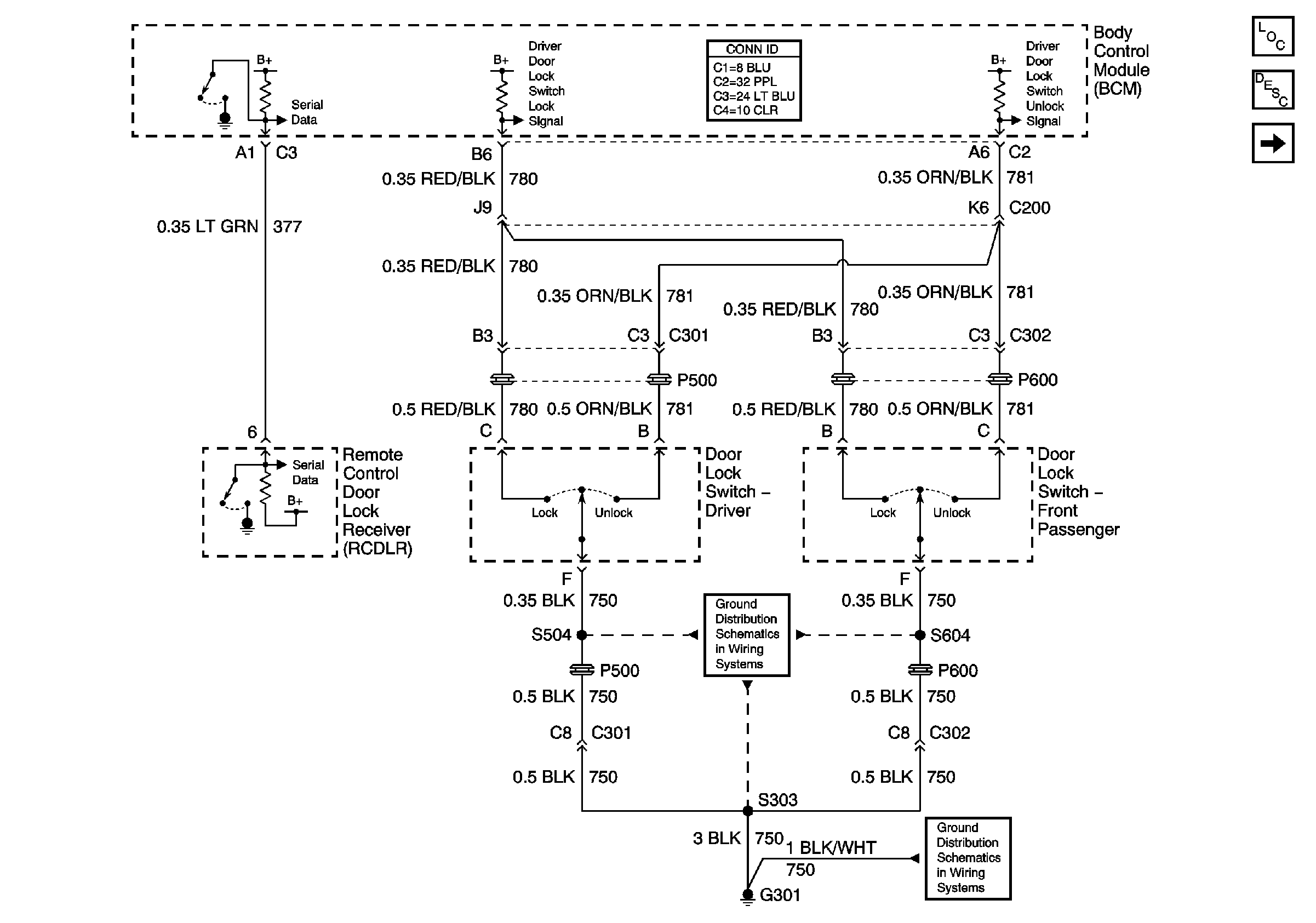
Figure 1:

Switches


Object Number: 819876  Size: FS
Master Electrical Component List
Power Door Locks Description and Operation
Actuators
G301, Page 1 of 2
G301, Page 1 of 2
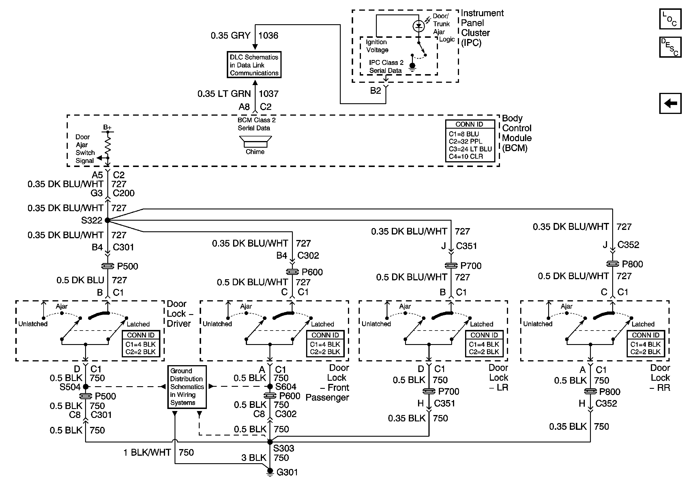
Figure 2:

Actuators


Object Number: 874286  Size: FS
Master Electrical Component List
Power Door Locks Description and Operation
Ajar Indicator
Switches
Fuse Block-Underhood Batt 2 Fuse, Fuse Block-I/P HIGH BLOWER, HAZARD, STOP LAMPS, DOOR LOCKS, and POWER MIRRORS Fuses
Fuse Block-Underhood Batt 2 Fuse, Fuse Block-I/P HIGH BLOWER, HAZARD, STOP LAMPS, DOOR LOCKS, and POWER MIRRORS Fuses
Figure 3:

Ajar Indicator


Object Number: 874281  Size: FS
Master Electrical Component List
Power Door Locks Description and Operation
Actuators
Data Link Connector (DLC) Schematics
G301, Page 1 of 2