To replace a headlamp bulb, do the following:
- Open the hood. See
Hood Release
for
more information.
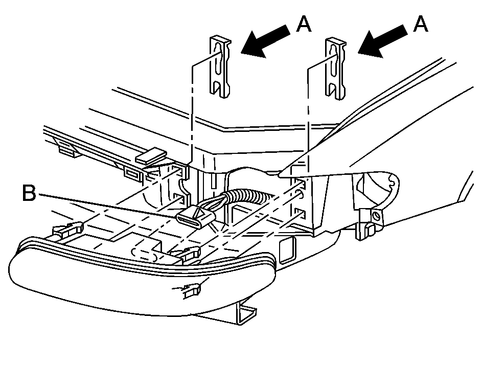
- Pull up on the headlamp retainers (A) to
release the assembly locator tabs.
- Disconnect the electrical connector (B) from the headlamp assembly.
- Slide the headlamp assembly out of the slots.
- Remove the rubber access cover from behind the bulb
being replaced.
- Turn the bulb socket one-quarter turn and remove it from the headlamp
assembly.
- Lift the plastic locking tab on the electrical connector and pull the
connector from the headlamp bulb socket.
- Connect the new headlamp bulb to the electrical connector, making sure
the connector tab snaps into place.
- Insert the bulb socket into the headlamp assembly.
- Reverse all the steps to reassemble the headlamp assembly, then check
the lamps.