GM Service Manual Online
For 1990-2009 cars only
Makes
🢒
Buick
🢒
2005
🢒
Century
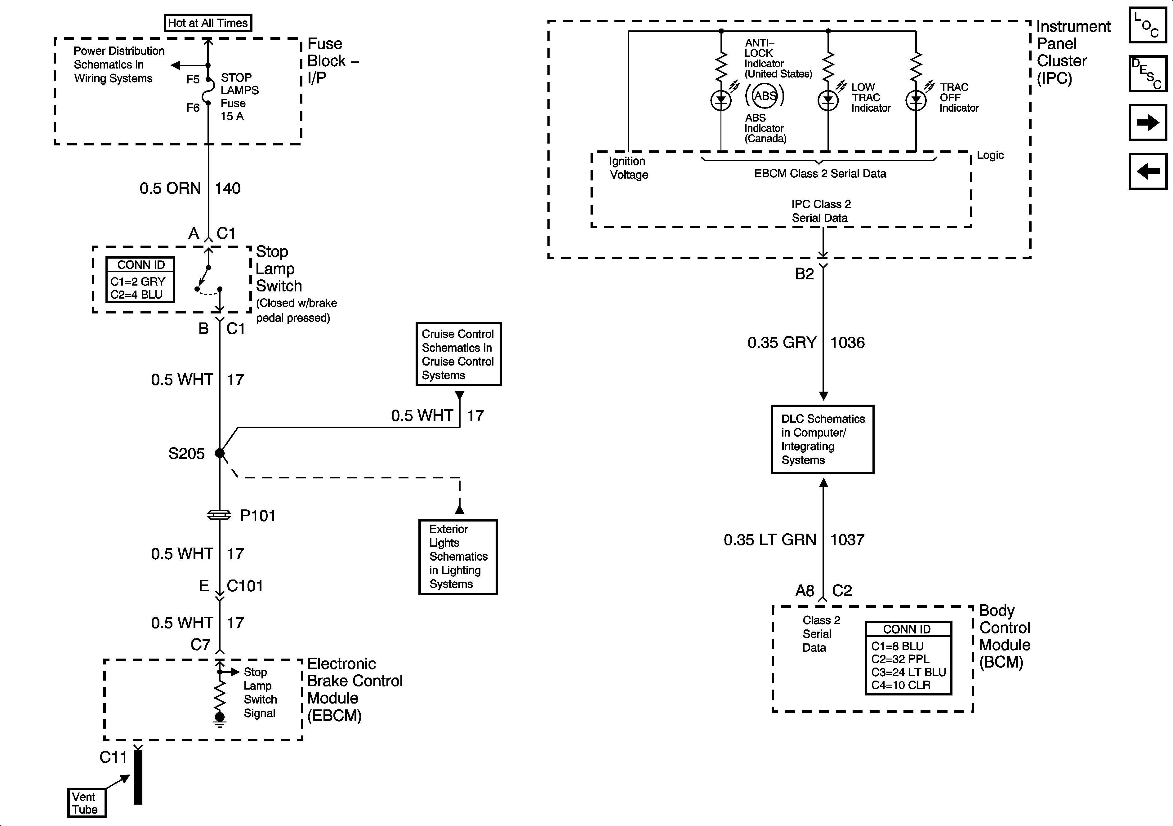
🢒 Indicators and Stop Lamp
Indicators and Stop Lamp
Indicators and Stop Lamp
Master Electrical Component List
ABS Description and Operation
Wheel Speed Sensors
Power, Ground, and Serial Data
Fuse Block - Underhood BAT 2 Fuse, Fuse Block - I/P HI/BLWR, HAZRD, STOP LAMPS, DR/LCK, and PWR/MIR Fuses
Cruise Control Schematics
Stop and Rear Turn Lamps
Data Link Connector (DLC) Schematics