GM Service Manual Online
For 1990-2009 cars only
Makes
🢒
Buick
🢒
2005
🢒
Century
🢒 Tire Pressure Monitoring Systems Schematics
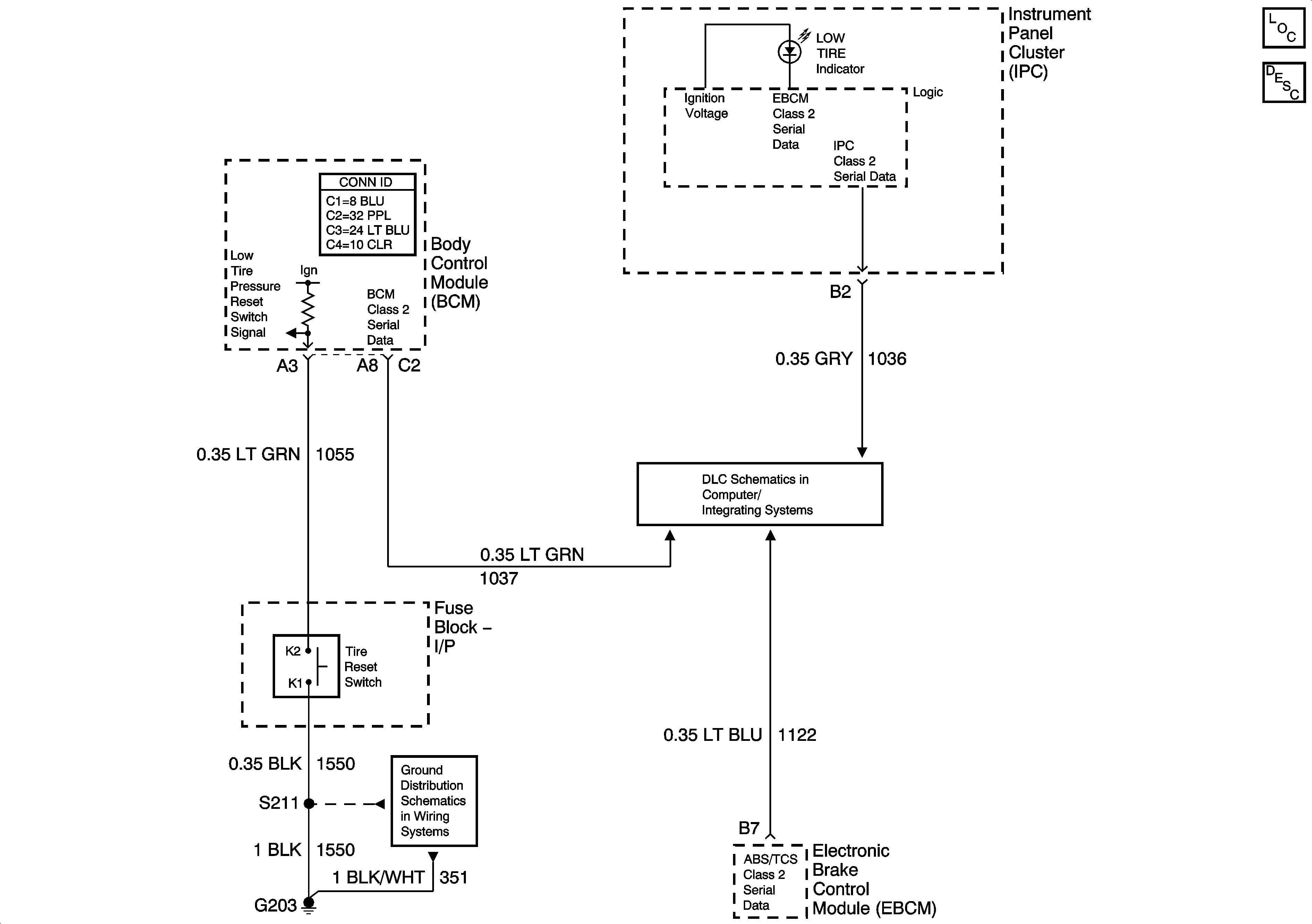
Tire Pressure Monitoring Systems Schematics
Master Electrical Component List
Tire Pressure Monitor Description and Operation
Data Link Connector (DLC) Schematics
G203, Page 1 of 2