GM Service Manual Online
For 1990-2009 cars only

DOOR TRIM PULL STRAP & BEZEL ASSEMBLY COMES LOOSE

SUBJECT: DOOR TRIM PULL STRAP AND BEZEL ASSEMBLY COMES LOOSE (APPLY ADHESIVE OR REPLACE MOLDING ASSEMBLY)

MODELS: 1994-96 BUICK ROADMASTER

CONDITION:

THE DOOR PULL STRAP MAY BECOME LOOSE ON THE DOOR TRIM PANEL AND PULL THE BEZEL ASSEMBLY AWAY FROM THE TRIM PANEL (SEE FIGURE 1). THIS RESULTS IN BREAKING THE "HEAT STAKED TABS" FOR THE BEZEL ASSEMBLY FROM THE BACK SIDE OF THE TRIM PANEL.

CAUSE:

THE ATTACHING SCREW FOR THE PULL STRAP MAY HAVE BEEN IMPROPERLY INSTALLED AND THREADED BETWEEN THE PLASTIC ATTACHING CLIP AND THE DOOR INNER PANEL, MISSING THE ATTACHING CLIP HOLE. PROLONGED USE OF THE STRAP MAY ALLOW THE SCREW TO DISENGAGE AND THE BEZEL ASSEMBLY TO PULL LOOSE FROM THE "HEAT STAKED TABS" ON THE BACK SIDE OF THE TRIM PANEL.

CORRECTION:

MAY VARY, DEPENDING ON THE CONDITION OF THE BEZEL ASSEMBLY.

1. IF THE BEZEL ASSEMBLY HAS JUST PULLED LOOSE FROM THE TRIM PANEL BREAKING ONLY THE "HEAT STAKED TABS", REFER TO PROCEDURE 1.

2. IF THE BEZEL ASSEMBLY IS BROKEN ON THE "APPEARANCE SIDE" OF THE TRIM PANEL, REFER TO PROCEDURE 2.

IMPORTANT: DO NOT REPLACE TRIM PANELS FOR EITHER OF THE ABOVE CONDITIONS.

PROCEDURE 1: BEZEL ASSEMBLY PULLED LOOSE, BUT APPEARANCE SIDE NOT BROKEN.

MATERIALS REQUIRED: 3M #08061 PLASTIC AND EMBLEM ADHESIVE

1. REMOVE THE DOOR PULL STRAP ATTACHING SCREWS.

2. CAREFULLY PULL THE BEZEL AWAY FROM THE TRIM PANEL SURFACE AND CLEAN THE SOFT VINYL TRIM PANEL AND BACK SIDE OF THE BEZEL ASSEMBLY SURFACES WITH ISOPROPYL ALCOHOL, OR SUITABLE CLEANER.

3. APPLY 2" WIDE MASKING TAPE TO THE TRIM PANEL SURFACES AROUND THE BEZEL FOR PROTECTION DURING THE GLUE APPLICATION.

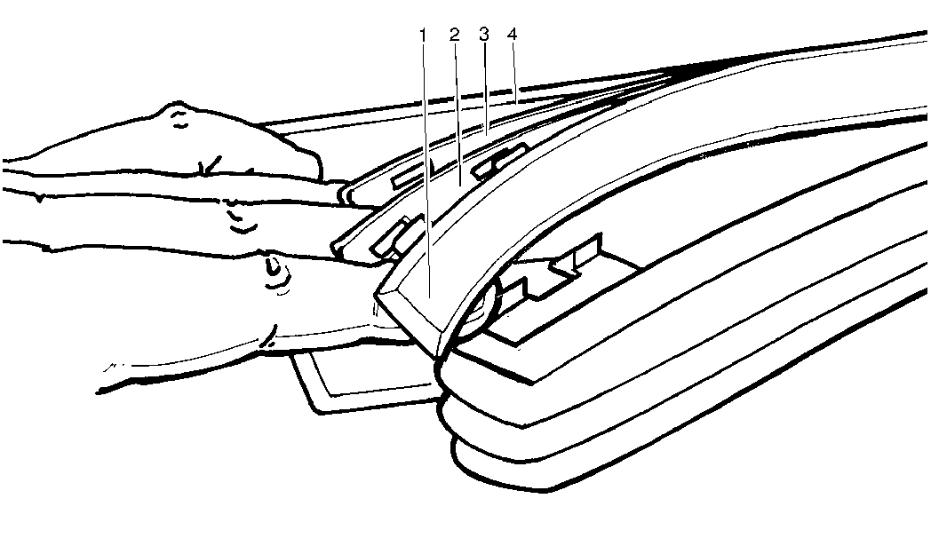
4. CAREFULLY SEPARATE THE SECTIONS OF THE BEZEL AND CLEAN EACH SURFACE LAYER OF THE BEZEL COMPONENTS; FIGURE 2, ITEM 1 (WOOD GRAIN MOLDING), FIGURE 2, ITEM 2 (CHROME MOLDING) AND FIGURE 2, ITEM 3 (COLORED GRAINED BASE).

5. FOLLOWING THE MANUFACTURER'S DIRECTIONS FOR APPLICATIONS AND DRYING TIMES, APPLY 3M #08061 PLASTIC AND EMBLEM ADHESIVE (OR EQUIVALENT) BETWEEN:

A. THE WOOD GRAIN MOLDING AND CHROMED PLASTIC BASE MOLDING (FIGURE 2, ITEMS 1 AND 2).

B. THE CHROME PLASTIC BASE MOLDING AND THE GRAINED/COLORED BASE MOLDING (FIGURE 2, ITEMS 2 AND 3).

C. THE COLORED/GRAINED BASE MOLDING AND SOFT VINYL TRIM PANEL SURFACE (FIGURE 2, ITEMS 3 AND 4).

6. APPLY MASKING TAPE OVER BEZEL ASSEMBLY TO RETAIN TO TRIM PANEL, AND ALLOW TO DRY FOR 30 MINUTES.

7. INSTALL THE PULL STRAP ATTACHING SCREWS.

IMPORTANT: MAKE SURE THE PULL STRAP ATTACHING SCREW PROPERLY ALIGNS WITH THE PLASTIC FASTENER ON THE DOOR INNER PANEL.

8. AFTER CORRECT DRYING TIME, REMOVE THE PROTECTIVE AND RETAINING TAPE AND DISCARD.

PROCEDURE 2: BEZEL ASSEMBLY PULLED LOOSE AND BROKEN ON APPEARANCE SIDE. REQUIRES REPLACEMENT OF THE MOLDING ASSEMBLY, NOT THE COMPLETE TRIM PANEL.

MATERIALS REQUIRED: NEW BEZEL ASSEMBLY (ONE OF THE FOLLOWING COLORS AND NUMBERS), AND A SOLDERING GUN WITH A "SMOOTHING TIP" FOR RE-STAKING TO THE TRIM PANEL.

COLOR RIGHT P/N LEFT P/N ===== ========= ========

BLUE 16671246 16671247

RUBY RED 16671401 16671402

GRAY 16671403 16671404

MED. BEIGE 16671248 16671249

1. REMOVE THE DOOR TRIM PANEL FROM THE DOOR AND PLACE ON A CLEAN WORK SURFACE.

2. APPLY 2" WIDE MASKING TAPE TO THE SOFT DOOR TRIM SURFACES FOR PROTECTION DURING BEZEL REMOVAL.

3. PEEL DOWN TOP PORTION OF SOUND ABSORBER FROM THE BACK OF THE TRIM PANEL TO EXPOSE THE "HEAT STAKED" AREAS.

4. REMOVE THE "HEAT STAKES" USING AN ELECTRIC DRILL WITH A "DE-BURRING" BIT OR OTHER SUITABLE TOOL AND REMOVE BEZEL FROM TRIM PANEL, SEE FIGURE 3.

5. POSITION THE NEW BEZEL ASSEMBLY TO THE TRIM PANEL.

6. USING A SOLDERING GUN WITH A SMOOTHING TIP, MELT AND RE-STAKE THE NEW BEZEL ASSEMBLY TO THE DOOR TRIM PANEL AT ALL LOCATIONS, SEE FIGURE 4.

7. REINSTALL THE DOOR TRIM PANEL TO THE DOOR.

IMPORTANT: MAKE SURE THE PULL STRAP ATTACHING SCREW PROPERLY ALIGNS WITH THE PLASTIC FASTENER ON THE DOOR INNER PANEL.

PARTS INFORMATION:

PARTS ARE CURRENTLY AVAILABLE FROM GMSPO.

WARRANTY INFORMATION:

FOR VEHICLES REPAIRED UNDER WARRANTY, USE:

LABOR OPERATION NUMBER DESCRIPTION LABOR TIME =============== =========== ==========

C3230/31 REINSTALL THE MOLDING BEZEL .3 HR WITH GLUE

C3230/31 REPLACE THE MOLDING BEZEL .7 HR ASSEMBLY

FIGURES: 04 ATTACHMENTS: 00

FIGURE 1: 1. BEZEL LOOSE FROM TRIM PANEL

FIGURE 2: 1. WOOD GRAIN MOLDING 2. CHROMED PLASTIC BASE MOLDING 3. COLORED/GRAINED MOLDING 4. SOFT VINYL TRIM PANEL


Object Number: 108260  Size: MF


Object Number: 108251  Size: MF


Object Number: 108250  Size: MF


Object Number: 108249  Size: MF

GENERAL MOTORS BULLETINS ARE INTENDED FOR USE BY PROFESSIONAL TECHNICIANS, NOT A "DO-IT-YOURSELFER". THEY ARE WRITTEN TO INFORM THOSE TECHNICIANS OF CONDITIONS THAT MAY OCCUR ON SOME VEHICLES, OR TO PROVIDE INFORMATION THAT COULD ASSIST IN THE PROPER SERVICE OF A VEHICLE. PROPERLY TRAINED TECHNICIANS HAVE THE EQUIPMENT, TOOLS, SAFETY INSTRUCTIONS AND KNOW-HOW TO DO A JOB PROPERLY AND SAFELY. IF A CONDITION IS DESCRIBED, DO NOT ASSUME THAT THE BULLETIN APPLIES TO YOUR VEHICLE, OR THAT YOUR VEHICLE WILL HAVE THAT CONDITION. SEE A GENERAL MOTORS DEALER SERVICING YOUR BRAND OF GENERAL MOTORS VEHICLE FOR INFORMATION ON WHETHER YOUR VEHICLE MAY BENEFIT FROM THE INFORMATION.

COPYRIGHT 1996 GENERAL MOTORS CORPORATION. ALL RIGHTS RESERVED.