GM Service Manual Online
For 1990-2009 cars only

ANALOG SPEEDO DIAGNOSIS AND CHASSIS MANUAL CORRECTION

VEHICLES AFFECTED: 1985 Electra

The diagnostic chart shown in Figure 8F-7 on page 8F-5 of the 1985 Chassis Service Manual is incorrect. Please replace with the information contained in this bulletin.

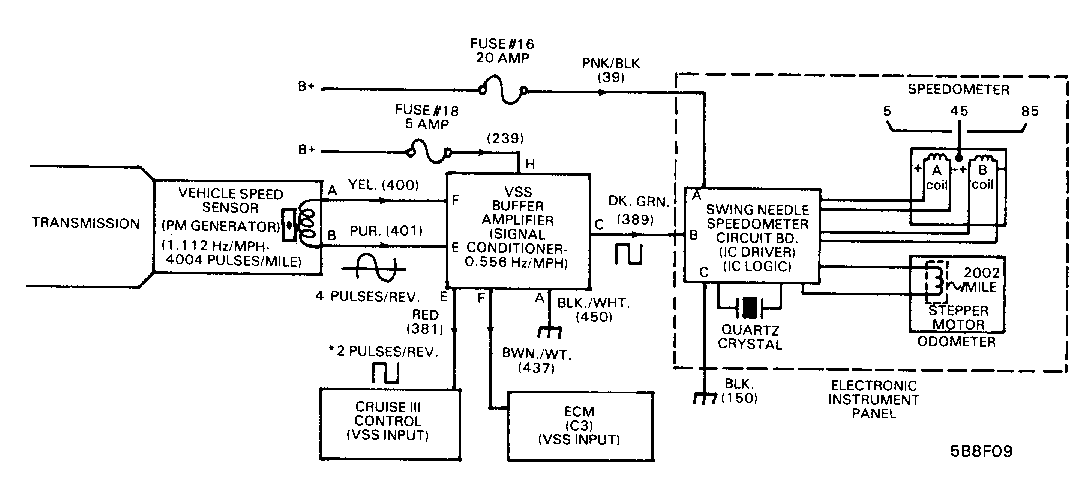
Figure 1 is a diagnostic chart for speedometer inoperative. Figure 2 is a schematic of the speedometer electrical system. Please note that if the cruise and/or TCC are also inoperative; the condition may be in the Vehicle Speed Sensor (VSS) Buffer Amplifier, the VSS (P.M. Generator), wiring for the VSS buffer Amplifier or VSS, or transmission. If only the speedometer is inoperative; the problem is in the VSS Buffer Amplifier, Speedometer, or wiring for the VSS Buffer Amplifier or Speedometer.

The diagnostics do not address the transmission. If speedometer readings are in error, the problem could be in the transmission governor assembly. Check for proper gears and operation. If a no speedometer complaint is traced to the VSS and replacement does not correct the problem, check the transmission governor assembly for proper operation.


Object Number: 87990  Size: FS


Object Number: 87989  Size: FS


Object Number: 83646  Size: FS

General Motors bulletins are intended for use by professional technicians, not a "do-it-yourselfer". They are written to inform those technicians of conditions that may occur on some vehicles, or to provide information that could assist in the proper service of a vehicle. Properly trained technicians have the equipment, tools, safety instructions and know-how to do a job properly and safely. If a condition is described, do not assume that the bulletin applies to your vehicle, or that your vehicle will have that condition. See a General Motors dealer servicing your brand of General Motors vehicle for information on whether your vehicle may benefit from the information.