GM Service Manual Online
For 1990-2009 cars only

Removal Procedure

Tools Required

J 5825-A Crankshaft Sprocket Puller

  1. Remove the engine front cover. Refer to Engine Front Cover Replacement .

  2. Object Number: 96388  Size: MH
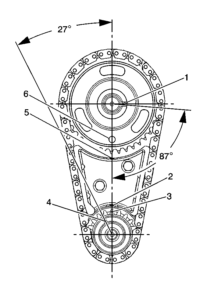
  3. Rotate the crankshaft until the timing marks in the following locations are aligned:
  4. • The camshaft alignment pin (1).
    • The timing chain dampener (2) to the crankshaft sprocket (3).
    • The crankshaft key (4).
    • The timing chain dampener (5) to the camshaft sprocket locator hole (6).

    Object Number: 54291  Size: SH
  5. Remove the camshaft sprocket bolt.
  6. Remove the camshaft sprocket and timing chain.

  7. Object Number: 54293  Size: SH
  8. Remove the crankshaft sprocket. Use the J 5825-A .

  9. Object Number: 59271  Size: SH
  10. Remove the timing chain dampener bolts.
  11. Remove the timing chain dampener.
  12. Clean and inspect the timing chain and gears. Refer to Camshaft Timing Chain and Sprocket Cleaning and Inspection .

Installation Procedure

Tools Required

J 38612 Crankshaft Sprocket Installer


    Object Number: 54294  Size: SH
  1. Install the crankshaft sprocket using the J 38612 .
  2. Apply prelube GM P/N 1052365 or the equivalent to the crankshaft sprocket thrust surface.

  3. Object Number: 59271  Size: SH
  4. Install the timing chain dampener.
  5. Notice: Use the correct fastener in the correct location. Replacement fasteners must be the correct part number for that application. Fasteners requiring replacement or fasteners requiring the use of thread locking compound or sealant are identified in the service procedure. Do not use paints, lubricants, or corrosion inhibitors on fasteners or fastener joint surfaces unless specified. These coatings affect fastener torque and joint clamping force and may damage the fastener. Use the correct tightening sequence and specifications when installing fasteners in order to avoid damage to parts and systems.

  6. Install the timing chain dampener bolts.
  7. Tighten
    Tighten the timing chain dampener bolt to 21 N·m (15 lb ft).


    Object Number: 187021  Size: SH
  8. Align the crankshaft timing mark (2) to the timing mark on the bottom of the timing chain dampener (1).
  9. Hold the camshaft sprocket with the timing chain hanging down and install the timing chain to the crankshaft gear.
  10. Align the timing mark on the camshaft gear (4) with the timing mark on top of the timing chain dampener (3).

  11. Object Number: 54291  Size: SH
  12. Align the dowel in the camshaft with the dowel hole in the camshaft sprocket.
  13. Draw the camshaft sprocket onto the camshaft using the mounting bolt.
  14. Coat the crankshaft and camshaft sprocket with engine oil.
  15. Tighten
    Tighten the bolt to 140 N·m (103 lb ft).

  16. Install the engine front cover. Refer to Engine Front Cover Replacement .