GM Service Manual Online
For 1990-2009 cars only
Figure 1:

ABS Schematics (ABS Module, Relay, Modulator and Power)


Object Number: 642299  Size: FS
Figure 2:

ABS Schematics (ABS Module, Ground, DLC, Instrument Cluster, PCM and Power


Object Number: 642315  Size: FS
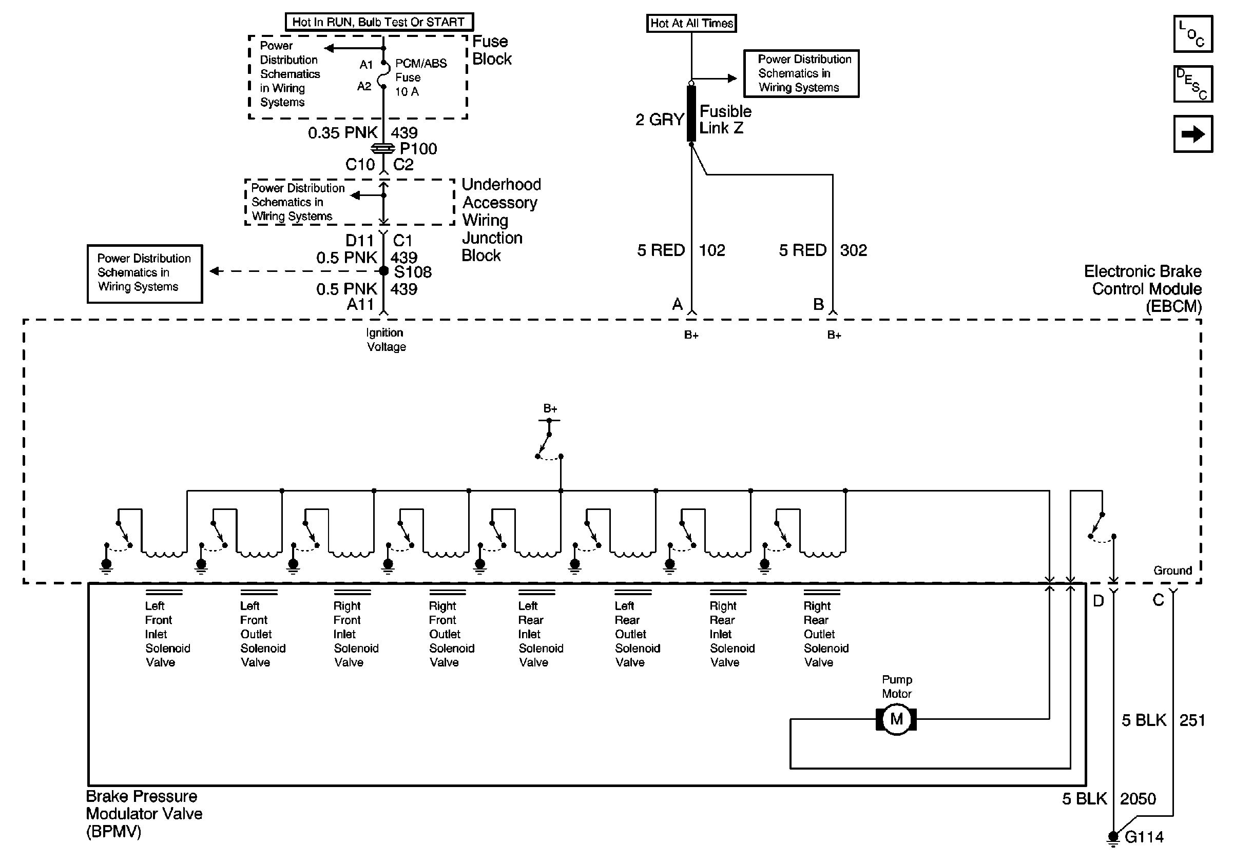
Figure 3:

ABS Schematics (ABS Module, Power and Stoplamp Switch)


Object Number: 642302  Size: FS
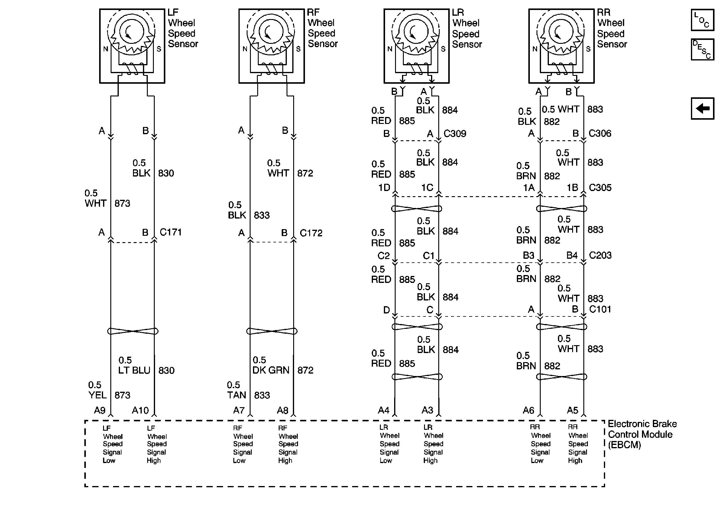
Figure 4:

ABS Schematics (ABS Module and Wheel Speed Sensors)


Object Number: 642313  Size: FS