GM Service Manual Online
For 1990-2009 cars only
Makes
🢒
Buick
🢒
2000
🢒
GL7 (Export)
🢒
Body and Accessories
🢒
Entertainment
🢒 Radio/Audio System Schematics
Figure
1:
Power, Ground, and Front Door Speakers
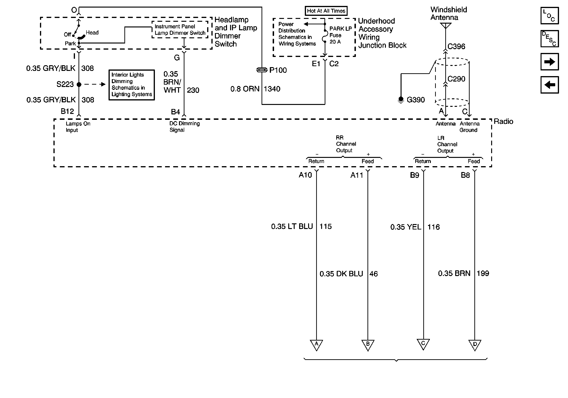
Figure
2:
Windshield Antenna, Headlamp and IP Lamp Dimmer Switch
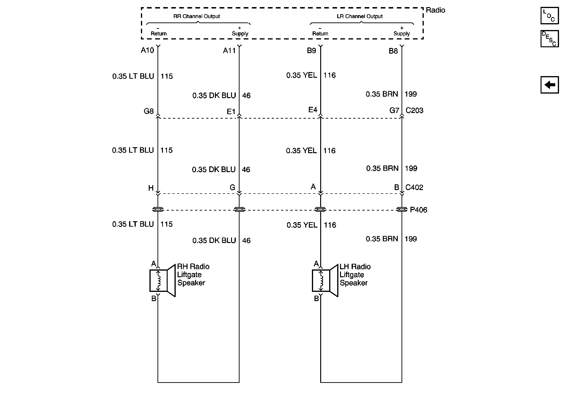
Figure
3:
Liftgate Speakers