GM Service Manual Online
For 1990-2009 cars only

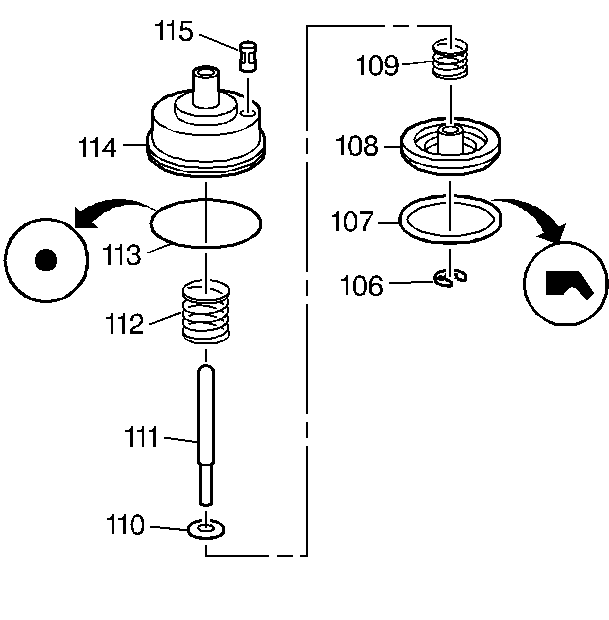
    Object Number: 13017  Size: SH
  1. Inspect the components of the 2-1 manual band servo for the following conditions:
  2. • A damaged, worn or porous servo piston cylinder (114)
    • A damaged, worn or porous servo piston (108)
    • A damaged or worn servo piston pin (111)
    • A broken or damaged servo piston spring (112)
    • A broken or damaged servo piston cushion spring (109)
    • A damaged or plugged servo exhaust screen (115)
    • A damaged servo cover seal (105)
    • A damaged servo piston seal (107)
    • A damaged servo piston cylinder O-ring seal (113)

    Object Number: 13019  Size: SH
  3. Assemble the servo piston spring retainer (110), the servo piston cushion spring (109) and the servo piston (108) onto the servo piston pin (111).
  4. Use a small screwdriver in order to install the servo piston pin retaining ring (106).
  5. Install the servo piston seal (107) onto the servo piston (108). Lubricate the servo piston seal (107) with automatic transmission fluid.
  6. Assemble the servo exhaust screen (115) and the servo piston cylinder O-ring seal (113) onto the servo piston cylinder (114). Lubricate the servo piston cylinder O-ring seal (113) with automatic transmission fluid.
  7. Attach the servo piston spring (112) to the servo piston assembly (106-111).
  8. Install the servo piston and spring assembly (106-112) into the servo piston cylinder assembly (113-115) and set the assemblies aside.