GM Service Manual Online
For 1990-2009 cars only
Table 1: Accelerator Pedal Position (APP) Sensor
Table 2: Camshaft Position (CMP) Actuator Solenoid Exhaust Bank 1
Table 3: Camshaft Position (CMP) Actuator Solenoid Intake Bank 1
Table 4: Camshaft Position (CMP) Actuator Solenoid Exhaust Bank 2
Table 5: Camshaft Position (CMP) Actuator Solenoid Intake Bank 2
Table 6: Camshaft Position (CMP) Sensor Bank 1 Exhaust
Table 7: Camshaft Position (CMP) Sensor Bank 1 Intake
Table 8: Camshaft Position (CMP) Sensor Bank 2 Exhaust
Table 9: Camshaft Position (CMP) Sensor Bank 2 Intake
Table 10: Crankshaft Position (CKP) Sensor
Table 11: Engine Coolant Temperature (ECT) Sensor
Table 12: Evaporative Emission (EVAP) Canister Purge Solenoid Valve
Table 13: Evaporative Emission (EVAP) Canister Vent Solenoid Valve
Table 14: Fuel Injector 1
Table 15: Fuel Injector 2
Table 16: Fuel Injector 3
Table 17: Fuel Injector 4
Table 18: Fuel Injector 5
Table 19: Fuel Injector 6
Table 20: Fuel Pump and Sender Assembly
Table 21: Fuel Tank Pressure Sensor
Table 22: Heated Oxygen Sensor (HO2S) 1
Table 23: Heated Oxygen Sensor (HO2S) 2
Table 24: Ignition Coil 1
Table 25: Ignition Coil 2
Table 26: Ignition Coil 3
Table 27: Ignition Coil 4
Table 28: Ignition Coil 5
Table 29: Ignition Coil 6
Table 30: Knock Sensor (KS) 1
Table 31: Knock Sensor (KS) 2
Table 32: Manifold Absolute Pressure (MAP) Sensor
Table 33: Mass Airflow (MAF)/Intake Air Temperature (IAT) Sensor
Table 34: Throttle Actuator Control (TAC) Module

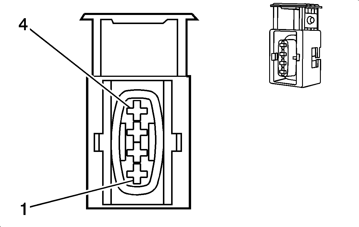
Accelerator Pedal Position (APP) Sensor


Object Number: 632357  Size: CH

Connector Part Information

    • OEM: 15326829
    • Service: 88953153
    • 6-Way F GT 150 Series Sealed (BK)

Pin

Wire Color

Circuit No.

Function

A

PU

1272

Low Reference

B

L-BU

1162

APP Sensor 2 Signal

C

TN

1274

5-Volt Reference

D

BN

1271

Low Reference

E

D-BU

1161

APP Sensor 1 Signal

F

WH/BK

1164

5-Volt Reference

Camshaft Position (CMP) Actuator Solenoid Exhaust Bank 1


Object Number: 1331453  Size: CH

Connector Part Information

    • OEM: 7283-7526-30 (Yazaki)
    • Service: See Catalog
    • 2-Way F (BK)

Pin

Wire Color

Circuit No.

Function

1

PK/BK

5293

Ignition 1 Voltage

2

L-GN

5282

CMP Actuator Solenoid Control Exhaust Bank 1

Camshaft Position (CMP) Actuator Solenoid Intake Bank 1


Object Number: 1331453  Size: CH

Connector Part Information

    • OEM: 7283-7526-30 (Yazaki)
    • Service: See Catalog
    • 2-Way F (BK)

Pin

Wire Color

Circuit No.

Function

1

PK/BK

5293

Ignition 1 Voltage

2

PU

5284

CMP Actuator Solenoid Control Intake Bank 1

Camshaft Position (CMP) Actuator Solenoid Exhaust Bank 2


Object Number: 1331453  Size: CH

Connector Part Information

    • OEM: 7283-7526-30 (Yazaki)
    • Service: See Catalog
    • 2-Way F (BK)

Pin

Wire Color

Circuit No.

Function

1

PK/BK

5293

Ignition 1 Voltage

2

WH/BK

5283

CMP Actuator Solenoid Control Exhaust Bank 2

Camshaft Position (CMP) Actuator Solenoid Intake Bank 2


Object Number: 1331453  Size: CH

Connector Part Information

    • OEM: 7283-7526-30 (Yazaki)
    • Service: See Catalog
    • 2-Way F (BK)

Pin

Wire Color

Circuit No.

Function

1

PK/BK

5293

Ignition 1 Voltage

2

OG/BK

5272

CMP Actuator Solenoid Control Intake Bank 2

Camshaft Position (CMP) Sensor Bank 1 Exhaust


Object Number: 1331443  Size: CH

Connector Part Information

    • OEM: 1928403966 (Bosch)
    • Service: See Catalog
    • 3-Way F (BK)

Pin

Wire Color

Circuit No.

Function

1

TN

470

Low Reference

2

D-GN

5273

CMP Sensor Signal Exhaust Bank 1

3

GY

705

5-Volt Reference

Camshaft Position (CMP) Sensor Bank 1 Intake


Object Number: 1331443  Size: CH

Connector Part Information

    • OEM: 1928403966 (Bosch)
    • Service: See Catalog
    • 3-Way F (BK)

Pin

Wire Color

Circuit No.

Function

1

TN

470

Low Reference

2

OG

5275

CMP Sensor Signal Intake Bank 1

3

GY

705

5-Volt Reference

Camshaft Position (CMP) Sensor Bank 2 Exhaust


Object Number: 1331443  Size: CH

Connector Part Information

    • OEM: 1928403966 (Bosch)
    • Service: See Catalog
    • 3-Way F (BK)

Pin

Wire Color

Circuit No.

Function

1

TN

470

Low Reference

2

PU

5274

CMP Sensor Signal Exhaust Bank 2

3

GY

705

5-Volt Reference

Camshaft Position (CMP) Sensor Bank 2 Intake


Object Number: 1331443  Size: CH

Connector Part Information

    • OEM: 1928403966 (Bosch)
    • Service: See Catalog
    • 3-Way F (BK)

Pin

Wire Color

Circuit No.

Function

1

TN

470

Low Reference

2

YE

5276

CMP Sensor Signal Intake Bank 2

3

GY

705

5-Volt Reference

Crankshaft Position (CKP) Sensor


Object Number: 784092  Size: CH

Connector Part Information

    • OEM: 1928403874 (Bosch)
    • Service: See Catalog
    • 2-Way F (BK)

Pin

Wire Color

Circuit No.

Function

1

PU/WH

5024

Low Reference

2

WH/BK

5039

CKP Sensor Signal

Engine Coolant Temperature (ECT) Sensor


Object Number: 784092  Size: CH

Connector Part Information

    • OEM: 1928403874 (Bosch)
    • Service: See Catalog
    • 2-Way F (BK)

Pin

Wire Color

Circuit No.

Function

1

YE

410

ECT Sensor Signal

2

TN

470

Low Reference

Evaporative Emission (EVAP) Canister Purge Solenoid Valve


Object Number: 1331450  Size: CH

Connector Part Information

    • OEM: 1928404072 (Bosch)
    • Service: See Catalog
    • 2-Way F (BK)

Pin

Wire Color

Circuit No.

Function

1

PK/BK

5293

Ignition 1 Voltage

2

D-GN/WH

428

EVAP Canister Purge Solenoid Valve Control

Evaporative Emission (EVAP) Canister Vent Solenoid Valve


Object Number: 684795  Size: CH

Connector Part Information

    • OEM: 12052643
    • Service: 12101858
    • 2-Way F Metri-Pack 150 Series Sealed (RD)

Pin

Wire Color

Circuit No.

Function

A

OG

2840

Battery Positive Voltage

B

WH

1310

EVAP Canister Vent Solenoid Control

Fuel Injector 1


Object Number: 603098  Size: CH

Connector Part Information

    • OEM: 15305086
    • Service: 15306318
    • 2-Way F Metri-Pack Tangless 150 Series Sealed (BK)

Pin

Wire Color

Circuit No.

Function

A

WH

5291

Ignition 1 Voltage

B

TN

1744

Fuel Injector 1 Control

Fuel Injector 2


Object Number: 603098  Size: CH

Connector Part Information

    • OEM: 15305086
    • Service: 15306318
    • 2-Way F Metri-Pack Tangless 150 Series Sealed (BK)

Pin

Wire Color

Circuit No.

Function

A

WH

5292

Ignition 1 Voltage

B

L-GN/BK

1745

Fuel Injector 2 Control

Fuel Injector 3


Object Number: 603098  Size: CH

Connector Part Information

    • OEM: 15305086
    • Service: 15306318
    • 2-Way F Metri-Pack Tangless 150 Series Sealed (BK)

Pin

Wire Color

Circuit No.

Function

A

WH

5291

Ignition 1 Voltage

B

PK/BK

1746

Fuel Injector 3 Control

Fuel Injector 4


Object Number: 603098  Size: CH

Connector Part Information

    • OEM: 15305086
    • Service: 15306318
    • 2-Way F Metri-Pack Tangless 150 Series Sealed (BK)

Pin

Wire Color

Circuit No.

Function

A

WH

5292

Ignition 1 Voltage

B

L-BU/BK

844

Fuel Injector 4 Control

Fuel Injector 5


Object Number: 603098  Size: CH

Connector Part Information

    • OEM: 15305086
    • Service: 15306318
    • 2-Way F Metri-Pack Tangless 150 Series Sealed (BK)

Pin

Wire Color

Circuit No.

Function

A

WH

5291

Ignition 1 Voltage

B

TN/WH

845

Fuel Injector 5 Control

Fuel Injector 6


Object Number: 603098  Size: CH

Connector Part Information

    • OEM: 15305086
    • Service: 15306318
    • 2-Way F Metri-Pack Tangless 150 Series Sealed (BK)

Pin

Wire Color

Circuit No.

Function

A

WH

5292

Ignition 1 Voltage

B

YE/BK

846

Fuel Injector 6 Control

Fuel Pump and Sender Assembly


Object Number: 684908  Size: CH

Connector Part Information

    • OEM: 15326631
    • Service: 15306360
    • 4-Way F GT 280 Series Sealed (BK)

Pin

Wire Color

Circuit No.

Function

A

BK

1850

Ground

B

PU

30

Fuel Level Sensor Signal

C

BK/WH

651

Signal Ground

D

GY

120

Fuel Pump Supply Voltage

Fuel Tank Pressure Sensor


Object Number: 516611  Size: CH

Connector Part Information

    • OEM: 12059595
    • Service: 88986451
    • 3-Way F Metri-Pack 150 Series Sealed (BK)

Pin

Wire Color

Circuit No.

Function

A

OG/BK

469

Low Reference

B

D-GN

890

Fuel Tank Pressure Sensor Signal

C

GY

416

5-Volt Reference

Heated Oxygen Sensor (HO2S) 1


Object Number: 1523693  Size: CH

Connector Part Information

    • OEM: 42122200 (FEP)
    • Service: See Catalog
    • 6-Way F Flat Contact Housing Sealed (BK)

Pin

Wire Color

Circuit No.

Function

1

PU/WH

1665

HO2S High Signal

2

WH

5279

HO2S Pump Current

3

PK/BK

5293

Ignition 1 Voltage

4

GY/WH

3113

HO2S Heater Low Control Sensor 1

5

TN

1664

HO2S Low Signal

6

L-GN

5278

HO2S Input Pump Current Sensor 1

Heated Oxygen Sensor (HO2S) 2


Object Number: 831392  Size: CH

Connector Part Information

    • OEM: 12092839
    • Service: 12092839
    • 5-Way M Metri-Pack 150 Series (BK)

Pin

Wire Color

Circuit No.

Function

A

TN/WH

3121

HO2S Low Signal

B

PU

3120

HO2S High Signal

C

--

--

Not Available

D

BK/WH

3122

HO2S Heater Low Control Sensor 2

E

PK

339

Ignition 1 Voltage

Ignition Coil 1


Object Number: 1331446  Size: CH

Connector Part Information

    • OEM: 1928403441 (Bosch)
    • Service: See Catalog
    • 4-Way F (BK)

Pin

Wire Color

Circuit No.

Function

1

PU

2121

Ignition Control 1

2

PK/BK

5291

Ignition 1 Voltage

3

BK/WH

1551

Ground

4

BK

1550

Ground

Ignition Coil 2


Object Number: 1331446  Size: CH

Connector Part Information

    • OEM: 1928403441 (Bosch)
    • Service: See Catalog
    • 4-Way F (BK)

Pin

Wire Color

Circuit No.

Function

1

OG/WH

2122

Ignition Control 2

2

PK/BK

5292

Ignition 1 Voltage

3

BK/WH

151

Ground

4

BK

150

Ground

Ignition Coil 3


Object Number: 1331446  Size: CH

Connector Part Information

    • OEM: 1928403441 (Bosch)
    • Service: See Catalog
    • 4-Way F (BK)

Pin

Wire Color

Circuit No.

Function

1

L-BU

2123

Ignition Control 3

2

PK/BK

5291

Ignition 1 Voltage

3

BK/WH

1551

Ground

4

BK

1550

Ground

Ignition Coil 4


Object Number: 1331446  Size: CH

Connector Part Information

    • OEM: 1928403441 (Bosch)
    • Service: See Catalog
    • 4-Way F (BK)

Pin

Wire Color

Circuit No.

Function

1

D-GN/WH

2124

Ignition Control 4

2

PK/BK

5292

Ignition 1 Voltage

3

BK/WH

151

Ground

4

BK

150

Ground

Ignition Coil 5


Object Number: 1331446  Size: CH

Connector Part Information

    • OEM: 1928403441 (Bosch)
    • Service: See Catalog
    • 4-Way F (BK)

Pin

Wire Color

Circuit No.

Function

1

D-GN

2125

Ignition Control 5

2

PK/BK

5291

Ignition 1 Voltage

3

BK/WH

1551

Ground

4

BK

1550

Ground

Ignition Coil 6


Object Number: 1331446  Size: CH

Connector Part Information

    • OEM: 1928403441 (Bosch)
    • Service: See Catalog
    • 4-Way F (BK)

Pin

Wire Color

Circuit No.

Function

1

L-BU/WH

2126

Ignition Control 6

2

PK/BK

5292

Ignition 1 Voltage

3

BK/WH

151

Ground

4

BK

150

Ground

Knock Sensor (KS) 1


Object Number: 784092  Size: CH

Connector Part Information

    • OEM: 1928403874 (Bosch)
    • Service: See Catalog
    • 2-Way F (BK)

Pin

Wire Color

Circuit No.

Function

1

D-BU

496

KS Signal Bank 1

2

GY

1716

KS Low Reference Bank 1

Knock Sensor (KS) 2


Object Number: 784092  Size: CH

Connector Part Information

    • OEM: 1928403874 (Bosch)
    • Service: See Catalog
    • 2-Way F (BK)

Pin

Wire Color

Circuit No.

Function

1

L-BU

1876

KS Signal Bank 2

2

TN

407

KS Low Reference Bank 2

Manifold Absolute Pressure (MAP) Sensor


Object Number: 1331443  Size: CH

Connector Part Information

    • OEM: 1928403966 (Bosch)
    • Service: See Catalog
    • 3-Way F (BK)

Pin

Wire Color

Circuit No.

Function

1

GY

605

5-Volt Reference

2

TN

470

Low Reference

3

OG/BK

5266

MAP Sensor Signal

Mass Airflow (MAF)/Intake Air Temperature (IAT) Sensor


Object Number: 816170  Size: CH

Connector Part Information

    • OEM: 15327729 (Delphi)
    • 1928403200 (Bosch)
    • Service: See Catalog
    • 5-Way F Jr-Power Timer Sealed (BK)

Pin

Wire Color

Circuit No.

Function

1

TN

472

IAT Sensor Signal

2

PK

339

Ignition 1 Voltage

3

BK

2760

Low Reference

4

GY

2709

5-Volt Reference

5

YE

492

MAF Sensor Signal

Throttle Actuator Control (TAC) Module


Object Number: 1523693  Size: CH

Connector Part Information

    • OEM: 1928404900 (Bosch)
    • Service: See Catalog
    • 6-Way F (BK)

Pin

Wire Color

Circuit No.

Function

1

D-GN

485

TP Sensor 1 Signal

2

GY

2701

5-Volt Reference

3

BN

582

TAC Motor Control 2

4

PU

486

TP Sensor 2 Signal

5

YE

581

TAC Motor Control 1

6

TN

2752

Low Reference