GM Service Manual Online
For 1990-2009 cars only

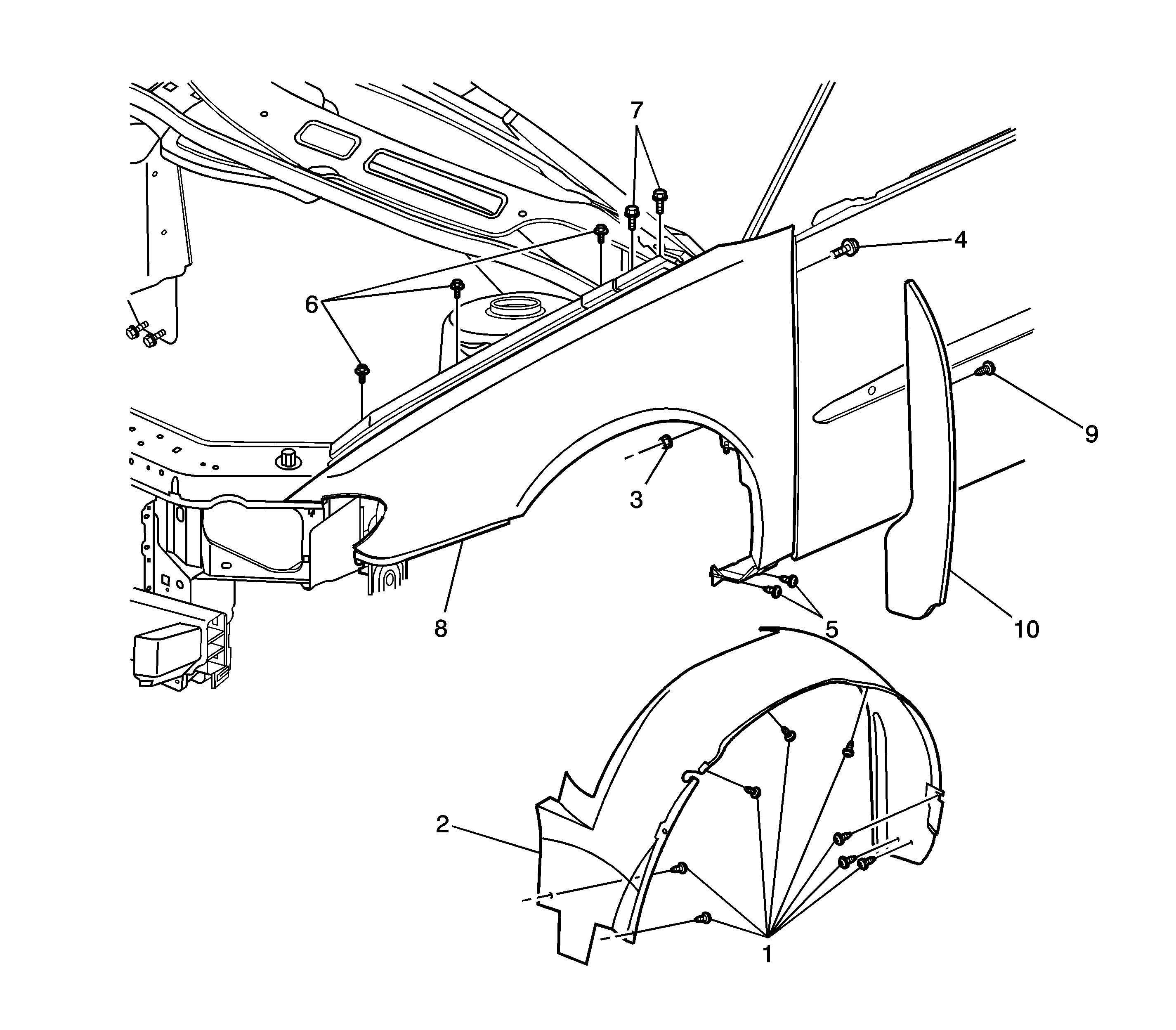
Object Number: 1536107  Size: LF

Callout

Component Name

Notice: Refer to Fastener Notice in the Preface section.

Fastener Tightening Specifications: Refer to Fastener Tightening Specifications .

Front Wheelhouse Liner Replacement - Front

Preliminary Procedures

  1. Lift and support the vehicle. Refer to Lifting and Jacking the Vehicle in General Information.
  2. Remove the tire and wheel assembly. Refer to Tire and Wheel Removal and Installation in Tires and Wheels.

1

Retainer, Front Wheel House Liner (Qty: 10)

2

Liner, Front Wheelhouse

Fender Assembly Replacement

Preliminary Procedures

  1. Lift and support the vehicle. Refer to Lifting and Jacking the Vehicle in General Information.
  2. Remove the tire and wheel assembly. Refer to Tire and Wheel Removal and Installation in Tires and Wheels.
  3. Remove the rocker panel molding. Refer to Rocker Panel Molding Replacement .

1

Retainer, Front Wheel House Liner (Qty: 10)

2

Liner, Front Wheelhouse

3

Nut, Front Fender (Qty: 2)

Tighten
8 N·m (70 lb in)

4

Bolt, Fender (Qty: 1)

Tighten
8 N·m (70 lb in)

5

Bolt, Fender (Qty: 2)

Tighten
8 N·m (70 lb in)

6

Bolt, Fender (Qty: 3)

Tighten
8 N·m (70 lb in)

7

Bolt, Fender to Hood Hinge (Qty: 2)

Tighten
25 N·m (18 lb ft)

8

Fender Assembly

Front Fender Insulator Assembly Replacement

9

Retainer, Front Fender Insulator (Qty: 2)

10

Insulator Assembly, Front Fender