GM Service Manual Online
For 1990-2009 cars only
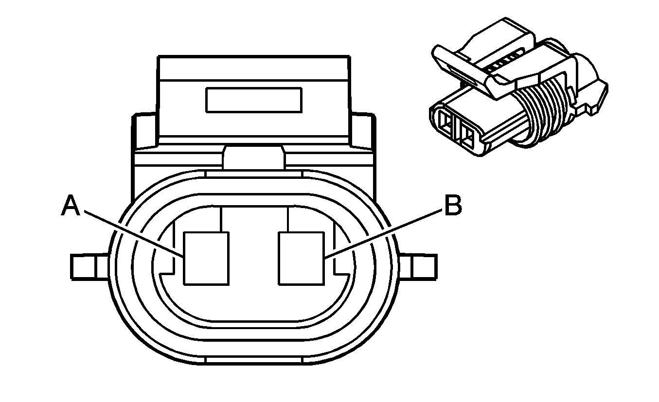
Connector 1: C100 Engine Wiring Harness to Transmission Wiring Harness (L26)
Connector 2: C100 Off-Engine Wiring Harness to Transmission Wiring Harness (LY7)
Connector 3: C101 Engine Harness to I/P Harness (L26)
Connector 4: C101 Off-Engine Harness to I/P Harness (LY7)
Connector 5: C102 Off-Engine Harness to I/P Harness (LY7)
Connector 6: C104 I/P Harness to Engine Harness
Connector 7: C107 Off-Engine Harness to On-Engine Harness (LY7)
Connector 8: C108 Battery Cable Harness to I/P Harness
Connector 9: C109 On-Engine Harness to Fuel Injector Harness (LY7)
Connector 10: C110 Engine Harness to Ignition Control Module (ICM) Wiring Harness (L26)
Connector 11: C120 Forward Lamp Harness to I/P Harness
Connector 12: C125 Engine Harness to Knock Sensor Jumper Harness (L26)
Connector 13: C126 Engine Coolant Temperature (ECT) Sensor Jumper Harness to Engine Harness (L26)
Connector 14: C141 Forward Lamp Harness to Left Front Headlamp Harness
Connector 15: C142 Forward Lamp Harness to Right Front Headlamp Harness
Connector 16: C143 Forward Lamp Harness to Left Forward Lamp Jumper Harness
Connector 17: C144 Forward Lamp Harness to Right Forward Lamp Jumper Harness
Connector 18: C145 Forward Lamp Harness to LH Sidemarker Lamp Harness
Connector 19: C146 Forward Lamp Harness to RH Sidemarker Lamp Harness
Connector 20: C200 Body Harness to I/P Harness
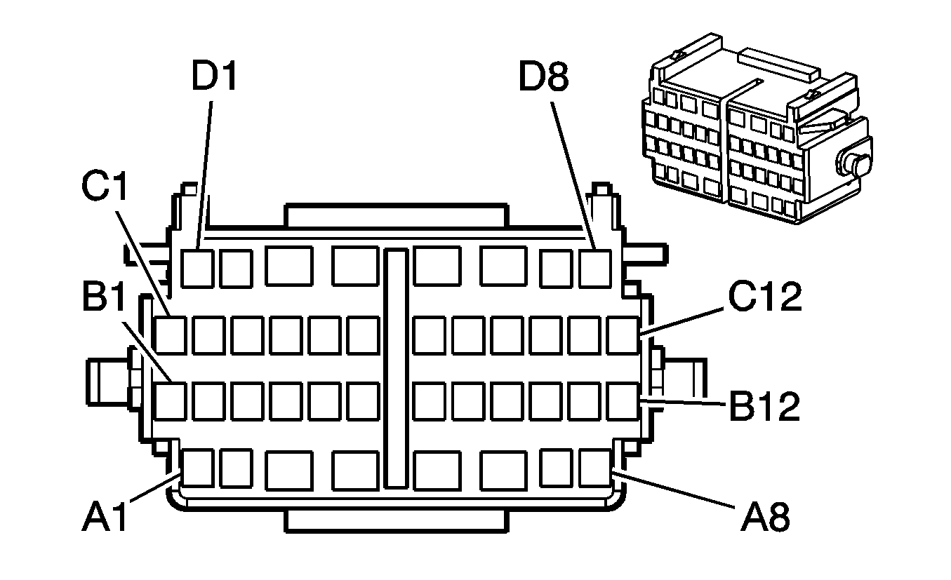
Connector 21: C201 Steering Column Harness to I/P Harness
Connector 22: C208 I/P Harness to Body Harness (JL4)
Connector 23: C209 Inflatable Restraint Driver Harness to I/P Harness
Connector 24: C210 HVAC Harness to I/P Harness (C67)
Connector 25: C210 HVAC Harness to I/P Harness (CJ2)
Connector 26: C240 Body Harness to Console Harness (D55)
Connector 27: C241 Body Harness to PRNDL Harness
Connector 28: C250 I/P Harness to Body Harness
Connector 29: C260 Body Harness to Left Front Door Harness
Connector 30: C261 I/P Harness to Right Front Door Harness
Connector 31: C275 Inflatable Restraint Coil Harness to Steering Column Harness
Connector 32: C277 Inflatable Restraint Coil Harness to Steering Wheel Harness (UK3)
Connector 33: C278 SIR Jumper Harness to Body Harness
Connector 34: C305 CHMSL Jumper Harness to the Body Harness
Connector 35: C311 Body Harness to Left Front Seat Harness
Connector 36: C312 Left Front Seat Harness to Left Front Seat Back Harness (AL9)
Connector 37: C313 Body Harness to Right Front Seat Harness
Connector 38: C315 Right Front Seat Safety Harness to Body Harness
Connector 39: C316 Left Front Seat Safety Harness to Body Harness
Connector 40: C317 Headliner Harness to Roof Harness
Connector 41: C318 Headliner Harness to Roof Harness
Connector 42: C355 Body Harness to Left Rear Door Harness
Connector 43: C356 Body Harness to Right Rear Door Harness
Connector 44: C390 Headliner Harness to Body harness
Connector 45: C398 Roof Harness to Sunroof Harness (CF5)
Connector 46: C400 Rear Deck Lid Harness to Body Harness
Connector 47: C401 Body Harness to Left Rear Lamp Harness
Connector 48: C402 Body Harness to Right Rear Lamp Harness
Connector 49: C405 Fuel Tank Harness to Body Harness
Connector 50: C406 Body Harness to License Lamp Harness
Connector 51: C450 Body Harness to Rear Park Assist Harness (UD7)
Connector 52: C501 Left Front Door Harness to Left Front Door Trim Harness
Connector 53: C601 Right Front Door Harness to Right Front Door Trim Harness

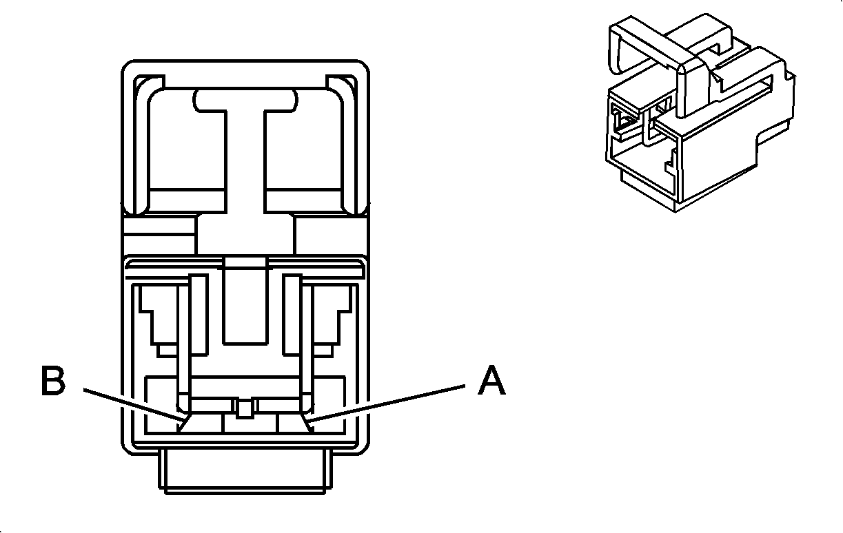
C100 Engine Wiring Harness to Transmission Wiring Harness (L26)


Object Number: 1361996  Size: CH

Object Number: 1363298  Size: CH

Connector Part Information

  • OEM: 15444376
  • Service: 89046801
  • Description: 20-Way F Micro-Pack 100W Series Sealed (BK)

Connector Part Information

  • OEM: 15409446
  • Service: See Catalog
  • Description: 20-Way M Micro-Pack 100W Series (BK)

Terminal Part Information

  • Pins: A-M, S-V
  • Terminal/Tray: 12084913/5
  • Core/Insulation Crimp: W/W
  • Release Tool/Test Probe: 12122523/J-35616-6 (BN)

Terminal Part Information

  • Pins: A-M, S-V
  • Terminal/Tray: See Terminal Repair Kit
  • Core/Insulation Crimp: See Terminal Repair Kit
  • Release Tool/Test Probe: See Terminal Repair Kit

C100 Engine Wiring Harness to Transmission Wiring Harness (L26)

Pin

Wire Color

Circuit No.

Function

Pin

Wire Color

Circuit No.

Function

A

L-GN

1222

1-2 SS Valve Control

A

L-GN

1222

1-2 SS Valve Control

B

YE/BK

1223

2-3 SS Valve Control

B

YE

1223

2-3 SS Valve Control

C

RD/BK

1228

PC Solenoid Valve High Control

C

PU

1228

PC Solenoid Valve High Control

D

L-BU/WH

1229

PC Solenoid Valve Low Control

D

L-BU

1229

PC Solenoid Valve Low Control

E

PK

1339

Ignition 1 Voltage

E

RD

839

Ignition 1 Voltage

F

BK/WH

771

Transmission Range Signal A

F

RD/BK

771

Transmission Range Signal A

G

YE

772

Transmission Range Signal B

G

D-GN/WH

772

Transmission Range Signal B

H

GY

773

Transmission Range Signal C

H

YE/BK

773

Transmission Range Signal C

J

WH

776

Transmission Range Signal P

J

GY/WH

776

Transmission Range Signal P

K

BK/WH

451

Ground

K

BK/WH

1050

Ground

L

YE/BK

1227

TFT Sensor Signal

L

BN

1227

TFT Sensor Signal

M

BK

452

Low Reference

M

GY

452

Low Reference

N-R

--

--

Not Available

N-R

--

--

Not Used

S

RD/BK

1230

A/T ISS High Signal

S

BK

1230

A/T ISS High Signal

T

TN/BK

422

TCC Solenoid Valve Control

T

TN

418

TCC Solenoid Valve Control

U

WH

1804

TCC Release Switch Signal

U

WH

1804

TCC Release Switch Signal

V

D-BU/WH

1231

A/T ISS Low Signal

V

D-GN

1231

A/T ISS Low Signal

W

--

--

Not Available

W

--

--

Not Available

C100 Off-Engine Wiring Harness to Transmission Wiring Harness (LY7)


Object Number: 1562426  Size: CH

Object Number: 1363298  Size: CH

Connector Part Information

  • OEM: 15480685
  • Service: 89047400
  • Description: 20-Way F Micro-Pack 100W Series Sealed (BK)

Connector Part Information

  • OEM: 15409446
  • Service: See Catalog
  • Description: 20-Way M Micro-Pack 100W Series (BK)

Terminal Part Information

  • Pins: A-M, S- W
  • Terminal/Tray: 12084913/5
  • Core/Insulation Crimp: W/W
  • Release Tool/Test Probe: 12122523/J-35616-6 (BN)

Terminal Part Information

  • Pins: A-M, S- W
  • Terminal/Tray: See Terminal Repair Kit
  • Core/Insulation Crimp: See Terminal Repair Kit
  • Release Tool/Test Probe: See Terminal Repair Kit

C100 Off-Engine Wiring Harness to Transmission Wiring Harness (LY7)

Pin

Wire Color

Circuit No.

Function

Pin

Wire Color

Circuit No.

Function

A

L-GN

1222

1-2 SS Valve Control

A

L-GN

1222

1-2 SS Valve Control

B

YE/BK

1223

2-3 SS Valve Control

B

YE

1223

2-3 SS Valve Control

C

RD/BK

1228

PC Solenoid Valve High Control

C

PU

1228

PC Solenoid Valve High Control

D

L-BU/WH

1229

PC Solenoid Valve Low Control

D

L-BU

1229

PC Solenoid Valve Low Control

E

PK

1339

Ignition 1 Voltage

E

RD

839

Ignition 1 Voltage

F

BK/WH

771

Transmission Range Signal A

F

RD/BK

771

Transmission Range Signal A

G

YE

772

Transmission Range Signal B

G

D-GN/WH

772

Transmission Range Signal B

H

GY

773

Transmission Range Signal C

H

YE/BK

773

Transmission Range Signal C

J

WH

776

Transmission Range Signal P

J

GY/WH

776

Transmission Range Signal P

K

BK/WH

1451

Ground

K

BK/WH

1050

Ground

L

YE/BK

1227

TFT Sensor Signal

L

BN

1227

TFT Sensor Signal

M

BK

2762

Low Reference

M

GY

452

Low Reference

N-R

--

--

Not Used

N-R

--

--

Not Used

S

RD/BK

1230

A/T ISS High Signal

S

BK

1230

A/T ISS High Signal

T

BN

418

TCC Solenoid Valve Control

T

TN

418

TCC Solenoid Valve Control

U

WH

1804

TCC Release Switch Signal

U

WH

1804

TCC Release Switch Signal

V

D-BU/WH

1231

A/T ISS Low Signal

V

D-GN

1231

A/T ISS Low Signal

W

OG/BK

1786

Park/Neutral Signal

W

OG

1786

Park/Neutral Signal

C101 Engine Harness to I/P Harness (L26)


Object Number: 684877  Size: CH

Object Number: 768083  Size: CH

Connector Part Information

  • OEM: 12191511
  • Service: 15306028
  • Description: 20-Way F Micro-Pack 100W Series Sealed (GY)

Connector Part Information

  • OEM: 15449357
  • Service: 12160542
  • Description: 20-Way M Micro-Pack 100W Series Sealed (GY)

Terminal Part Information

  • Pins: A-E, L-U
  • Terminal/Tray: 12084913/5
  • Core/Insulation Crimp: W/W
  • Release Tool/Test Probe: 12122523/J-35616-6 (BN)

Terminal Part Information

  • Pins: A-E, L-U
  • Terminal/Tray: See Terminal Repair Kit
  • Core/Insulation Crimp: See Terminal Repair Kit
  • Release Tool/Test Probe: See Terminal Repair Kit

C101 Engine Harness to I/P Harness (L26)

Pin

Wire Color

Circuit No.

Function

Pin

Wire Color

Circuit No.

Function

A

BN/WH

419

MIL Control

A

BN/WH

419

MIL Control

B

D-GN

1049

Class 2 Serial Data

B

D-GN

1049

Class 2 Serial Data

C

RD

885

Left Rear Wheel Speed Sensor Low Reference (JL9)

C

RD

885

Left Rear Wheel Speed Sensor Low Reference (JL9)

D

BK

884

Left Rear Wheel Speed Sensor Signal (JL9)

D

BK

884

Left Rear Wheel Speed Sensor Signal (JL9)

E

WH

883

Right Rear Wheel Speed Sensor Low Reference (JL9)

E

WH

883

Right Rear Wheel Speed Sensor Low Reference (JL9)

F-K

--

--

Not Used

F-K

--

--

Not Used

L

BN

882

Right Rear Wheel Speed Sensor Signal (JL9)

L

BN

882

Right Rear Wheel Speed Sensor Signal (JL9)

M

PU

1272

Low Reference

M

PU

1272

Low Reference

N

TN

1274

5-Volt Reference

N

TN

1274

5-Volt Reference

P

L-BU

1162

APP Sensor 2 Signal

P

L-BU

1162

APP Sensor 2 Signal

R

BN

1271

Low Reference

R

BN

1271

Low Reference

S

WH/BK

1164

5-Volt Reference

S

WH/BK

1164

5-Volt Reference

T

D-BU

1161

APP Sensor 1 Signal

T

D-BU

1161

APP Sensor 1 Signal

U

L-BU

1122

Class 2 Serial Data (JL9)

U

L-BU

1122

Class 2 Serial Data (JL9)

V-W

--

--

Not Used

V-W

--

--

Not Used

C101 Off-Engine Harness to I/P Harness (LY7)


Object Number: 68791  Size: CH

Object Number: 768083  Size: CH

Connector Part Information

  • OEM: 12193583
  • Service: 12193583
  • Description: 20-Way F Micro-Pack 100W Series Sealed (GY)

Connector Part Information

  • OEM: 15449357
  • Service: 12160542
  • Description: 20-Way M Micro-Pack 100W Series Sealed (GY)

Terminal Part Information

  • Terminal/Tray: 12084913/5
  • Core/Insulation Crimp: W/W
  • Release Tool/Test Probe: 12122523/J-35616-6 (BN)

Terminal Part Information

  • Terminal/Tray: See Terminal Repair Kit
  • Core/Insulation Crimp: See Terminal Repair Kit
  • Release Tool/Test Probe: See Terminal Repair Kit

C101 Off-Engine Harness to I/P Harness (LY7)

Pin

Wire Color

Circuit No.

Function

Pin

Wire Color

Circuit No.

Function

A

BN/WH

419

MIL Control

A

BN/WH

419

MIL Control

B

D-GN

1049

Class 2 Serial Data

B

D-GN

1049

Class 2 Serial Data

C

RD

885

Left Rear Wheel Speed Sensor Low Reference

C

RD

885

Left Rear Wheel Speed Sensor Low Reference

D

BK

884

Left Rear Wheel Speed Sensor Signal

D

BK

884

Left Rear Wheel Speed Sensor Signal

E

WH

883

Right Rear Wheel Speed Sensor Low Reference

E

WH

883

Right Rear Wheel Speed Sensor Low Reference

F

TN/WH

2500

High Speed GMLAN Serial Data Bus+ (JL4/JL9)

F

TN/WH

2500

High Speed GMLAN Serial Data Bus+ (JL4/JL9)

G

TN

2501

High Speed GMLAN Serial Data Bus- (JL4/JL9)

G

TN

2501

High Speed GMLAN Serial Data Bus- (JL4/JL9)

H

GY/BK

1798

Ground (JL4/JL9)

H

GY/BK

1798

Ground (JL4/JL9)

J

D-BU

716

Yaw Rate Sensor Signal (JL4/JL9)

J

D-BU

716

Yaw Rate Sensor Signal (JL4/JL9)

K

GY

930

5-Volt Reference (JL4/JL9)

K

GY

930

5-Volt Reference (JL4/JL9)

L

BN

882

Right Rear Wheel Speed Sensor Signal

L

BN

882

Right Rear Wheel Speed Sensor Signal

M

PU

1272

Low Reference

M

PU

1272

Low Reference

N

TN

1274

5-Volt Reference 1

N

TN

1274

5-Volt Reference 1

P

L-BU

1162

APP Sensor 2 Signal

P

L-BU

1162

APP Sensor 2 Signal

R

BN

1271

Low Reference

R

BN

1271

Low Reference

S

WH/BK

1164

5-Volt Reference 2

S

WH/BK

1164

5-Volt Reference 2

T

D-BU

1161

APP Sensor 1 Signal

T

D-BU

1161

APP Sensor 1 Signal

U

L-BU

1122

Class 2 Serial Data

U

L-BU

1122

Class 2 Serial Data

V

BN/WH

2086

Yaw Rate Sensor Test Control (JL4/JL9)

V

BN/WH

2086

Yaw Rate Sensor Test Control (JL4/JL9)

W

L-BU

715

Lateral Accelerometer Signal (JL4/JL9)

W

L-BU

715

Lateral Accelerometer Signal (JL4/JL9)

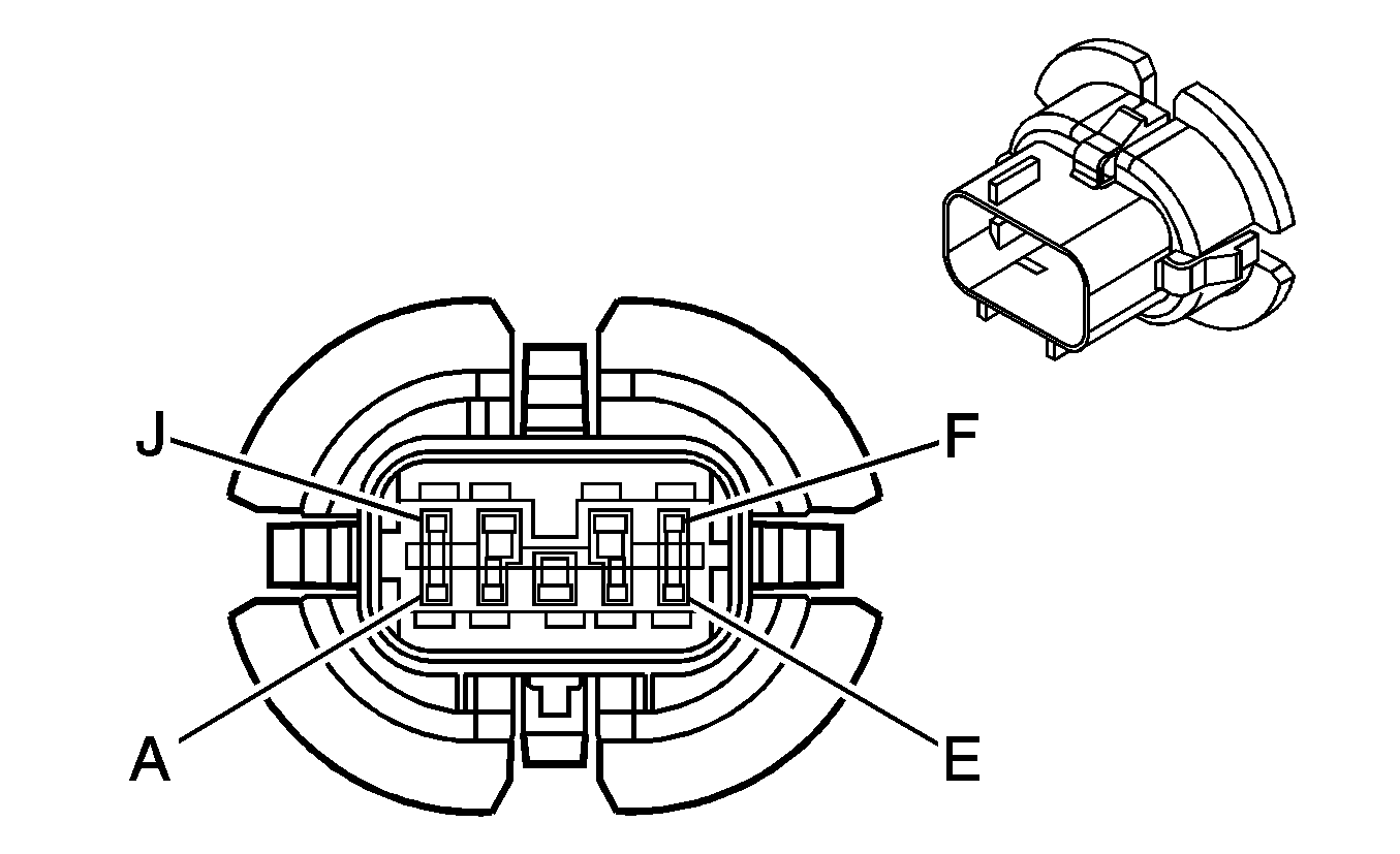
C102 Off-Engine Harness to I/P Harness (LY7)


Object Number: 684854  Size: CH

Object Number: 396241  Size: CH

Connector Part Information

  • OEM: 12162144
  • Service: 12102741
  • Description: 4-Way F Metri-Pack 150 Series Sealed (BK)

Connector Part Information

  • OEM: 12162102
  • Service: 15305839
  • Description: 4-Way M Metri-Pack 150 Series Sealed (BK)

Terminal Part Information

  • Pins: B, C
  • Terminal/Tray: 12048074/2
  • Core/Insulation Crimp: E/1
  • Release Tool/Test Probe: 12094429/J-35616-2A (GY)

Terminal Part Information

  • Pins: B, C
  • Terminal/Tray: 12045773/2
  • Core/Insulation Crimp: See Terminal Repair Kit
  • Release Tool/Test Probe: 12094429/J-35616-3 (GY)

C102 Off-Engine Harness to I/P Harness (LY7)

Pin

Wire Color

Circuit No.

Function

Pin

Wire Color

Circuit No.

Function

A

--

--

Not Used

A

--

--

Not Used

B

YE

2361

High Speed GMLAN Serial Data Bus +

B

YE

2361

High Speed GMLAN Serial Data Bus +

C

D-GN

2362

High Speed GMLAN Serial Data Bus -

C

D-GN

2362

High Speed GMLAN Serial Data Bus -

D

--

--

Not Used

D

--

--

Not Used

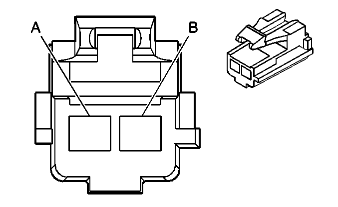
C104 I/P Harness to Engine Harness


Object Number: 684792  Size: CH

Object Number: 655682  Size: CH

Connector Part Information

  • OEM: 12052613
  • Service: 12085212
  • Description: 2-Way F 480 Metri-Pack Series Sealed (BK)

Connector Part Information

  • OEM: 12065863
  • Service: 15306133
  • Description: 2-Way M 480 Metri-Pack Series Sealed (BK)

Terminal Part Information

  • Terminal/Tray: 12052139/18
  • Core/Insulation Crimp: F/3
  • Release Tool/Test Probe: 12094430/J-35616-40 (BU)

Terminal Part Information

  • Pins: A, B
  • Terminal/Tray: 12052172/18
  • Core/Insulation Crimp: Pins: A : See Terminal Repair Kit
  • Core/Insulation Crimp: Pins: B : F/3
  • Release Tool/Test Probe: 12094430/J-35616-41 (BU)

C104 I/P Harness to Engine Harness

Pin

Wire Color

Circuit No.

Function

Pin

Wire Color

Circuit No.

Function

A

RD

1442

Battery Positive Voltage

A

RD

1442

Battery Positive Voltage

B

OG

1540

Battery Positive Voltage

B

OG

1540

Battery Positive Voltage

C107 Off-Engine Harness to On-Engine Harness (LY7)


Object Number: 816167  Size: CH

Object Number: 1372292  Size: CH

Connector Part Information

  • OEM: 12059472
  • Service: 12101830
  • Description: 7-Way F Metri-Pack 150, 280 Mixed Series Sealed (BK)

Connector Part Information

  • OEM: 12052200
  • Service: 12117321
  • Description: 7-Way M Metri-Pack 150, 480 Series Sealed (BK)

Terminal Part Information

  • Pins: A, C, D, F
  • Terminal/Tray: 12048074/2
  • Core/Insulation Crimp: E/1
  • Release Tool/Test Probe: 12094429/J-35616-2A (GY)
  • Pins: E, G
  • Terminal/Tray: 12052139/18
  • Core/Insulation Crimp: F/3
  • Release Tool/Test Probe: 12094430/J-35616-40 (BU)

Terminal Part Information

  • Pins: A, C-G
  • Terminal/Tray: See Terminal Repair Kit
  • Core/Insulation Crimp: See Terminal Repair Kit
  • Release Tool/Test Probe: See Terminal Repair Kit

C107 Off-Engine Harness to On-Engine Harness (LY7)

Pin

Wire Color

Circuit No.

Function

Pin

Wire Color

Circuit No.

Function

A

PK

639

Ignition 1 Voltage

A

PK/BK

5291

Ignition 1 Voltage

B

--

--

Not Used

B

--

--

Not Used

C

D-GN

59

A/C Compressor Clutch Supply Voltage

C

D-GN

59

A/C Compressor Clutch Supply Voltage

D

PK

239

Ignition 1 Voltage

D

PK/BK

5292

Ignition 1 Voltage

E

PU

6

Starter Solenoid Crank Voltage

E

PU

6

Starter Solenoid Crank Voltage

F

PK

839

Ignition 1 Voltage

F

PK/BK

5293

Ignition 1 Voltage

G

BK/WH

1451

Ground

G

BK/WH

1451

Ground

C108 Battery Cable Harness to I/P Harness


Object Number: 696940  Size: CH

Object Number: 696937  Size: CH

Connector Part Information

  • OEM: 12065172
  • Service: See Catalog
  • Description: 1-Way F 280 Metri-Pack Series Sealed (BK)

Connector Part Information

  • OEM: 12065171
  • Service: 12085669
  • Description: 1-Way M Metri-Pack 280 Series Sealed (BK)

Terminal Part Information

  • Terminal/Tray: See Terminal Repair Kit
  • Core/Insulation Crimp: See Terminal Repair Kit
  • Release Tool/Test Probe: See Terminal Repair Kit

Terminal Part Information

  • Terminal/Tray: See Terminal Repair Kit
  • Core/Insulation Crimp: See Terminal Repair Kit
  • Release Tool/Test Probe: See Terminal Repair Kit

C108 Battery Cable Harness to I/P Harness

Pin

Wire Color

Circuit No.

Function

Pin

Wire Color

Circuit No.

Function

A

BK/WH

151

Ground

A

BK/WH

151

Ground

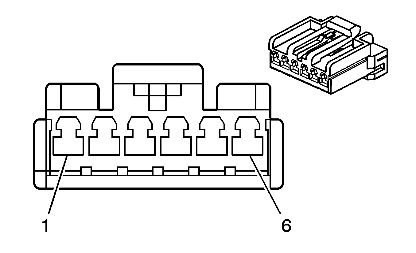
C109 On-Engine Harness to Fuel Injector Harness (LY7)


Object Number: 1331440  Size: CH

Object Number: 1480280  Size: CH

Connector Part Information

  • OEM: 1-963214-1
  • Service: 15305938
  • Description: 10-Way F (BK)

Connector Part Information

  • OEM: 1-962352-1
  • Service: 88988772
  • Description: 10-Way M 2.8 mm (BK)

Terminal Part Information

  • Pins: 1-8
  • Terminal/Tray: See Terminal Repair Kit
  • Core/Insulation Crimp: See Terminal Repair Kit
  • Release Tool/Test Probe: See Terminal Repair Kit

Terminal Part Information

  • Pins: 1-8
  • Terminal/Tray: See Terminal Repair Kit
  • Core/Insulation Crimp: See Terminal Repair Kit
  • Release Tool/Test Probe: See Terminal Repair Kit

C109 On-Engine Harness to Fuel Injector Harness (LY7)

Pin

Wire Color

Circuit No.

Function

Pin

Wire Color

Circuit No.

Function

1

PK/BK

5291

Ignition 1 Voltage

1

WH

5291

Ignition 1 Voltage

2

PK/BK

5292

Ignition 1 Voltage

2

WH

5292

Ignition 1 Voltage

3

TN

1744

Fuel Injector 1 Control

3

TN

1744

Fuel Injector 1 Control

4

PK/BK

1746

Fuel Injector 3 Control

4

PK/BK

1746

Fuel Injector 3 Control

5

TN/WH

845

Fuel Injector 5 Control

5

TN/WH

845

Fuel Injector 5 Control

6

L-GN/BK

1745

Fuel Injector 2 Control

6

L-GN/BK

1745

Fuel Injector 2 Control

7

L-BU/BK

844

Fuel Injector 4 Control

7

L-BU/BK

844

Fuel Injector 4 Control

8

YE/BK

846

Fuel Injector 6 Control

8

YE/BK

846

Fuel Injector 6 Control

9-10

--

--

Not Used

9-10

--

--

Not Used

C110 Engine Harness to Ignition Control Module (ICM) Wiring Harness (L26)


Object Number: 524196  Size: CH

Object Number: 1631313  Size: CH

Connector Part Information

  • OEM: 12047937
  • Service: 12117271
  • Description: 8-Way F Metri-Pack 150 Series Sealed (BK)

Connector Part Information

  • OEM: 12047931
  • Service: 12117270
  • Description: 8-Way M Metri-Pack 150 Series Sealed (BK)

Terminal Part Information

  • Pins: A-D, F- H
  • Terminal/Tray: 12048074/2
  • Core/Insulation Crimp: E/1
  • Release Tool/Test Probe: 12094429/J-35616-2A (GY)

Terminal Part Information

  • Terminal/Tray: See Terminal Repair Kit
  • Core/Insulation Crimp: See Terminal Repair Kit
  • Release Tool/Test Probe: See Terminal Repair Kit

C110 Engine Harness to Ignition Control Module (ICM) Wiring Harness (L26)

Pin

Wire Color

Circuit No.

Function

Pin

Wire Color

Circuit No.

Function

A

WH

423

IC Timing Control

A

WH

423

IC Timing Control

B

TN/BK

424

IC Timing Signal

B

TN/BK

424

IC Timing Signal

C

L-BU/BK

647

Medium Resolution Engine Speed Signal

C

L-BU/BK

647

Medium Resolution Engine Speed Signal

D

PU/WH

430

Low Resolution Engine Speed Signal

D

PU/WH

430

Low Resolution Engine Speed Signal

E

--

--

Not Used

E

WH

121

Engine Speed Signal

F

BK

630

Camshaft Position Signal

F

BK

630

Camshaft Position Signal

G

RD/BK

453

Low Reference

G

RD/BK

453

Low Reference

H

PK

239

Ignition 1 Voltage

H

PK

239

Ignition 1 Voltage

C120 Forward Lamp Harness to I/P Harness


Object Number: 632357  Size: CH

Object Number: 646396  Size: CH

Connector Part Information

  • OEM: 15326829
  • Service: 88953153
  • Description: 6-Way F GT 150 Series Sealed (BK)

Connector Part Information

  • OEM: 15326833
  • Service: 15326833
  • Description: 6-Way M GT 150 Series Sealed (BK)

Terminal Part Information

  • Terminal/Tray: 12191819/8
  • Core/Insulation Crimp: E/A
  • Release Tool/Test Probe: 15315247/J-35616-2A (GY)

Terminal Part Information

  • Terminal/Tray: 15326269/19
  • Core/Insulation Crimp: E/4
  • Release Tool/Test Probe: 15315247/J-35616-3 (GY)

C120 Forward Lamp Harness to I/P Harness

Pin

Wire Color

Circuit No.

Function

Pin

Wire Color

Circuit No.

Function

A

L-GN/BK

735

Ambient Air Temperature Sensor Signal

A

L-GN/BK

735

Ambient Air Temperature Sensor Signal (CJ2)

B

YE

61

Low Reference

B

YE

61

Low Reference (CJ2)

C

PU

2612

Low Reference

C

PU

2612

Low Reference

D

WH/BK

2611

Front End Sensor Signal - Right Front

D

WH/BK

2611

Front End Sensor Signal - Right Front

E

GY

2260

Low Reference

E

GY

2260

Low Reference (AK5)

F

YE

2160

Front End Discriminating Sensor Signal

F

YE

2160

Front End Discriminating Sensor Signal (AK5)

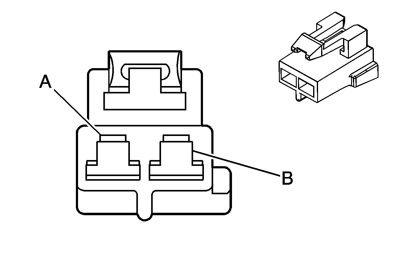
C125 Engine Harness to Knock Sensor Jumper Harness (L26)


Object Number: 696940  Size: CH

Object Number: 696937  Size: CH

Connector Part Information

  • OEM: 12065172
  • Service: See Catalog
  • Description: 1-Way F Metri-Pack 280 Series Sealed (BK)

Connector Part Information

  • OEM: 12065171
  • Service: 12085669
  • Description: 1-Way M Metri-Pack 280 Series Sealed (BK)

Terminal Part Information

  • Terminal/Tray: 12077411/2
  • Core/Insulation Crimp: 2/5
  • Release Tool/Test Probe: 12094430/J-35616-4A (PU)

Terminal Part Information

  • Terminal/Tray: See Terminal Repair Kit
  • Core/Insulation Crimp: See Terminal Repair Kit
  • Release Tool/Test Probe: See Terminal Repair Kit

C125 Engine Harness to Knock Sensor Jumper Harness (L26)

Pin

Wire Color

Circuit No.

Function

Pin

Wire Color

Circuit No.

Function

A

L-BU

1876

Knock Sensor 2 Signal

A

D-BU

1876

Knock Sensor 2 Signal

C126 Engine Coolant Temperature (ECT) Sensor Jumper Harness to Engine Harness (L26)


Object Number: 537107  Size: CH

Object Number: 605500  Size: CH

Connector Part Information

  • OEM: 12052644
  • Service: See Catalog
  • Description: 2-Way F Metri-Pack 150 Series Sealed (GY)

Connector Part Information

  • OEM: 12162343
  • Service: 12162343
  • Description: 2-Way M Metri-Pack 150 Series Sealed (GY)

Terminal Part Information

  • Terminal/Tray: See Terminal Repair Kit
  • Core/Insulation Crimp: See Terminal Repair Kit
  • Release Tool/Test Probe: See Terminal Repair Kit

Terminal Part Information

  • Terminal/Tray: 12045773/2
  • Core/Insulation Crimp: See Terminal Repair Kit
  • Release Tool/Test Probe: 12094429/J-35616-3 (GY)

C126 Engine Coolant Temperature (ECT) Sensor Jumper Harness to Engine Harness (L26)

Pin

Wire Color

Circuit No.

Function

Pin

Wire Color

Circuit No.

Function

A

BK

410

ECT Sensor Signal

A

YE

410

ECT Sensor Signal

B

YE

2761

Low Reference

B

BK

2761

Low Reference

C141 Forward Lamp Harness to Left Front Headlamp Harness


Object Number: 1420587  Size: CH

Object Number: 1413074  Size: CH

Connector Part Information

  • OEM: 15342659
  • Service: 88988393
  • Description: 6-Way F YES C/US CAR Class 3 Sealed (GY)

Connector Part Information

  • OEM: 7282-5577-10
  • Service: See Catalog
  • Description: 6-Way M YES C/US CAR Class 3 Sealed (BK)

Terminal Part Information

  • Pins: 2, 4, 5
  • Terminal/Tray: 7116-4150-02/9
  • Core/Insulation Crimp: E/1
  • Release Tool/Test Probe: 12094430/J-35616-4A (PU)

Terminal Part Information

  • Pins: 2, 4, 5
  • Terminal/Tray: See Terminal Repair Kit
  • Core/Insulation Crimp: See Terminal Repair Kit
  • Release Tool/Test Probe: See Terminal Repair Kit

C141 Forward Lamp Harness to Left Front Headlamp Harness

Pin

Wire Color

Circuit No.

Function

Pin

Wire Color

Circuit No.

Function

1

--

--

Not Used

1

--

--

Not Used

2

BK

1350

Ground

2

BK

1350

Ground

3

--

--

Not Used

3

--

--

Not Used

4

D-GN/WH

711

Left Headlamp High Beam Supply Voltage

4

D-GN/BK

711

Left Headlamp High Beam Supply Voltage

5

YE

712

Left Headlamp Low Beam Supply Voltage

5

TN/WH

712

Left Headlamp Low Beam Supply Voltage

6

--

--

Not Used

6

--

--

Not Used

C142 Forward Lamp Harness to Right Front Headlamp Harness


Object Number: 1420587  Size: CH

Object Number: 1413074  Size: CH

Connector Part Information

  • OEM: 15342659
  • Service: 88988393
  • Description: 6-Way F YES C/US CAR Class 3 Sealed (GY)

Connector Part Information

  • OEM: 7282-5577-10
  • Service: See Catalog
  • Description: 6-Way M YES C/US CAR Class 3 Sealed (BK)

Terminal Part Information

  • Pins: 2, 4, 5
  • Terminal/Tray: 7116-4150-02/9
  • Core/Insulation Crimp: E/1
  • Release Tool/Test Probe: 12094430/J-35616-4A (PU)

Terminal Part Information

  • Pins: 2, 4, 5
  • Terminal/Tray: See Terminal Repair Kit
  • Core/Insulation Crimp: See Terminal Repair Kit
  • Release Tool/Test Probe: See Terminal Repair Kit

C142 Forward Lamp Harness to Right Front Headlamp Harness

Pin

Wire Color

Circuit No.

Function

Pin

Wire Color

Circuit No.

Function

1

--

--

Not Used

1

--

--

Not Used

2

BK

1250

Ground

2

BK

150

Ground

3

--

--

Not Used

3

--

--

Not Used

4

L-GN/BK

311

Right Headlamp High Beam Supply Voltage

4

D-GN/BK

311

Right Headlamp High Beam Supply Voltage

5

TN/WH

312

Right Headlamp Low Beam Supply Voltage

5

TN/WH

312

Right Headlamp Low Beam Supply Voltage

6

--

--

Not Used

6

--

--

Not Used

C143 Forward Lamp Harness to Left Forward Lamp Jumper Harness


Object Number: 697046  Size: CH

Object Number: 73227  Size: CH

Connector Part Information

  • OEM: 12186568
  • Service: See Catalog
  • Description: 4-Way F Metri-Pack 150 Series Sealed (BK)

Connector Part Information

  • OEM: 15423441
  • Service: 12186271
  • Description: 4-Way M Metri-Pack 150 Series Sealed (GY)

Terminal Part Information

  • Pins: A, C, D
  • Terminal/Tray: 12048074/2
  • Core/Insulation Crimp: E/1
  • Release Tool/Test Probe: 12094429/J-35616-2A (GY)
  • Pins: B
  • Terminal/Tray: See Terminal Repair Kit
  • Core/Insulation Crimp: See Terminal Repair Kit
  • Release Tool/Test Probe: See Terminal Repair Kit

Terminal Part Information

  • Terminal/Tray: See Terminal Repair Kit
  • Core/Insulation Crimp: See Terminal Repair Kit
  • Release Tool/Test Probe: See Terminal Repair Kit

C143 Forward Lamp Harness to Left Forward Lamp Jumper Harness

Pin

Wire Color

Circuit No.

Function

Pin

Wire Color

Circuit No.

Function

A

PU

34

Fog Lamp Supply Voltage (T96)

A

PU

34

Fog Lamp Supply Voltage (T96)

B

BK

1350

Ground

B

BK

1350

Ground

C

L-BU/WH

1314

Left Front Turn Signal Lamp Supply Voltage

C

L-BU/WH

1314

Left Front Turn Signal Lamp Supply Voltage

D

BN

9

Park Lamp Supply Voltage

D

BN

9

Park Lamp Supply Voltage

C144 Forward Lamp Harness to Right Forward Lamp Jumper Harness


Object Number: 697046  Size: CH

Object Number: 73227  Size: CH

Connector Part Information

  • OEM: 12186568
  • Service: See Catalog
  • Description: 4-Way F Metri-Pack 150 Series Sealed (BK)

Connector Part Information

  • OEM: 15423441
  • Service: 12186271
  • Description: 4-Way M Metri-Pack 150 Series Sealed (GY)

Terminal Part Information

  • Pins: A, B, D
  • Terminal/Tray: 12048074/2
  • Core/Insulation Crimp: E/1
  • Release Tool/Test Probe: 12094429/J-35616-2A (GY)
  • Pins: C
  • Terminal/Tray: See Terminal Repair Kit
  • Core/Insulation Crimp: See Terminal Repair Kit
  • Release Tool/Test Probe: See Terminal Repair Kit

Terminal Part Information

  • Terminal/Tray: See Terminal Repair Kit
  • Core/Insulation Crimp: See Terminal Repair Kit
  • Release Tool/Test Probe: See Terminal Repair Kit

C144 Forward Lamp Harness to Right Forward Lamp Jumper Harness

Pin

Wire Color

Circuit No.

Function

Pin

Wire Color

Circuit No.

Function

A

PU

34

Fog Lamp Supply Voltage (T96)

A

PU

34

Fog Lamp Supply Voltage (T96)

B

BK

1250

Ground

B

BK

1250

Ground

C

D-BU/WH

1315

Right Front Turn Signal Lamp Supply Voltage

C

L-BU/WH

1315

Right Front Turn Signal Lamp Supply Voltage

D

BN

9

Park Lamp Supply Voltage

D

BN

9

Park Lamp Supply Voltage

C145 Forward Lamp Harness to LH Sidemarker Lamp Harness


Object Number: 68721  Size: CH

Object Number: 655682  Size: CH

Connector Part Information

  • OEM: 15300027
  • Service: 12101855
  • Description: 2-Way F Metri-Pack 280 Series, Sealed (BK)

Connector Part Information

  • OEM: 16530707
  • Service: See Catalog
  • Description: 2-Way M Metri-Pack 280 Series, Sealed (BK)

Terminal Part Information

  • Terminal/Tray: 12077411/2
  • Core/Insulation Crimp: 2/5
  • Release Tool/Test Probe: 12094430/J-35616-4A (PU)

Terminal Part Information

  • Terminal/Tray: See Terminal Repair Kit
  • Core/Insulation Crimp: See Terminal Repair Kit
  • Release Tool/Test Probe: See Terminal Repair Kit

C145 Forward Lamp Harness to LH Sidemarker Lamp Harness

Pin

Wire Color

Circuit No.

Function

Pin

Wire Color

Circuit No.

Function

A

BN

9

Park Lamp Supply Voltage

A

BN

9

Park Lamp Supply Voltage

B

BK

1350

Ground

B

BK

1350

Ground

C146 Forward Lamp Harness to RH Sidemarker Lamp Harness


Object Number: 68721  Size: CH

Object Number: 655682  Size: CH

Connector Part Information

  • OEM: 15300027
  • Service: 12101855
  • Description: 2-Way F Metri-Pack 280 Series, Sealed (BK)

Connector Part Information

  • OEM: 16530707
  • Service: See Catalog
  • Description: 2-Way M Metri-Pack 280 Series, Sealed (BK)

Terminal Part Information

  • Terminal/Tray: 12077411/2
  • Core/Insulation Crimp: 2/5
  • Release Tool/Test Probe: 12094430/J-35616-4A (PU)

Terminal Part Information

  • Terminal/Tray: See Terminal Repair Kit
  • Core/Insulation Crimp: See Terminal Repair Kit
  • Release Tool/Test Probe: See Terminal Repair Kit

C146 Forward Lamp Harness to RH Sidemarker Lamp Harness

Pin

Wire Color

Circuit No.

Function

Pin

Wire Color

Circuit No.

Function

A

BN

9

Park Lamp Supply Voltage

A

BN

9

Park Lamp Supply Voltage

B

BK

1250

Ground

B

BK

1250

Ground

C200 Body Harness to I/P Harness


Object Number: 1243490  Size: CH

Object Number: 1243496  Size: CH

Connector Part Information

  • OEM: 15368704
  • Service: 88956478
  • Description: 20-Way F Multilock 070 Series (WH)

Connector Part Information

  • OEM: 15364296
  • Service: 89046769
  • Description: 20-Way M Multilock 070 Series (WH)

Terminal Part Information

  • Pins: 19
  • Terminal/Tray: See Terminal Repair Kit
  • Core/Insulation Crimp: See Terminal Repair Kit
  • Release Tool/Test Probe: See Terminal Repair Kit
  • Pins: 1, 2, 4- 7, 9- 16, 20, 18
  • Terminal/Tray: 173630-7/7
  • Core/Insulation Crimp: E/4
  • Release Tool/Test Probe: 15315247/J-35616-33 (YE)

Terminal Part Information

  • Pins: 3
  • Terminal/Tray: See Terminal Repair Kit
  • Core/Insulation Crimp: See Terminal Repair Kit
  • Release Tool/Test Probe: See Terminal Repair Kit
  • Pins: 1, 2, 4-7, 9-16, 18-20
  • Terminal/Tray: 173633-3/15
  • Core/Insulation Crimp: Pins: 1, 2, 4-7, 9-16, 20, 18 : E/4
  • Core/Insulation Crimp: Pins: 19 : E/A
  • Release Tool/Test Probe: 15315247/J-35616-34 (YE)

C200 Body Harness to I/P Harness

Pin

Wire Color

Circuit No.

Function

Pin

Wire Color

Circuit No.

Function

1

BN

882

Right Rear Wheel Speed Sensor Signal

1

BN

882

Right Rear Wheel Speed Sensor Signal

2

BK

884

Left Rear Wheel Speed Sensor Signal

2

BK

884

Left Rear Wheel Speed Sensor Signal

3

--

--

Not Used

3

BK

1576

Rear Compartment Lid Release Switch

4

PU

2612

Low Reference

4

PU

2612

Low Reference

5

WH/BK

2611

Front End Sensor Signal - Right Front

5

WH/BK

2611

Front End Sensor Signal - Right Front

6

GY

655

Cellular Microphone Signal (UE1)

6

GY

655

Cellular Microphone Signal (UE1)

7

BARE

1705

Shielded Ground (UE1)

7

BARE

1705

Shielded Ground (UE1)

8

--

--

Not Used

8

--

--

Not Used

9

RD

885

Left Rear Wheel Speed Sensor Low Reference

9

RD

885

Left Rear Wheel Speed Sensor Low Reference

10

WH

883

Right Rear Wheel Speed Sensor Low Reference

10

WH

883

Right Rear Wheel Speed Sensor Low Reference

11

D-GN/WH

2514

Keypad Signal (UE1)

11

D-GN/WH

2514

Keypad Signal (UE1)

12

L-GN/BK

2515

Keypad Supply Voltage (UE1)

12

L-GN/BK

2515

Keypad Supply Voltage (UE1)

13

YE/BK

2516

Keypad Green LED Signal (UE1)

13

YE/BK

2516

Keypad Green LED Signal (UE1)

14

BN/WH

2517

Keypad Red LED Signal (UE1)

14

BN/WH

2517

Keypad Red LED Signal (UE1)

15

YE

2160

Front End Discriminating Sensor Signal (AK5)

15

YE

2160

Front End Discriminating Sensor Signal (AK5)

16

GY

2260

Low Reference (AK5)

16

GY

2260

Low Reference (AK5)

17

--

--

Not Used

17

--

--

Not Used

18

BK/WH

1455

Keyless Entry Program Enable Signal

18

BK/WH

1455

Keyless Entry Program Enable Signal

19

PU/WH

1630

Steering Column Key Cylinder Lock Solenoid Control

19

PU/WH

1630

Steering Column Key Cylinder Lock Solenoid Control

20

WH

5075

Current Sensor Signal

20

WH

5075

Current Sensor Signal

C201 Steering Column Harness to I/P Harness


Object Number: 1480294  Size: CH

Object Number: 655855  Size: CH

Connector Part Information

  • OEM: 15359287
  • Service: 89046969
  • Description: 40-Way F GT Mixed Series (BK)

Connector Part Information

  • OEM: 15359284
  • Service: 88988307
  • Description: 40-Way M GR 150, 280 Series (BK)

Terminal Part Information

  • Pins: A6-A8, B2- B12, C1-C6, C9, C10
  • Terminal/Tray: See Terminal Repair Kit
  • Core/Insulation Crimp: See Terminal Repair Kit
  • Release Tool/Test Probe: See Terminal Repair Kit

Terminal Part Information

  • Pins: A7, A8, B2-B12, C1-C6, C9, C10
  • Terminal/Tray: 15304702/19
  • Core/Insulation Crimp: Pins: B12 : 2/4
  • Core/Insulation Crimp: Pins: B6 : E/4
  • Core/Insulation Crimp: Pins: C1-C6, C9, C10, A7, A8, B2-B5, B7-B11, : E/C
  • Release Tool/Test Probe: 15315247/J-35616-3 (GY)
  • Pins: A6
  • Terminal/Tray: 15304722/8
  • Core/Insulation Crimp: E/C
  • Release Tool/Test Probe: 15315247/J-35616-5 (PU)

C201 Steering Column Harness to I/P Harness

Pin

Wire Color

Circuit No.

Function

Pin

Wire Color

Circuit No.

Function

A1-A5

--

--

Not Used

A1-A5

--

--

Not Used

A6

BK/WH

1551

Ground

A6

BK/WH

1551

Ground

A7

PK

1539

Ignition 1 Voltage

A7

PK

1539

Ignition 1 Voltage

A8

GY

1884

Cruise Control Switch Signal (K34)

A8

GY

1884

Cruise Control Switch Signal (K34)

B1

--

--

Not Used

B1

--

--

Not Used

B2

BK

28

Horn Relay Control

B2

BK

28

Horn Relay Control

B3

PU

1375

Remote Radio Control Supply Voltage (UK3)

B3

PU

1375

Remote Radio Control Supply Voltage (UK3)

B4

GY/BK

1458

Instrument Panel Lamp Supply Voltage - 4

B4

GY/BK

1458

Instrument Panel Lamp Supply Voltage - 4

B5

D-BU

1796

Steering Wheel Controls Signal (UK3)

B5

D-BU

1796

Steering Wheel Controls Signal (UK3)

B6

BK

1550

Ground

B6

BK

1550

Ground

B7

WH

103

Headlamp Switch Headlamps On Signal

B7

WH

103

Headlamp Switch Headlamps On Signal

B8

D-GN/WH

1135

A/T Shift Lock Control Solenoid Supply Voltage (w/o D55)

B8

D-GN/WH

1135

A/T Shift Lock Control Solenoid Supply Voltage

B9

BN

1141

Ignition 3 Voltage

B9

BN

1141

Ignition 3 Voltage

B10

PK

1239

Ignition 1 Voltage

B10

PK

1239

Ignition 1 Voltage

B11

WH

1459

Security System Sensor Supply Voltage

B11

WH

1459

Security System Sensor Supply Voltage

B12

PU/WH

1630

Steering Column Key Cylinder Lock Solenoid Control (Console Shift)

B12

PU/WH

1630

Steering Column Key Cylinder Lock Solenoid Control

C1

TN

1835

Security System Sensor Low Reference

C1

BK

1835

Security System Sensor Low Reference

C2

L-BU

1872

Exterior Lamps Off Input

C2

L-BU

1872

Exterior Lamps Off Input

C3

OG

192

Front Fog Lamp Switch Signal (T96)

C3

OG

192

Front Fog Lamp Switch Signal (T96)

C4

TN

2144

Hazard Switch Signal

C4

TN

2144

Hazard Switch Signal

C5

BN/WH

301

Park Lamp Switch On Signal

C5

BN/WH

301

Park Lamp Switch On Signal

C6

YE

5

Crank Voltage

C6

YE

5

Crank Voltage

C7-C8

--

--

Not Used

C7-C8

--

--

Not Used

C9

WH/BK

644

12-Volt Reference

C9

WH/BK

644

12-Volt Reference

C10

L-GN

80

Key In Ignition Switch Signal

C10

L-GN

80

Key In Ignition Switch Signal

C11-C12

--

--

Not Used

C11-C12

--

--

Not Used

D1-D8

--

--

Not Used

D1-D8

--

--

Not Used

C208 I/P Harness to Body Harness (JL4)


Object Number: 646384  Size: CH

Object Number: 646388  Size: CH

Connector Part Information

  • OEM: 15332153
  • Service: 88986440
  • Description: 10-Way F GT 150 Series (BK)

Connector Part Information

  • OEM: 15332158
  • Service: 88953270
  • Description: 10-Way M GT 150 Series (BK)

Terminal Part Information

  • Terminal/Tray: 12191812/19
  • Core/Insulation Crimp: E/C
  • Release Tool/Test Probe: 15315247/J-35616-2A (GY)

Terminal Part Information

  • Pins: A-D, F-K
  • Terminal/Tray: 15304702/19
  • Core/Insulation Crimp: Pins: E : E/4
  • Core/Insulation Crimp: Pins: A- D, F-K : E/C
  • Release Tool/Test Probe: 15315247/J-35616-3 (GY)

C208 I/P Harness to Body Harness (JL4)

Pin

Wire Color

Circuit No.

Function

Pin

Wire Color

Circuit No.

Function

A

BARE

814

Drain Wire (U2K)

A

BARE

814

Drain Wire (U2K)

B

BN/WH

367

Remote Radio Left Audio Signal (U2K)

B

BN/WH

367

Remote Radio Left Audio Signal (U2K)

C

D-GN/WH

368

Remote Radio Right Audio Signal (U2K)

C

D-GN/WH

368

Remote Radio Right Audio Signal (U2K)

D

BK/WH

372

Remote Radio Audio Output (-) (U2K)

D

BK/WH

372

Remote Radio Audio Output (-) (U2K)

E

PK

1039

Ignition 1 Voltage

E

PK

1039

Ignition 1 Voltage

F

GY/BK

1798

Ground

F

GY/BK

1798

Ground

G

D-BU

716

Yaw Rate Sensor Signal (JL4)

G

D-BU

716

Yaw Rate Sensor Signal (JL4)

H

GY

930

5-Volt Reference

H

GY

930

5-Volt Reference

J

BN/WH

2086

Yaw Rate Sensor Test Control (JL4)

J

BN/WH

2086

Yaw Rate Sensor Test Control (JL4)

K

L-BU

715

Lateral Accelerometer Signal (JL4)

K

L-BU

715

Lateral Accelerometer Signal (JL4)

C209 Inflatable Restraint Driver Harness to I/P Harness


Object Number: 594473  Size: CH

Object Number: 684931  Size: CH

Connector Part Information

  • OEM: 15336479
  • Service: 15306186
  • Description: 4-Way F Metri-Pack 280 Series (YE)

Connector Part Information

  • OEM: 15336467
  • Service: 15336467
  • Description: 4-Way M Metri-Pack 280 Series (YE)

Terminal Part Information

  • Terminal/Tray: See Terminal Repair Kit
  • Core/Insulation Crimp: See Terminal Repair Kit
  • Release Tool/Test Probe: See Terminal Repair Kit

Terminal Part Information

  • Terminal/Tray: See Terminal Repair Kit
  • Core/Insulation Crimp: See Terminal Repair Kit
  • Release Tool/Test Probe: See Terminal Repair Kit

C209 Inflatable Restraint Driver Harness to I/P Harness

Pin

Wire Color

Circuit No.

Function

Pin

Wire Color

Circuit No.

Function

A1

TN

3021

Steering Wheel Module - Stage1 - High Control

A1

TN

3021

Steering Wheel Module - Stage1 - High Control

A2

BN

3020

Steering Wheel Module - Stage1 - Low Control

A2

BN

3020

Steering Wheel Module - Stage1 - Low Control

B1

WH

3023

Steering Wheel Module - Stage2 - High Control

B1

WH

3023

Steering Wheel Module - Stage2 - High Control

B2

PK

3022

Steering Wheel Module - Stage2 - Low Control

B2

PK

3022

Steering Wheel Module - Stage2 - Low Control

C210 HVAC Harness to I/P Harness (C67)


Object Number: 476149  Size: CH

Object Number: 847281  Size: CH

Connector Part Information

  • OEM: 15326110
  • Service: 15306171
  • Description: 12-Way F GT 280 Series (BK)

Connector Part Information

  • OEM: 15326942
  • Service: 15326942
  • Description: 12-Way M GT 280 Series (BK)

Terminal Part Information

  • Pins: A-D, F, G, H, K
  • Terminal/Tray: See Terminal Repair Kit
  • Core/Insulation Crimp: See Terminal Repair Kit
  • Release Tool/Test Probe: See Terminal Repair Kit

Terminal Part Information

  • Pins: A, C, D, F, G, K
  • Terminal/Tray: 15304722/8
  • Core/Insulation Crimp: E/C
  • Release Tool/Test Probe: 15315247/J-35616-5 (PU)
  • Pins: B, H
  • Terminal/Tray: 15304724/8
  • Core/Insulation Crimp: A/D
  • Release Tool/Test Probe: 15315247/J-35616-5 (PU)

C210 HVAC Harness to I/P Harness (C67)

Pin

Wire Color

Circuit No.

Function

Pin

Wire Color

Circuit No.

Function

A

BK/WH

1551

Ground

A

BK/WH

1551

Ground

B

BK

1450

Ground

B

BK

1450

Ground

C

PK

739

Ignition 1 Voltage

C

PK

739

Ignition 1 Voltage

D

BK

1450

Ground

D

BK

1450

Ground

E

--

--

Not Used

E

--

--

Not Used

F

OG

1040

Battery Positive Voltage

F

OG

1040

Battery Positive Voltage

G

GY

8

Instrument Panel Lamp Supply Voltage

G

GY

8

Instrument Panel Lamp Supply Voltage

H

RD

442

Battery Positive Voltage

H

RD

442

Battery Positive Voltage

J

--

--

Not Used

J

--

--

Not Used

K

WH

1038

HVAC Class 2 Serial Data

K

WH

1038

HVAC Class 2 Serial Data

L-M

--

--

Not Used

L-M

--

--

Not Used

C210 HVAC Harness to I/P Harness (CJ2)


Object Number: 808706  Size: CH

Object Number: 38284  Size: CH

Connector Part Information

  • OEM: 12064749
  • Service: 12101888
  • Description: 2-Way F 480 Series (BK)

Connector Part Information

  • OEM: 12066387
  • Service: 12101935
  • Description: 2-Way M 480 Series (BK)

Terminal Part Information

  • Terminal/Tray: See Terminal Repair Kit
  • Core/Insulation Crimp: See Terminal Repair Kit
  • Release Tool/Test Probe: See Terminal Repair Kit

Terminal Part Information

  • Terminal/Tray: See Terminal Repair Kit
  • Core/Insulation Crimp: See Terminal Repair Kit
  • Release Tool/Test Probe: See Terminal Repair Kit

C210 HVAC Harness to I/P Harness (CJ2)

Pin

Wire Color

Circuit No.

Function

Pin

Wire Color

Circuit No.

Function

A

BK

1450

Ground

A

BK

1450

Ground

B

RD

442

Battery Positive Voltage

B

RD

442

Battery Positive Voltage

C240 Body Harness to Console Harness (D55)


Object Number: 153645  Size: CH

Object Number: 258179  Size: CH

Connector Part Information

  • OEM: 12129081
  • Service: 12129081
  • Description: 2-Way F Metri-Pack 280 Series (BK)

Connector Part Information

  • OEM: 15373541
  • Service: 12129155
  • Description: 2-Way M Metri-Pack 280 Series (BK)

Terminal Part Information

  • Terminal/Tray: 12110842/4
  • Core/Insulation Crimp: C/A
  • Release Tool/Test Probe: 15315247/J-35616-4A (PU)

Terminal Part Information

  • Terminal/Tray: See Terminal Repair Kit
  • Core/Insulation Crimp: See Terminal Repair Kit
  • Release Tool/Test Probe: See Terminal Repair Kit

C240 Body Harness to Console Harness (D55)

Pin

Wire Color

Circuit No.

Function

Pin

Wire Color

Circuit No.

Function

A

OG

2540

Battery Positive Voltage

A

OG

2540

Battery Positive Voltage

B

BK

750

Ground

B

BK

550

Ground

C241 Body Harness to PRNDL Harness


Object Number: 62439  Size: CH

Object Number: 62434  Size: CH

Connector Part Information

  • OEM: 12047886
  • Service: 12101822
  • Description: 8-Way F Metri-Pack 150 Series (BK)

Connector Part Information

  • OEM: 12045688
  • Service: 12101827
  • Description: 8-Way M Metri-Pack 150 Series (BK)

Terminal Part Information

  • Pins: C- F
  • Terminal/Tray: 12064971/5
  • Core/Insulation Crimp: E/C
  • Release Tool/Test Probe: 12094429/J-35616-2A (GY)
  • Pins: A, B
  • Terminal/Tray: 12047767/2
  • Core/Insulation Crimp: E/A
  • Release Tool/Test Probe: 12094429/J-35616-2A (GY)

Terminal Part Information

  • Pins: A- F
  • Terminal/Tray: See Terminal Repair Kit
  • Core/Insulation Crimp: See Terminal Repair Kit
  • Release Tool/Test Probe: See Terminal Repair Kit

C241 Body Harness to PRNDL Harness

Pin

Wire Color

Circuit No.

Function

Pin

Wire Color

Circuit No.

Function

A

YE

743

Accessory Voltage

A

WH

743

Accessory Voltage

B

PU

1630

Steering Column Key Cylinder Lock Solenoid Control

B

WH

1630

Steering Column Key Cylinder Lock Solenoid Control

C

GY

8

Instrument Panel Lamps Dimmer Switch Signal

C

BU

8

Instrument Panel Lamps Dimmer Switch Signal

D

BK

550

Ground

D

BU

550

Ground

E

D-GN/WH

1135

A/T Shift Lock Control Solenoid Supply Voltage

E

BK

1135

A/T Shift Lock Control Solenoid Supply Voltage

F

BK

550

Ground

F

BK

550

Ground

G-H

--

--

Not Used

G-H

--

--

Not Used

C250 I/P Harness to Body Harness


Object Number: 594473  Size: CH

Object Number: 684931  Size: CH

Connector Part Information

  • OEM: 15336479
  • Service: 15306186
  • Description: 4-Way F Metri-Pack 280 Series (YE)

Connector Part Information

  • OEM: 15336476
  • Service: 15336467
  • Description: 4-Way M Metri-Pack 280 Series (YE)

Terminal Part Information

  • Terminal/Tray: See Terminal Repair Kit
  • Core/Insulation Crimp: See Terminal Repair Kit
  • Release Tool/Test Probe: See Terminal Repair Kit

Terminal Part Information

  • Terminal/Tray: See Terminal Repair Kit
  • Core/Insulation Crimp: See Terminal Repair Kit
  • Release Tool/Test Probe: See Terminal Repair Kit

C250 I/P Harness to Body Harness

Pin

Wire Color

Circuit No.

Function

Pin

Wire Color

Circuit No.

Function

A1

TN

3021

Steering Wheel Module - Stage1 - High Control

A1

TN

3021

Steering Wheel Module - Stage1 - High Control

A2

BN

3020

Steering Wheel Module - Stage1 - Low Control

A2

BN

3020

Steering Wheel Module - Stage1 - Low Control

B1

WH

3023

Steering Wheel Module - Stage2 - High Control

B1

WH

3023

Steering Wheel Module - Stage2 - High Control

B2

PK

3022

Steering Wheel Module - Stage2 - Low Control

B2

PK

3022

Steering Wheel Module - Stage2 - Low Control

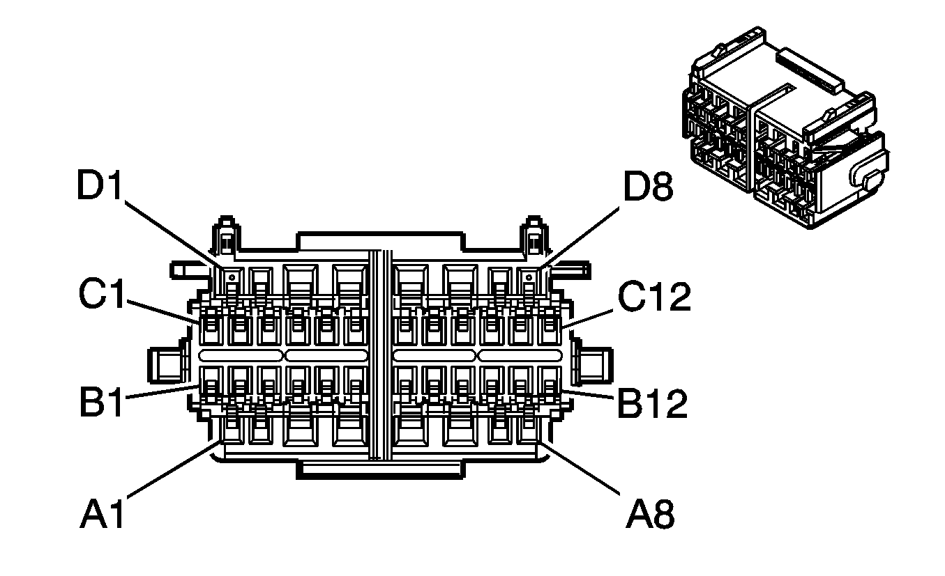
C260 Body Harness to Left Front Door Harness


Object Number: 655760  Size: CH

Object Number: 655855  Size: CH

Connector Part Information

  • OEM: 15401211
  • Service: 88953323
  • Description: 40-Way F GT Mixed Series (GY)

Connector Part Information

  • OEM: 15401208
  • Service: 88956505
  • Description: 40-Way M GT 150, 280 Series (GY)

Terminal Part Information

  • Pins: A1, A8, B3-B12, C1-C5, C8
  • Terminal/Tray: 12191812/19
  • Core/Insulation Crimp: Pins: A1, A8, B3, B4 : C/A
  • Core/Insulation Crimp: Pins: C1-C5, C8, B5-B12 : E/C
  • Release Tool/Test Probe: 15315247/J-35616-2A (GY)
  • Pins: A2-A7, D2-D4
  • Terminal/Tray: 15304713/19
  • Core/Insulation Crimp: 4/4
  • Release Tool/Test Probe: 15315247/J-35616-4A (PU)

Terminal Part Information

  • Pins: A1, A8, B3-B9, B11, B12, C1-C5, C8, B10
  • Terminal/Tray: 15304702/19
  • Core/Insulation Crimp: Pins: A1, A8, B3, B4 : 2/4
  • Core/Insulation Crimp: Pins: C1- C3, C8, B5-B9, B11, B12 : E/4
  • Core/Insulation Crimp: Pins: B10, C4, C5 : E/C
  • Release Tool/Test Probe: 15315247/J-35616-3 (GY)
  • Pins: A2-A7, D2-D4
  • Terminal/Tray: 15304724/8
  • Core/Insulation Crimp: C/D
  • Release Tool/Test Probe: 15315247/J-35616-5 (PU)

C260 Body Harness to Left Front Door Harness

Pin

Wire Color

Circuit No.

Function

Pin

Wire Color

Circuit No.

Function

A1

GY

295

Door Lock Actuator Lock Control

A1

GY

295

Door Lock Actuator Lock Control

A2

YE

143

Accessory Voltage

A2

YE

143

Accessory Voltage

A3

L-BU

166

Power Window Master Switch Right Front Up Signal

A3

L-BU

166

Power Window Master Switch Right Front Up Signal

A4

TN

167

Power Window Master Switch Right Front Down Signal

A4

TN

167

Power Window Master Switch Right Front Down Signal

A5

L-GN

170

Power Window Master Switch Right Rear Up Signal

A5

L-GN

170

Power Window Master Switch Right Rear Up Signal

A6

PU

171

Power Window Master Switch Right Rear Down Signal

A6

PU

171

Power Window Master Switch Right Rear Down Signal

A7

D-GN

168

Power Window Master Switch Left Rear Up Signal

A7

D-GN

168

Power Window Master Switch Left Rear Up Signal

A8

TN

694

Driver Door Lock Actuator Unlock Control

A8

TN

694

Driver Door Lock Actuator Unlock Control

B1-B2

--

--

Not Used

B1-B2

--

--

Not Used

B3

GY

118

Left Front Speaker Output (-)

B3

GY

118

Left Front Speaker Output (-)

B4

TN

201

Left Front Speaker Output (+)

B4

TN

201

Left Front Speaker Output (+)

B5

BN/WH

1498

Passenger Mirror Motor Down Control

B5

BN/WH

1498

Passenger Mirror Motor Down Control

B6

L-BU/WH

1497

Passenger Mirror Motor Left/Up Control

B6

L-BU/WH

1497

Passenger Mirror Motor Left/Up Control

B7

RD/WH

881

Passenger Mirror Motor Right Control

B7

RD/WH

881

Passenger Mirror Motor Right Control

B8

OG/BK

781

Driver Door Lock Switch UnLock Signal

B8

OG/BK

781

Driver Door Lock Switch UnLock Signal

B9

RD/BK

780

Driver Door Lock Switch Lock Signal

B9

RD/BK

780

Driver Door Lock Switch Lock Signal

B10

GY

8

Instrument Panel Lamps Dimmer Switch Signal

B10

GY

8

Instrument Panel Lamps Dimmer Switch Signal

B11

GY/BK

745

Left Front Door Ajar Switch Signal

B11

GY/BK

745

Left Front Door Ajar Switch Signal

B12

TN

126

Left Front Door Open Switch Signal

B12

TN

126

Left Front Door Open Switch Signal

C1

L-GN

1123

Door Lock Key Switch Lock Signal

C1

L-GN

1123

Door Lock Key Switch Lock Signal

C2

PU

1124

Door Lock Key Switch Unlock Signal

C2

PU

1124

Door Lock Key Switch Unlock Signal

C3

OG

840

Battery Positive Voltage

C3

OG

840

Battery Positive Voltage

C4

WH

2132

Side Impact Sensing Module - Left - Signal (AY1)

C4

WH

2132

Side Impact Sensing Module - Left - Signal (AY1)

C5

YE

2131

Side Impact Sensing Module - Left - Voltage (AY1)

C5

YE

2131

Side Impact Sensing Module - Left - Voltage (AY1)

C6-C7

--

--

Not Used

C6-C7

--

--

Not Used

C8

OG

267

Heated Mirror Element Supply Voltage (DK2)

C8

OG

267

Heated Mirror Element Supply Voltage (DK2)

C9-C12

--

--

Not Used

C9-C12

--

--

Not Used

D1

--

--

Not Used

D1

--

--

Not Used

D2

PU

169

Power Window Master Switch Left Rear Down Signal

D2

PU

169

Power Window Master Switch Left Rear Down Signal

D3

D-BU

1307

Power Window Master Switch Lockout Control

D3

D-BU

1307

Power Window Master Switch Lockout Control

D4

BK

550

Ground

D4

BK

550

Ground

D5-D8

--

--

Not Used

D5-D8

--

--

Not Used

C261 I/P Harness to Right Front Door Harness


Object Number: 655760  Size: CH

Object Number: 655855  Size: CH

Connector Part Information

  • OEM: 15401211
  • Service: 88953323
  • Description: 40-Way F GT Mixed Series (GY)

Connector Part Information

  • OEM: 15401208
  • Service: 88956505
  • Description: 40-Way M GT 150, 280 Series (GY)

Terminal Part Information

  • Pins: A1, A8, C1-C5, C8, B1- B4, B7-B9, B12
  • Terminal/Tray: 12191812/19
  • Core/Insulation Crimp: Pins: A1, A8, B7, B8 : C/A
  • Core/Insulation Crimp: Pins: C1-C5, C8, B1-B4, B9, B12, : E/C
  • Release Tool/Test Probe: 15315247/J-35616-2A (GY)
  • Pins: A2- A4
  • Terminal/Tray: 15304713/19
  • Core/Insulation Crimp: 4/4
  • Release Tool/Test Probe: 15315247/J-35616-4A (PU)

Terminal Part Information

  • Pins: A1, C8
  • Terminal/Tray: 15304702/19
  • Core/Insulation Crimp: Pins: A1 : 2/4
  • Core/Insulation Crimp: Pins: C8 : E/4
  • Release Tool/Test Probe: 15315247/J-35616-3 (GY)
  • Pins: A2-A4
  • Terminal/Tray: 15304724/8
  • Core/Insulation Crimp: C/D
  • Release Tool/Test Probe: 15315247/J-35616-5 (PU)
  • Pins: C1-C5, A8, B1-B4, B7-B9, B12
  • Terminal/Tray: See Terminal Repair Kit
  • Core/Insulation Crimp: See Terminal Repair Kit
  • Release Tool/Test Probe: See Terminal Repair Kit

C261 I/P Harness to Right Front Door Harness

Pin

Wire Color

Circuit No.

Function

Pin

Wire Color

Circuit No.

Function

A1

GY

295

Door Lock Actuator Lock Control

A1

GY

295

Door Lock Actuator Lock Control

A2

YE

143

Accessory Voltage

A2

YE

143

Accessory Voltage

A3

L-BU

166

Power Window Master Switch Right Front Up Signal

A3

L-BU

166

Power Window Master Switch Right Front Up Signal

A4

TN

167

Power Window Master Switch Right Front Down Signal

A4

TN

167

Power Window Master Switch Right Front Down Signal

A5-A7

--

--

Not Used

A5-A7

--

--

Not Used

A8

TN

294

Door Lock Actuator Unlock Control

A8

TN

294

Door Lock Actuator Unlock Control

B1

BN/WH

1498

Passenger Mirror Motor Left/Up Control

B1

BN/WH

1498

Passenger Mirror Motor Left/Up Control

B2

BK

750

Ground

B2

BK

750

Ground

B3

RD/WH

881

Passenger Mirror Motor Right Control

B3

RD/WH

881

Passenger Mirror Motor Right Control

B4

L-BU/WH

1497

Passenger Mirror Motor Left/Up Control

B4

L-BU/WH

1497

Passenger Mirror Motor Left/Up Control

B5-B6

--

--

Not Used

B5-B6

--

--

Not Used

B7

D-GN

117

Right Front Speaker Output (-)

B7

D-GN

117

Right Front Speaker Output (-)

B8

L-GN

200

Right Front Speaker Output (+)

B8

L-GN

200

Right Front Speaker Output (+)

B9

L-GN

1177

Right Front Door Open Switch Signal

B9

L-GN

1177

Right Front Door Open Switch Signal

B10-B11

--

--

Not Used

B10-B11

--

--

Not Used

B12

L-BU

244

Passenger Door Lock Switch Lock Signal

B12

L-BU

244

Passenger Door Lock Switch Lock Signal

C1

D-BU

245

Passenger Door Lock Switch Unlock Signal

C1

D-BU

245

Passenger Door Lock Switch Unlock Signal

C2

GY

8

Instrument Panel Lamp Supply Voltage

C2

GY

8

Instrument Panel Lamp Supply Voltage

C3

BK/WH

746

Right Front Door Ajar Switch Signal

C3

BK/WH

746

Right Front Door Ajar Switch Signal

C4

D-GN

2134

Side Impact Sensing Module - Right - Signal (AY1)

C4

D-GN

2134

Side Impact Sensing Module - Right - Signal (AY1)

C5

TN

2133

Side Impact Sensing Module - Right - Voltage (AY1)

C5

TN

2133

Side Impact Sensing Module - Right - Voltage (AY1)

C6-C7

--

--

Not Used

C6-C7

--

--

Not Used

C8

OG

267

Heated Mirror Element Supply Voltage (DK2)

C8

OG

267

Heated Mirror Element Supply Voltage (DK2)

C9-C12

--

--

Not Used

C9-C12

--

--

Not Used

D1-D8

--

--

Not Used

D1-D8

--

--

Not Used

C275 Inflatable Restraint Coil Harness to Steering Column Harness


Object Number: 62439  Size: CH

Object Number: 62434  Size: CH

Connector Part Information

  • OEM: 12047886
  • Service: 12101822
  • Description: 8-Way F Metri-Pack 150 Series (BK)

Connector Part Information

  • OEM: 12045688
  • Service: 12101827
  • Description: 8-Way M Metri-Pack 150 Series (BK)

Terminal Part Information

  • Pins: C
  • Terminal/Tray: 12064971/5
  • Core/Insulation Crimp: E/C
  • Release Tool/Test Probe: 12094429/J-35616-2A (GY)
  • Pins: A, B, D- H
  • Terminal/Tray: See Terminal Repair Kit
  • Core/Insulation Crimp: See Terminal Repair Kit
  • Release Tool/Test Probe: See Terminal Repair Kit

Terminal Part Information

  • Terminal/Tray: See Terminal Repair Kit
  • Core/Insulation Crimp: See Terminal Repair Kit
  • Release Tool/Test Probe: See Terminal Repair Kit

C275 Inflatable Restraint Coil Harness to Steering Column Harness

Pin

Wire Color

Circuit No.

Function

Pin

Wire Color

Circuit No.

Function

A

GY

1884

Cruise Control Switch Signal

A

GY

1884

Cruise Control Switch Signal

B

D-BU

28

Horn Relay Control

B

BK

28

Horn Relay Control

C

D-GN

8

Instrument Panel Lamps Dimmer Switch Signal

C

BK

8

Instrument Panel Lamps Dimmer Switch Signal

D

BK

1539

Ignition 1 Voltage

D

PK

1539

Ignition 1 Voltage

E

GY

1375

Remote Radio Control Supply Voltage (UK3)

E

PU

1375

Remote Radio Control Supply Voltage (UK3)

F

BN

1458

Instrument Panel Lamp Supply Voltage - 4

F

GY/BK

1458

Instrument Panel Lamp Supply Voltage - 4

G

YE

1796

Steering Wheel Controls Signal (UK3)

G

D-BU

1796

Steering Wheel Controls Signal

H

YE/BK

658

Cellular Telephone Voice Signal

H

D-BU

658

Cellular Telephone Voice Signal

C277 Inflatable Restraint Coil Harness to Steering Wheel Harness (UK3)


Object Number: 62439  Size: CH

Object Number: 62434  Size: CH

Connector Part Information

  • OEM: 12047886
  • Service: 12101822
  • Description: 8-Way F Metri-Pack 150 Series (BK)

Connector Part Information

  • OEM: 12045688
  • Service: 12101827
  • Description: 8-Way M Metri-Pack 150 Series (BK)

Terminal Part Information

  • Pins: C
  • Terminal/Tray: 12064971/5
  • Core/Insulation Crimp: E/C
  • Release Tool/Test Probe: 12094429/J-35616-2A (GY)
  • Pins: A, B, D- H
  • Terminal/Tray: See Terminal Repair Kit
  • Core/Insulation Crimp: See Terminal Repair Kit
  • Release Tool/Test Probe: See Terminal Repair Kit

Terminal Part Information

  • Terminal/Tray: See Terminal Repair Kit
  • Core/Insulation Crimp: See Terminal Repair Kit
  • Release Tool/Test Probe: See Terminal Repair Kit

C277 Inflatable Restraint Coil Harness to Steering Wheel Harness (UK3)

Pin

Wire Color

Circuit No.

Function

Pin

Wire Color

Circuit No.

Function

A

GY

1884

Cruise Control Switch Signal

A

GY

1884

Cruise Control Switch Signal

B

D-BU

28

Horn Relay Control

B

BK

28

Horn Relay Control

C

D-GN

8

Instrument Panel Lamps Dimmer Switch Signal

C

BK

8

Instrument Panel Lamps Dimmer Switch Signal

D

BK

1539

Ignition 1 Voltage

D

PK

1539

Ignition 1 Voltage

E

PU

1375

Remote Radio Control Supply Voltage

E

PU

1375

Remote Radio Control Supply Voltage

F

BN

1458

Instrument Panel Lamp Supply Voltage - 4

F

GY/BK

1458

Instrument Panel Lamp Supply Voltage - 4

G

PK

1539

Steering Wheel Controls Signal

G

D-BU

1539

Steering Wheel Controls Signal

PK

1539

Steering Wheel Controls Signal

D-BU

1539

Steering Wheel Controls Signal

H

D-BU

658

Cellular Telephone Voice Signal

H

D-BU

658

Cellular Telephone Voice Signal

C278 SIR Jumper Harness to Body Harness


Object Number: 594473  Size: CH

Object Number: 684931  Size: CH

Connector Part Information

  • OEM: 15336479
  • Service: 15306186
  • Description: 4-Way F Metri-Pack 280 Series (YE)

Connector Part Information

  • OEM: 15476173
  • Service: 15306363
  • Description: 4-Way M Metri-Pack 280 Series (YE)

Terminal Part Information

  • Terminal/Tray: See Terminal Repair Kit
  • Core/Insulation Crimp: See Terminal Repair Kit
  • Release Tool/Test Probe: See Terminal Repair Kit

Terminal Part Information

  • Terminal/Tray: See Terminal Repair Kit
  • Core/Insulation Crimp: See Terminal Repair Kit
  • Release Tool/Test Probe: See Terminal Repair Kit

C278 SIR Jumper Harness to Body Harness

Pin

Wire Color

Circuit No.

Function

Pin

Wire Color

Circuit No.

Function

A1

YE

3025

I/P Module - Stage1 - High Control

A1

YE

3025

I/P Module - Stage1 - High Control

A2

OG

3024

I/P Module - Stage1 - Low Control

A2

OG

3024

I/P Module - Stage1 - Low Control

B1

GY

3027

I/P Module - Stage2 - High Control

B1

GY

3027

I/P Module - Stage2 - High Control

B2

PU

3026

I/P Module - Stage2 - Low Control

B2

PU

3026

I/P Module - Stage2 - Low Control

C305 CHMSL Jumper Harness to the Body Harness


Object Number: 333035  Size: CH

Object Number: 287973  Size: CH

Connector Part Information

  • OEM: 12047781
  • Service: 12101864
  • Description: 3-Way F Metri-Pack 150 Series (BK)

Connector Part Information

  • OEM: 12047782
  • Service: 12117371
  • Description: 3-Way M Metri-Pack 150 Series (BK)

Terminal Part Information

  • Terminal/Tray: 12047767/2
  • Core/Insulation Crimp: Pins: E/A
  • Release Tool/Test Probe: 12094429/J-35616-14 (GN)

Terminal Part Information

  • Terminal/Tray: 12047581/2
  • Core/Insulation Crimp: E/A
  • Release Tool/Test Probe: 12094429/J-35616-3 (GY)

C305 CHMSL Jumper Harness to the Body Harness

Pin

Wire Color

Circuit No.

Function

Pin

Wire Color

Circuit No.

Function

A

WH

17

Stop Lamp Switch Signal

A

WH

17

Stop Lamp Switch Signal

B

BK

750

Ground

B

BK

750

Ground

C

--

--

Not Used

C

--

--

Not Used

C311 Body Harness to Left Front Seat Harness


Object Number: 813079  Size: CH

Object Number: 813080  Size: CH

Connector Part Information

  • OEM: 15336205
  • Service: 88986267
  • Description: 12-Way F GT 150, 280 Mixed Series (BK)

Connector Part Information

  • OEM: 15336209
  • Service: 88986259
  • Description: 12-Way M GT 150, 280 Mixed Series (BK)

Terminal Part Information

  • Pins: C- E, H
  • Terminal/Tray: 12191812/19
  • Core/Insulation Crimp: Pins: C : C/A
  • Core/Insulation Crimp: Pins: D, E, H : E/C
  • Release Tool/Test Probe: 15315247/J-35616-2A (GY)
  • Pins: F
  • Terminal/Tray: 15304711/8
  • Core/Insulation Crimp: E/A
  • Release Tool/Test Probe: 15315247/J-35616-4A (PU)
  • Pins: A, M
  • Terminal/Tray: 15304713/19
  • Core/Insulation Crimp: 4/4
  • Release Tool/Test Probe: 15315247/J-35616-4A (PU)

Terminal Part Information

  • Pins: C- E, H
  • Terminal/Tray: 15304702/19
  • Core/Insulation Crimp: Pins: C : 2/4
  • Core/Insulation Crimp: Pins: D, E, H : E/C
  • Release Tool/Test Probe: 15315247/J-35616-3 (GY)
  • Pins: F, M
  • Terminal/Tray: 15304722/8
  • Core/Insulation Crimp: E/C
  • Release Tool/Test Probe: 15315247/J-35616-5 (PU)
  • Pins: A
  • Terminal/Tray: 15304724/8
  • Core/Insulation Crimp: C/D
  • Release Tool/Test Probe: 15315247/J-35616-5 (PU)

C311 Body Harness to Left Front Seat Harness

Pin

Wire Color

Circuit No.

Function

Pin

Wire Color

Circuit No.

Function

A

OG

1140

Battery Positive Voltage

A

OG

1140

Battery Positive Voltage

B

--

--

Not Used

B

--

--

Not Used

C

OG

1440

Battery Positive Voltage (KA1)

C

OG

1440

Battery Positive Voltage (KA1)

D

PU

2477

Driver Heated Seat Back Only Mode Signal (KA1)

D

PU

2477

Driver Heated Seat Back Only Mode Signal (KA1)

E

YE/BK

2079

Heated Seat Cushion Temperature Sensor Signal (KA1)

E

YE/BK

2079

Heated Seat Cushion Temperature Sensor Signal (KA1)

F

BK/WH

238

Seat Belt Switch - Left

F

BK/WH

238

Seat Belt Switch - Left

G

--

--

Not Used

G

--

--

Not Used

H

YE

2080

Driver Heated Seat Cushion Temperature Sensor Low Reference (KA1)

H

YE

2080

Driver Heated Seat Cushion Temperature Sensor Low Reference (KA1)

J-L

--

--

Not Used

J-L

--

--

Not Used

M

BK

650

Ground

M

BK

650

Ground

C312 Left Front Seat Harness to Left Front Seat Back Harness (AL9)


Object Number: 39667  Size: CH

Object Number: 130711  Size: CH

Connector Part Information

  • OEM: 12129136
  • Service: 12129136
  • Description: 4-Way F Metri-Pack 280 Series (BK)

Connector Part Information

  • OEM: 12129135
  • Service: 12129135
  • Description: 4-Way M Metri-Pack 280 Series (BK)

Terminal Part Information

  • Pins: A, B
  • Terminal/Tray: See Terminal Repair Kit
  • Core/Insulation Crimp: See Terminal Repair Kit
  • Release Tool/Test Probe: See Terminal Repair Kit

Terminal Part Information

  • Pins: A, B
  • Terminal/Tray: 12020116/2
  • Core/Insulation Crimp: A/D
  • Release Tool/Test Probe: 12094430/J-35616-5 (PU)

C312 Left Front Seat Harness to Left Front Seat Back Harness (AL9)

Pin

Wire Color

Circuit No.

Function

Pin

Wire Color

Circuit No.

Function

A

D-BU/WH

611

Driver Seat Lumbar Motor Forward Control

A

D-BU

611

Driver Seat Lumbar Motor Forward Control

B

PK/BK

610

Driver Seat Lumbar Motor Rearward Control

B

PK

610

Driver Seat Lumbar Motor Rearward Control

C-D

--

--

Not Used

C-D

--

--

Not Used

C313 Body Harness to Right Front Seat Harness


Object Number: 823321  Size: CH

Object Number: 823318  Size: CH

Connector Part Information

  • OEM: 15336219
  • Service: 15336219
  • Description: 16-Way F GT 150, 280 Series Sealed (BK)

Connector Part Information

  • OEM: 15336224
  • Service: 88986321
  • Description: 16-Way M GT 150, 280 Series Sealed (BK)

Terminal Part Information

  • Pins: C- F,K- R
  • Terminal/Tray: 12191812/19
  • Core/Insulation Crimp: Pins: K : C/A
  • Core/Insulation Crimp: Pins: C- F, L- R : E/C
  • Release Tool/Test Probe: 15315247/J-35616-2A (GY)
  • Pins: S
  • Terminal/Tray: 15304711/8
  • Core/Insulation Crimp: E/A
  • Release Tool/Test Probe: 15315247/J-35616-4A (PU)
  • Pins: J, A
  • Terminal/Tray: 15304713/19
  • Core/Insulation Crimp: Pins: J : 4/4
  • Core/Insulation Crimp: Pins: A : F/D
  • Release Tool/Test Probe: 15315247/J-35616-4A (PU)

Terminal Part Information

  • Pins: C-F,K-R
  • Terminal/Tray: 15304702/19
  • Core/Insulation Crimp: Pins: K : 2/4
  • Core/Insulation Crimp: Pins: C-F, L- R : E/C
  • Release Tool/Test Probe: 15315247/J-35616-3 (GY)
  • Pins: A, S
  • Terminal/Tray: 15304722/8
  • Core/Insulation Crimp: E/C
  • Release Tool/Test Probe: 15315247/J-35616-5 (PU)
  • Pins: J
  • Terminal/Tray: 15304724/8
  • Core/Insulation Crimp: C/D
  • Release Tool/Test Probe: 15315247/J-35616-5 (PU)

C313 Body Harness to Right Front Seat Harness

Pin

Wire Color

Circuit No.

Function

Pin

Wire Color

Circuit No.

Function

A

BK

850

Ground

A

BK

850

Ground

B

--

--

Not Used

B

--

--

Not Used

C

GY

2434

Passenger Heated Seat Cushion Temperature Sensor Signal (KA1)

C

GY

2434

Passenger Heated Seat Cushion Temperature Sensor Signal (KA1)

D

TN/WH

2430

Passenger Heated Seat Back Only Mode Signal (KA1)

D

TN/WH

2430

Passenger Heated Seat Back Only Mode Signal (KA1)

E

RD

1362

Seat Belt Switch - Right - Signal

E

RD

1362

Seat Belt Switch - Right - Signal

F

PK

2435

Passenger Heated Seat Cushion Temperature Sensor Low Reference (KA1)

F

PK

2435

Passenger Heated Seat Cushion Temperature Sensor Low Reference (KA1)

G-H

--

--

Not Used

G-H

--

--

Not Used

J

OR

1140

Battery Positive Voltage

J

OR

1140

Battery Positive Voltage

K

OR

1440

Battery Positive Voltage

K

OR

1440

Battery Positive Voltage

L

BK/WH

1751

Ground

L

BK/WH

1751

Ground

M

PK

2306

Occupant Sensor Serial Data Link

M

PK

2306

Occupant Sensor Serial Data Link

N

D-BU

2307

Passenger Air Bag On Indicator Control

N

D-BU

2307

Passenger Air Bag On Indicator Control

P

D-GN

2308

Passenger Air Bag Off Indicator Control

P

D-GN

2308

Passenger Air Bag Off Indicator Control

R

OR

640

Battery Positive Voltage

R

OR

640

Battery Positive Voltage

S

YE

1139

Ignition 1 Voltage

S

YE

1139

Ignition 1 Voltage

C315 Right Front Seat Safety Harness to Body Harness


Object Number: 966375  Size: CH

Object Number: 646194  Size: CH

Connector Part Information

  • OEM: 12077921
  • Service: See Catalog
  • Description: 2-Way F Metri-Pack 280 Series (YE)

Connector Part Information

  • OEM: 12186799
  • Service: 15306012
  • Description: 2-Way M Metri-Pack 280 Series P2S (YE)

Terminal Part Information

  • Terminal/Tray: 12034046/2
  • Core/Insulation Crimp: E/A
  • Release Tool/Test Probe: 12094430/J-35616-4A (PU)

Terminal Part Information

  • Terminal/Tray: 12066337/18
  • Core/Insulation Crimp: E/A
  • Release Tool/Test Probe: 12094429/J-35616-5 (PU)

C315 Right Front Seat Safety Harness to Body Harness

Pin

Wire Color

Circuit No.

Function

Pin

Wire Color

Circuit No.

Function

A

L-GN

2116

Seat Belt Pretensioner - Right - High Control

A

L-GN

2116

Seat Belt Pretensioner - Right - High Control

B

OG

2117

Seat Belt Pretensioner - Right - Low Control

B

OG

2117

Seat Belt Pretensioner - Right - Low Control

C316 Left Front Seat Safety Harness to Body Harness


Object Number: 966375  Size: CH

Object Number: 646194  Size: CH

Connector Part Information

  • OEM: 12077921
  • Service: See Catalog
  • Description: 2-Way F Metri-Pack 280 Series (YE)

Connector Part Information

  • OEM: 12186799
  • Service: 15306012
  • Description: 2-Way M Metri-Pack 280 Series P2S (YE)

Terminal Part Information

  • Terminal/Tray: 12034046/2
  • Core/Insulation Crimp: E/A
  • Release Tool/Test Probe: 12094430/J-35616-4A (PU)

Terminal Part Information

  • Terminal/Tray: 12066337/18
  • Core/Insulation Crimp: E/A
  • Release Tool/Test Probe: 12094429/J-35616-5 (PU)

C316 Left Front Seat Safety Harness to Body Harness

Pin

Wire Color

Circuit No.

Function

Pin

Wire Color

Circuit No.

Function

A

BK/WH

2118

Seat Belt Pretensioner - Left - High Control

A

BK/WH

2118

Seat Belt Pretensioner - Left - High Control

B

OG/BK

2119

Seat Belt Pretensioner - Left - Low Control

B

OG/BK

2119

Seat Belt Pretensioner - Left - Low Control

C317 Headliner Harness to Roof Harness


Object Number: 82383  Size: CH

Object Number: 35441  Size: CH

Connector Part Information

  • OEM: 12047662
  • Service: 12085535
  • Description: 2-Way F Metri-Pack 150 Series (BK)

Connector Part Information

  • OEM: 12047663
  • Service: 12058709
  • Description: 2-Way M Metri-Pack 150 Series (BK)

Terminal Part Information

  • Terminal/Tray: 12064971/5
  • Core/Insulation Crimp: E/C
  • Release Tool/Test Probe: 12094429/J-35616-2A (GY)

Terminal Part Information

  • Terminal/Tray: See Terminal Repair Kit
  • Core/Insulation Crimp: See Terminal Repair Kit
  • Release Tool/Test Probe: See Terminal Repair Kit

C317 Headliner Harness to Roof Harness

Pin

Wire Color

Circuit No.

Function

Pin

Wire Color

Circuit No.

Function

A

OG

1732

Inadvertent Power Courtesy Lamp

A

OG

1732

Inadvertent Power Courtesy Lamp

B

BK

750

Ground

B

BK

750

Ground

C318 Headliner Harness to Roof Harness


Object Number: 82383  Size: CH

Object Number: 35441  Size: CH

Connector Part Information

  • OEM: 12047662
  • Service: 12085535
  • Description: 2-Way F Metri-Pack 150 Series (BK)

Connector Part Information

  • OEM: 12047663
  • Service: 12058709
  • Description: 2-Way M Metri-Pack 150 Series (BK)

Terminal Part Information

  • Terminal/Tray: 12064971/5
  • Core/Insulation Crimp: E/C
  • Release Tool/Test Probe: 12094429/J-35616-2A (GY)

Terminal Part Information

  • Terminal/Tray: See Terminal Repair Kit
  • Core/Insulation Crimp: See Terminal Repair Kit
  • Release Tool/Test Probe: See Terminal Repair Kit

C318 Headliner Harness to Roof Harness

Pin

Wire Color

Circuit No.

Function

Pin

Wire Color

Circuit No.

Function

A

OG

1732

Inadvertent Power Courtesy Lamp

A

OG

1732

Inadvertent Power Courtesy Lamp

B

BK

750

Ground

B

BK

750

Ground

C355 Body Harness to Left Rear Door Harness


Object Number: 1243551  Size: CH

Object Number: 1243552  Size: CH

Connector Part Information

  • OEM: 15441216
  • Service: 89046932
  • Description: 9-Way F GT 150, 280 Series Sealed (BK)

Connector Part Information

  • OEM: 15486551
  • Service: 88953404
  • Description: 9-Way M GT 150, 280 Series Sealed (GY)

Terminal Part Information

  • Pins: B, A, D- F
  • Terminal/Tray: 12191819/8
  • Core/Insulation Crimp: Pins: B, E : 2/A
  • Core/Insulation Crimp: Pins: A, D, F : E/A
  • Release Tool/Test Probe: 15315247/J-35616-2A (GY)
  • Pins: C, G, H
  • Terminal/Tray: 15304717/8
  • Core/Insulation Crimp: 4/1
  • Release Tool/Test Probe: 15315247/J-35616-4A (PU)

Terminal Part Information

  • Pins: A- H
  • Terminal/Tray: See Terminal Repair Kit
  • Core/Insulation Crimp: See Terminal Repair Kit
  • Release Tool/Test Probe: See Terminal Repair Kit

C355 Body Harness to Left Rear Door Harness

Pin

Wire Color

Circuit No.

Function

Pin

Wire Color

Circuit No.

Function

A

BK

550

Ground

A

BK

550

Ground

B

TN

294

Door Lock Actuator Unlock Control

B

TN

294

Door Lock Actuator Unlock Control

C

D-BU

1307

Power Window Master Switch Lockout Control

C

D-BU

1307

Power Window Master Switch Lockout Control

D

D-BU/WH

1179

Left Rear Door Open Switch Signal

D

D-BU/WH

1179

Left Rear Door Open Switch Signal

E

GY

295

Door Lock Actuator Lock Control

E

GY

295

Door Lock Actuator Lock Control

F

L-BU/BK

747

Left Rear Door Ajar Switch Signal

F

L-BU/BK

747

Left Rear Door Ajar Switch Signal

G

D-GN

168

Power Window Master Switch Left Rear Up Signal

G

D-GN

168

Power Window Master Switch Left Rear Up Signal

H

PU

169

Power Window Master Switch Left Rear Down Signal

H

PU

169

Power Window Master Switch Left Rear Down Signal

J

--

--

Not Used

J

--

--

Not Used

C356 Body Harness to Right Rear Door Harness


Object Number: 1243551  Size: CH

Object Number: 1243552  Size: CH

Connector Part Information

  • OEM: 15441216
  • Service: 89046932
  • Description: 9-Way F GT 150, 280 Series Sealed (BK)

Connector Part Information

  • OEM: 15486551
  • Service: 88953404
  • Description: 9-Way M GT 150, 280 Series Sealed (GY)

Terminal Part Information

  • Pins:A, B, D-F
  • Terminal/Tray: 12191819/8
  • Core/Insulation Crimp: Pins: B, E : 2/A
  • Core/Insulation Crimp: Pins: A, D, F : E/A
  • Release Tool/Test Probe: 15315247/J-35616-2A (GY)
  • Pins: C, G, H
  • Terminal/Tray: 15304717/8
  • Core/Insulation Crimp: 4/1
  • Release Tool/Test Probe: 15315247/J-35616-4A (PU)

Terminal Part Information

  • Pins: A- H
  • Terminal/Tray: See Terminal Repair Kit
  • Core/Insulation Crimp: See Terminal Repair Kit
  • Release Tool/Test Probe: See Terminal Repair Kit

C356 Body Harness to Right Rear Door Harness

Pin

Wire Color

Circuit No.

Function

Pin

Wire Color

Circuit No.

Function

A

BK

750

Ground

A

BK

750

Ground

B

TN

294

Door Lock Actuator Unlock Control

B

TN

294

Door Lock Actuator Unlock Control

C

D-BU

1307

Power Window Master Switch Lockout Control

C

D-BU

1307

Power Window Master Switch Lockout Control

D

YE/BK

1181

Right Rear Door Open Switch Signal

D

YE/BK

1181

Right Rear Door Open Switch Signal

E

GY

295

Door Lock Actuator Lock Control

E

GY

295

Door Lock Actuator Lock Control

F

L-GN/BK

748

Right Rear Door Ajar Switch Signal

F

L-GN/BK

748

Right Rear Door Ajar Switch Signal

G

L-GN

170

Power Window Master Switch Right Rear Up Signal

G

L-GN

170

Power Window Master Switch Right Rear Up Signal

H

PU

171

Power Window Master Switch Right Rear Down Signal

H

PU

171

Power Window Master Switch Right Rear Down Signal

J

--

--

Not Used

J

--

--

Not Used

C390 Headliner Harness to Body harness


Object Number: 800518  Size: CH

Object Number: 646377  Size: CH

Connector Part Information

  • OEM: 15332177
  • Service: See Catalog
  • Description: 16-Way F GT 150 Series (BK)

Connector Part Information

  • OEM: 15332182
  • Service: 15306371
  • Description: 16-Way M GT 150 Series (BK)

Terminal Part Information

  • Pins: A- G, J-S
  • Terminal/Tray: 12191812/19
  • Core/Insulation Crimp: Pins: A- D : C/A
  • Core/Insulation Crimp: Pins: E- G, J-S : E/C
  • Release Tool/Test Probe: 15315247/J-35616-2A (GY)

Terminal Part Information

  • Pins: A-G, J-S
  • Terminal/Tray: 15304702/19
  • Core/Insulation Crimp: Pins: A- D : 2/4
  • Core/Insulation Crimp: Pins: E : E/4
  • Core/Insulation Crimp: Pins: F, G, J-S : E/C
  • Release Tool/Test Probe: 15315247/J-35616-3 (GY)

C390 Headliner Harness to Body harness

Pin

Wire Color

Circuit No.

Function

Pin

Wire Color

Circuit No.

Function

A

BK

750

Ground

A

BK

750

Ground

B

GY/BK

690

Courtesy Lamp Supply Voltage

B

GY/BK

690

Courtesy Lamp Supply Voltage

C

OG

1732

Courtesy Lamps Supply Voltage

C

OG

1732

Courtesy Lamps Supply Voltage

D

YE

643

Accessory Voltage (D88)

D

YE

643

Accessory Voltage (D88)

E

L-GN

24

Backup Lamp Supply Voltage

E

L-GN

24

Backup Lamp Supply Voltage

F

GY

655

Cellular Microphone Signal (UE1)

F

GY

655

Cellular Microphone Signal (UE1)

G

BARE

1705

Shielded Ground (UE1/UG)

G

BARE

1705

Shielded Ground (UE1/UG)

H

--

--

Not Used

H

--

--

Not Used

J

WH

2370

Telltale Supply Voltage (UD7)

J

WH

2370

Telltale Supply Voltage (UD7)

K

OG

2371

Left Amber Indicator Control (UD7)

K

OG

2371

Left Amber Indicator Control (UD7)

L

D-BU

2372

Center Amber Indicator Control (UD7)

L

D-BU

2372

Center Amber Indicator Control (UD7)

M

GY

2373

Red Indicator Control (UD7)

M

GY

2373

Red Indicator Control (UD7)

N

D-GN/WH

2514

Keypad Signal (UE1)

N

D-GN/WH

2514

Keypad Signal (UE1)

P

L-GN/BK

2515

Keypad Supply Voltage (UE1)

P

L-GN/BK

2515

Keypad Supply Voltage (UE1)

R

YE/BK

2516

Keypad Green LED Signal (UE1)

R

YE/BK

2516

Keypad Green LED Signal (UE1)

S

BN/WH

2517

Keypad Red LED Signal (UE1)

S

BN/WH

2517

Keypad Red LED Signal (UE1)

C398 Roof Harness to Sunroof Harness (CF5)


Object Number: 1243561  Size: CH

Object Number: 1243565  Size: CH

Connector Part Information

  • OEM: 174923-2
  • Service: 88953355
  • Description: 6-Way F Amp Multi-Lock 070 Series (BK)

Connector Part Information

  • OEM: 15448099
  • Service: 89046642
  • Description: 6-Way M Amp Multi-Lock 070 Series (BK)

Terminal Part Information

  • Pins: 1-5
  • Terminal/Tray: See Terminal Repair Kit
  • Core/Insulation Crimp: See Terminal Repair Kit
  • Release Tool/Test Probe: See Terminal Repair Kit

Terminal Part Information

  • Pins: 1-5
  • Terminal/Tray: 173633-3/15
  • Core/Insulation Crimp: Pins: 5 : 2/A
  • Core/Insulation Crimp: Pins: 1, 2, 3 : E/4
  • Core/Insulation Crimp: Pins: 4 : E/A
  • Release Tool/Test Probe: 15315247/J-35616-34 (YE)

C398 Roof Harness to Sunroof Harness (CF5)

Pin

Wire Color

Circuit No.

Function

Pin

Wire Color

Circuit No.

Function

1

BN

100

Sunroof Switch Open Signal

1

BN

100

Sunroof Switch Open Signal

2

OG

110

Sunroof Switch Close Signal

2

OG

110

Sunroof Switch Close Signal

3

D-BU

128

Sunroof Switch Low Reference

3

D-BU

128

Sunroof Switch Low Reference

4

BK

750

Ground

4

BK

750

Ground

5

YE

643

Accessory Voltage

5

YE

643

Accessory Voltage

6

--

--

Not Used

6

--

--

Not Used

C400 Rear Deck Lid Harness to Body Harness


Object Number: 62439  Size: CH

Object Number: 62434  Size: CH

Connector Part Information

  • OEM: 12047886
  • Service: 12101822
  • Description: 8-Way F Metri-Pack 150 Series (BK)

Connector Part Information

  • OEM: 15422329
  • Service: 12101827
  • Description: 8-Way M Metri-Pack 150 Series (BK)

Terminal Part Information

  • Pins: D- F, H
  • Terminal/Tray: See Terminal Repair Kit
  • Core/Insulation Crimp: See Terminal Repair Kit
  • Release Tool/Test Probe: See Terminal Repair Kit

Terminal Part Information

  • Pins: D- F, H
  • Terminal/Tray: 12047581/2
  • Core/Insulation Crimp: E/C
  • Release Tool/Test Probe: 12094429/J-35616-3 (GY)

C400 Rear Deck Lid Harness to Body Harness

Pin

Wire Color

Circuit No.

Function

Pin

Wire Color

Circuit No.

Function

A-C

--

--

Not Used

A-C

--

--

Not Used

D

OG/BK

737

Rear Compartment Lamp Control

D

OG/BK

737

Rear Compartment Lamp Control

E

BK

750

Ground

E

BK

750

Ground

F

L-BU

1344

Trunk Release Relay Control

F

L-BU

1344

Trunk Release Relay Control

G

--

--

Not Used

G

--

--

Not Used

H

RD/BK

744

Rear Compartment Lid Ajar Switch

H

RD/BK

744

Rear Compartment Lid Ajar Switch

C401 Body Harness to Left Rear Lamp Harness


Object Number: 684854  Size: CH

Object Number: 396241  Size: CH

Connector Part Information

  • OEM: 12162144
  • Service: 12102741
  • Description: 4-Way F Metri-Pack 150 Series Sealed (BK)

Connector Part Information

  • OEM: 12162102
  • Service: 15305839
  • Description: 4-Way M Metri-Pack 150 Series Sealed (BK)

Terminal Part Information

  • Terminal/Tray: 12048074/2
  • Core/Insulation Crimp: E/1
  • Release Tool/Test Probe: 12094429/J-35616-2A (GY)

Terminal Part Information

  • Terminal/Tray: See Terminal Repair Kit
  • Core/Insulation Crimp: See Terminal Repair Kit
  • Release Tool/Test Probe: See Terminal Repair Kit

C401 Body Harness to Left Rear Lamp Harness

Pin

Wire Color

Circuit No.

Function

Pin

Wire Color

Circuit No.

Function

A

YE

18

Left Rear Stop/Turn Lamp Supply Voltage

A

YE

18

Left Rear Stop/Turn Lamp Supply Voltage

B

BN

9

Park Lamp Supply Voltage

B

BN

9

Park Lamp Supply Voltage

C

L-GN

24

Backup Lamp Supply Voltage

C

D-GN

24

Backup Lamp Supply Voltage

D

BK

550

Ground

D

BK

150

Ground

C402 Body Harness to Right Rear Lamp Harness


Object Number: 684854  Size: CH

Object Number: 396241  Size: CH

Connector Part Information

  • OEM: 12162144
  • Service: 12102741
  • Description: 4-Way F Metri-Pack 150 Series Sealed (BK)

Connector Part Information

  • OEM: 12162102
  • Service: 15305839
  • Description: 4-Way M Metri-Pack 150 Series Sealed (BK)

Terminal Part Information

  • Terminal/Tray: 12048074/2
  • Core/Insulation Crimp: E/1
  • Release Tool/Test Probe: 12094429/J-35616-2A (GY)

Terminal Part Information

  • Terminal/Tray: See Terminal Repair Kit
  • Core/Insulation Crimp: See Terminal Repair Kit
  • Release Tool/Test Probe: See Terminal Repair Kit

C402 Body Harness to Right Rear Lamp Harness

Pin

Wire Color

Circuit No.

Function

Pin

Wire Color

Circuit No.

Function

A

D-GN

19

Right Rear Stop/Turn Lamp Supply Voltage

A

YE

18

Right Rear Stop/Turn Lamp Supply Voltage

B

BN

9

Park Lamp Supply Voltage

B

BN

9

Park Lamp Supply Voltage

C

L-GN

24

Backup Lamp Supply Voltage

C

D-GN

24

Backup Lamp Supply Voltage

D

BK

750

Ground

D

BK

150

Ground

C405 Fuel Tank Harness to Body Harness


Object Number: 1219453  Size: CH

Object Number: 623045  Size: CH

Connector Part Information

  • OEM: 12146439/15317611
  • Service: 15305883
  • Description: 4-Way F Metri-Pack 150 Series Sealed (GY)/8-Way Metri-Pack 280 Sealed (BK)

Connector Part Information

  • OEM: 15326714
  • Service: 15305991
  • Description: 12-Way M Metri-Pack 150 Series Sealed (GY)

Terminal Part Information

  • Pins: A-H (15317611)
  • Terminal/Tray: 12110847/4
  • Core/Insulation Crimp: Pins: A, C, D : C/5
  • Core/Insulation Crimp: Pins: B, F, G, H : E/5
  • Release Tool/Test Probe: 15315247/J-35616-4A (PU)

Terminal Part Information

  • Pins: 1A-1D, 3A-3D, 3F-3H
  • Terminal/Tray: See Terminal Repair Kit
  • Core/Insulation Crimp: See Terminal Repair Kit
  • Release Tool/Test Probe: See Terminal Repair Kit

C405 Fuel Tank Harness to Body Harness

Pin

Wire Color

Circuit No.

Function

Pin

Wire Color

Circuit No.

Function

A

BN

882

Right Rear Wheel Speed Sensor Signal

1A

BN

882

Right Rear Wheel Speed Sensor Signal

B

WH

883

Right Rear Wheel Speed Sensor Low Reference

1B

WH

883

Right Rear Wheel Speed Sensor Low Reference

C

BK

884

Left Rear Wheel Speed Sensor Signal

1C

BK

884

Left Rear Wheel Speed Sensor Signal

D

RD

885

Left Rear Wheel Speed Sensor Low Reference

1D

RD

885

Left Rear Wheel Speed Sensor Low Reference

A

BK

150

Ground

3A

BK

1850

Ground

B

BK/WH

651

Low Reference

3B

BK

2759

Low Reference

C

GY

120

Fuel Pump Supply Voltage

3C

GY

120

Fuel Pump Supply Voltage

D

PU

30

Fuel Level Sensor Signal

3D

PU

1589

Fuel Level Sensor Signal

E

--

--

Not Used

3E

--

--

Not Used

F

GY/BK

416

5-Volt Reference 2

3F

GY

2709

5-Volt Reference 2

G

D-GN

890

Fuel Tank Pressure Sensor Signal

3G

D-GN

890

Fuel Tank Pressure Sensor Signal

H

OG/BK

469

Low Reference

3H

BK

2759

Low Reference

BK

2759

Low Reference

C406 Body Harness to License Lamp Harness


Object Number: 523630  Size: CH

Object Number: 681875  Size: CH

Connector Part Information

  • OEM: 15326801
  • Service: 15306156
  • Description: 2-Way F Global Terminal 150 Series Sealed (BK)

Connector Part Information

  • OEM: 15324570
  • Service: 15306166
  • Description: 2-Way M Global Terminal 150 Series Sealed (BK)

Terminal Part Information

  • Terminal/Tray: 12191819/8
  • Core/Insulation Crimp: E/A
  • Release Tool/Test Probe: 15315247/J-35616-2A (GY)

Terminal Part Information

  • Terminal/Tray: See Terminal Repair Kit
  • Core/Insulation Crimp: See Terminal Repair Kit
  • Release Tool/Test Probe: See Terminal Repair Kit

C406 Body Harness to License Lamp Harness

Pin

Wire Color

Circuit No.

Function

Pin

Wire Color

Circuit No.

Function

A

BN

9

Park Lamp Supply Voltage

A

BN

9

Park Lamp Supply Voltage

B

BK

550

Ground

B

BK

550

Ground

C450 Body Harness to Rear Park Assist Harness (UD7)


Object Number: 646400  Size: CH

Object Number: 684916  Size: CH

Connector Part Information

  • OEM: 15465945
  • Service: 88986452
  • Description: 8-Way F Global Terminal 150 Series Sealed (BK)

Connector Part Information

  • OEM: 15476174
  • Service: 15326840
  • Description: 8-Way M Global Terminal 150 Series Sealed (BK)

Terminal Part Information

  • Pins: A- F
  • Terminal/Tray: 12191819/8
  • Core/Insulation Crimp: E/A
  • Release Tool/Test Probe: 15315247/J-35616-2A (GY)

Terminal Part Information

  • Pins: A- F
  • Terminal/Tray: See Terminal Repair Kit
  • Core/Insulation Crimp: See Terminal Repair Kit
  • Release Tool/Test Probe: See Terminal Repair Kit

C450 Body Harness to Rear Park Assist Harness (UD7)

Pin

Wire Color

Circuit No.

Function

Pin

Wire Color

Circuit No.

Function

A

YE

2375

LR Corner Object Sensor Signal

A

YE

2375

LR Corner Object Sensor Signal

B

OG

2376

LR Middle Object Sensor Signal

B

OG

2376

LR Middle Object Sensor Signal

C

D-GN

2377

RR Middle Object Sensor Signal

C

D-GN

2377

RR Middle Object Sensor Signal

D

RD

2378

RR Corner Object Sensor Signal

D

RD

2378

RR Corner Object Sensor Signal

E

D-BU

2374

Object Sensor Supply Voltage

E

D-BU

2374

Object Sensor Supply Voltage

F

GY

2379

Object Sensor Low Reference

F

GY

2379

Object Sensor Low Reference

G-H

--

--

Not Used

G-H

--

--

Not Used

C501 Left Front Door Harness to Left Front Door Trim Harness


Object Number: 655760  Size: CH

Object Number: 655855  Size: CH

Connector Part Information

  • OEM: 15401211
  • Service: 88953323
  • Description: 40-Way F GT 150 280 Series (GY)

Connector Part Information

  • OEM: 15463191
  • Service: 88988433
  • Description: 40-Way M GT 150 280 Series (GY)

Terminal Part Information

  • Pins: C1-C4, B5- B10
  • Terminal/Tray: 12191812/19
  • Core/Insulation Crimp: E/C
  • Release Tool/Test Probe: 15315247/J-35616-2A (GY)
  • Pins: A2- A7, D2, D3-D6
  • Terminal/Tray: 15304713/19
  • Core/Insulation Crimp: 4/4
  • Release Tool/Test Probe: 15315247/J-35616-4A (PU)

Terminal Part Information

  • Pins: A2-A4
  • Terminal/Tray: 15304724/8
  • Core/Insulation Crimp: C/D
  • Release Tool/Test Probe: 15315247/J-35616-5 (PU)
  • Pins: C1-C4, A5- A7, B5-B10, D2- D6
  • Terminal/Tray: See Terminal Repair Kit
  • Core/Insulation Crimp: See Terminal Repair Kit
  • Release Tool/Test Probe: See Terminal Repair Kit

C501 Left Front Door Harness to Left Front Door Trim Harness

Pin

Wire Color

Circuit No.

Function

Pin

Wire Color

Circuit No.

Function

A1

--

--

Not Used

A1

--

--

Not Used

A2

YE

143

Accessory Voltage

A2

YE

143

Accessory Voltage

A3

L-BU

166

Power Window Master Switch Right Front Up Signal

A3

L-BU

166

Power Window Master Switch Right Front Up Signal

A4

TN

167

Power Window Master Switch Right Front Down Signal

A4

TN

167

Power Window Master Switch Right Front Down Signal

A5

L-GN

170

Power Window Master Switch Right Rear Up Signal

A5

L-GN

170

Power Window Master Switch Right Rear Up Signal

A6

PU

171

Power Window Master Switch Right Rear Down Signal

A6

PU

171

Power Window Master Switch Right Rear Down Signal

A7

D-GN

168

Power Window Master Switch Left Rear Up Signal

A7

D-GN

168

Power Window Master Switch Left Rear Up Signal

A8

--

--

Not Used

A8

--

--

Not Used

B1-B4

--

--

Not Used

B1-B4

--

--

Not Used

B5

BN/WH

1498

Passenger Mirror Motor Up Control

B5

BN/WH

1498

Passenger Mirror Motor Up Control

B6

L-BU/WH

1497

Passenger Mirror Motor Left/Down Control

B6

L-BU/WH

1497

Passenger Mirror Motor Left/Down Control

B7

RD/WH

881

Passenger Mirror Motor Right Control

B7

RD/WH

881

Passenger Mirror Motor Right Control

B8

OG/BK

781

Driver Door Lock Switch Unlock Signal

B8

OG/BK

781

Driver Door Lock Switch Unlock Signal

B9

RD/BK

780

Driver Door Lock Switch Lock Signal

B9

RD/BK

780

Driver Door Lock Switch Lock Signal

B10

GY

8

Instrument Panel Lamp Supply Voltage

B10

GY

8

Instrument Panel Lamp Supply Voltage

B11-B12

--

--

Not Used

B11-B12

--

--

Not Used

C1

WH

81

Driver Mirror Motor Right Control

C1

WH

81

Driver Mirror Motor Right Control

C2

YE

88

Driver Mirror Motor Up Control

C2

YE

88

Driver Mirror Motor Up Control

C3

OG

840

Battery Positive Voltage

C3

OG

840

Battery Positive Voltage

C4

L-GN

1499

Driver Mirror Motor Left/Down Control

C4

L-GN

1499

Driver Mirror Motor Left/Down Control

C5-C12

--

--

Not Used

C5-C12

--

--

Not Used

D1

--

--

Not Used

D1

--

--

Not Used

D2

PU

169

Power Window Master Switch Left Rear Down Signal

D2

PU

169

Power Window Master Switch Left Rear Down Signal

D3

D-BU

1307

Power Window Master Switch Lockout Signal

D3

D-BU

1307

Power Window Master Switch Lockout Signal

D4

BK

550

Ground

D4

BK

550

Ground

D5

BN

165

Power Window Motor Left Front Down Control

D5

BN

165

Power Window Motor Left Front Down Control

D6

D-BU

164

Power Window Motor Left Front Up Control

D6

D-BU

164

Power Window Motor Left Front Up Control

D7-D8

--

--

Not Used

D7-D8

--

--

Not Used

C601 Right Front Door Harness to Right Front Door Trim Harness


Object Number: 655760  Size: CH

Object Number: 655855  Size: CH

Connector Part Information

  • OEM: 15401211
  • Service: 88953323
  • Description: 40-Way F GT 150 280 Series (GY)

Connector Part Information

  • OEM: 15463191
  • Service: 88988433
  • Description: 40-Way M GT 150 280 Series (GY)

Terminal Part Information

  • Pins: C1, B2, B12, C2
  • Terminal/Tray: 12191812/19
  • Core/Insulation Crimp: E/C
  • Release Tool/Test Probe: 15315247/J-35616-2A (GY)
  • Pins: A2- A4
  • Terminal/Tray: 15304713/19
  • Core/Insulation Crimp: 4/4
  • Release Tool/Test Probe: 15315247/J-35616-4A (PU)
  • Pins: A5, A6
  • Terminal/Tray: See Terminal Repair Kit
  • Core/Insulation Crimp: See Terminal Repair Kit
  • Release Tool/Test Probe: See Terminal Repair Kit

Terminal Part Information

  • Pins: B2, C1, B12, C2
  • Terminal/Tray: 15304702/19
  • Core/Insulation Crimp: Pins: B2 : E/4
  • Core/Insulation Crimp: Pins: C1, B12, C2 : E/C
  • Release Tool/Test Probe: 15315247/J-35616-3 (GY)
  • Pins: A2- A6
  • Terminal/Tray: 15304724/8
  • Core/Insulation Crimp: C/D
  • Release Tool/Test Probe: 15315247/J-35616-5 (PU)

C601 Right Front Door Harness to Right Front Door Trim Harness

Pin

Wire Color

Circuit No.

Function

Pin

Wire Color

Circuit No.

Function

A1

--

--

Not Used

A1

--

--

Not Used

A2

YE

143

Accessory Voltage

A2

YE

143

Accessory Voltage

A3

L-BU

166

Power Window Master Switch Right Front Up Signal

A3

L-BU

166

Power Window Master Switch Right Front Up Signal

A4

TN

167

Power Window Master Switch Right Front Down Signal

A4

TN

167

Power Window Master Switch Right Front Down Signal

A5

D-BU

666

Power Window Motor Right Front Up Control

A5

D-BU

666

Power Window Motor Right Front Up Control

A6

BN

667

Power Window Motor Right Front Down Control

A6

BN

667

Power Window Motor Right Front Down Control

A7-A8

--

--

Not Used

A7-A8

--

--

Not Used

B1

--

--

Not Used

B1

--

--

Not Used

B2

BK

750

Ground

B2

BK

750

Ground

B3-B11

--

--

Not Used

B3-B11

--

--

Not Used

B12

L-BU

244

Passenger Door Lock Switch Lock Signal

B12

L-BU

244

Passenger Door Lock Switch Lock Signal

C1

D-BU

245

Passenger Door Lock Switch Unlock

C1

D-BU

245

Passenger Door Lock Switch Unlock

C2

GY

8

Instrument Panel Lamp Supply Voltage

C2

GY

8

Instrument Panel Lamp Supply Voltage

C3-C12

--

--

Not Used

C3-C12

--

--

Not Used

D1-D8

--

--

Not Used

D1-D8

--

--

Not Used