GM Service Manual Online
For 1990-2009 cars only
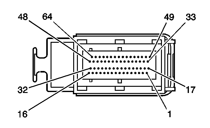
Connector 1: Engine Control Module (ECM) C1
Connector 2: Engine Control Module (ECM) C2

Engine Control Module (ECM) C1


Object Number: 816165  Size: CH

Connector Part Information

  • OEM: 1 928 403 379
  • Service: See Catalog
  • Description: 64-Way F (BK)

Terminal Part Information

  • Pins: 1, 3- 5, 7- 10, 12, 13, 15-17, 19- 21, 23, 25, 26, 29- 31, 33, 35-43, 45- 50, 52- 59, 62-64
  • Terminal/Tray: See Terminal Repair Kit
  • Core/Insulation Crimp: See Terminal Repair Kit
  • Release Tool/Test Probe: See Terminal Repair Kit

Engine Control Module (ECM) C1

Pin

Wire Color

Circuit No.

Function

1

TN

407

KS Low Reference Bank 2

2

--

--

Not Used

3

L-GN

5278

HO2S Input Pump Current Sensor 1

4

OG

5275

CMP Sensor Signal - Intake Bank 1

5

GY

605

5-Volt Reference 1

6

--

--

Not Used

7

TN

470

Low Reference

8

PU

486

TP Sensor 2 Signal

9

D-GN/WH

2124

Ignition Control 4

10

WH/BK

5039

CKP Sensor Signal

11

--

--

Not Used

12

OG/BK

5272

CMP Actuator Solenoid Control - Intake Bank 2

13

L-GN

5282

CMP Actuator Solenoid Control - Exhaust Bank 1

14

--

--

Not Used

15

BN

582

TAC Motor Control - 2

16

GY/WH

3113

HO2S Heater Low Control Sensor 1

17

GY

1716

KS Low Reference Bank 1

18

--

--

Not Used

19

PU/WH

1665

HO2S High Signal

20

D- GN

5273

CMP Sensor Signal - Exhaust Bank 1

21

GY

23

Generator Field Duty Cycle Signal

22

--

--

Not Used

23

YE

410

ECT Sensor Signal

24

--

--

Not Used

25

L-BU/WH

2126

Ignition Control 6

26

OG/WH

2122

Ignition Control 2

27-28

--

--

Not Used

29

PU

5284

Actuator Solenoid Control - Intake Bank 1

30

WH/BK

5283

Actuator Solenoid Control - Exhaust Bank 2

31

YE

581

TAC Motor Control - 1

32

--

--

Not Used

33

D-BU

496

KS Signal Bank 1

34

--

--

Not Used

35

WH

5279

HO2S Pump Current

36

PU

5274

CMP Sensor Signal - Exhaust Bank 2

37

BN

1174

Oil Level Switch Signal

38

D-GN/WH

357

Oil Temperature Sensor Signal

39

TN

2752

Low Reference

40

TN/BK

231

Engine Oil Pressure Switch Signal

41

D-GN

2125

Ignition Control 5

42

PU

2121

Ignition Control 1

43

OG

225

Generator Turn On Signal

44

--

--

Not Used

45

L-BU/BK

844

Fuel Injector 4 Control

46

PK/BK

1746

Fuel Injector 3 Control

47

TN/WH

845

Fuel Injector 5 Control

48

D-GN/WH

428

EVAP Canister Purge Solenoid Valve Control

49

GY/BK

1798

Ground

50

L-BU

1876

KS Signal Bank 2

51

--

--

Not Used

52

TN

1664

HO2S Low Signal

53

YE

5276

CMP Sensor Signal Intake Bank 2

54

GY

2701

5-Volt Reference

55

D-GN

485

TP Sensor 1 Signal

56

L-GN/BK

5266

MAP Sensor Signal

57

GY

705

5-Volt Reference 2

58

L-BU

2123

Ignition Control 3

59

PU/WH

5024

Low Reference

60-61

--

--

Not Used

62

L-GN/BK

1745

Fuel Injector 2 Control

63

TN

1744

Fuel Injector 1 Control

64

YE/BK

846

Fuel Injector 6 Control

Engine Control Module (ECM) C2


Object Number: 1522872  Size: CH

Connector Part Information

  • OEM: 1 928 403 514
  • Service: See Catalog
  • Description: 64-Way F (BK)

Terminal Part Information

  • Pins: 1- 5, 7-12, 15, 17, 19, 20, 22-26, 29, 32, 33, 35- 37, 39, 40, 42-44, 48-50, 55-60
  • Terminal/Tray: See Terminal Repair Kit
  • Core/Insulation Crimp: See Terminal Repair Kit
  • Release Tool/Test Probe: See Terminal Repair Kit

Engine Control Module (ECM) C2

Pin

Wire Color

Circuit No.

Function

1

PK

39

Ignition 1 Voltage

2

BK/WH

3122

HO2S Heater Low Control Sensor 2

3

PK

439

Ignition 1 Voltage

4

D-BU

473

High Speed Cooling Fan Relay Control

5

WH

121

Engine Speed Signal

6

--

--

Not Used

7

WH/BK

1164

5-Volt Reference 2

8

PU

1272

Low Reference

9

RD/BK

380

A/C Refrigerant Pressure Sensor Signal

10

WH

17

Stop Lamp Switch Signal

11

TN

472

IAT Sensor Signal

12

D-GN

890

Fuel Tank Pressure Sensor Signal

13-14

--

--

Not Used

15

OG/BK

463

Requested Torque Signal

16

--

--

Not Used

17

PK

39

Ignition 1 Voltage

18

--

--

Not Used

19

D-GN/WH

465

Fuel Pump Relay Control

20

D-GN

335

Low Speed Cooling Fan Relay Control

21

--

--

Not Used

22

D-GN

389

Vehicle Speed Signal

23

D-BU

6105

High Speed GMLAN Serial Data Bus +

24

BN

5069

Main Relay Control

25

BK

2759

Low Reference

26

BK

2760

Low Reference

27-28

--

--

Not Used

29

PU

3120

HO2S High Signal

30-31

--

--

Not Used

32

OG/BK

1786

Park/Neutral Signal

33

WH

1310

EVAP Canister Vent Solenoid Control

34

--

--

Not Used

35

YE/BK

625

Starter Enable Relay Control

36

OG

540

Battery Positive Voltage

37

TN/BK

464

Delivered Torque Signal

38

--

--

Not Used

39

GY

2709

5-Volt Reference 2

40

BN

1271

Low Reference

41

--

--

Not Used

42

PU

1589

Fuel Level Sensor Signal

43

YE

492

MAF Sensor Signal

44

L-BU

1162

APP Sensor 2 Signal

45-47

--

--

Not Used

48

D-GN

1049

ECM Class 2 Serial Data

49

D-GN/WH

459

A/C Compressor Clutch Relay Control

50

BN/WH

419

MIL Control

51-54

--

--

Not Used

55

L-BU

6106

High Speed GMLAN Serial Data Bus -

56

TN

1274

5-Volt Reference 1

57

TN/WH

3121

HO2S Low Signal

58

BN

1141

Ignition 3 Voltage

59

GY

1884

Cruise Control Set/Coast and Resume/Accelerate Switch Signal

60

D-BU

1161

APP Sensor 1 Signal

61-64

--

--

Not Used