GM Service Manual Online
For 1990-2009 cars only
Makes
🢒
Buick
🢒
2008
🢒
LaCrosse
🢒
Engine
🢒
Engine Mechanical - 4.8L, 5.3L, 6.0L, 6.2L, or 7.0L
🢒 Disassembled Views
Figure
1:
Intake Manifold/Upper Engine
(100)
Engine Block
(307)
Engine Coolant Air Bleed Pipe
(308)
Seal
(308)
Seal
(309)
Bolt
(311)
Coolant Hose
(312)
Bolt
(313)
Engine Coolant Air Bleed Cover
(322)
Clamp
(451)
Valve Lifter Oil Manifold
(452)
Valve Lifter Oil Filter
(454)
O-ring
(500)
Intake Manifold
(506)
Bolt
(508)
Throttle Body
(509)
Throttle Body Gasket
(510)
Fuel Rail with Injectors
(511)
Bolt
(512)
Bolt
(513)
Seal
(514)
Intake Manifold Gasket
(538)
Bolt
(556)
Valve Lifter Oil Manifold Gasket
(557)
Fuel Rail Ground Strap
(560)
Bolt/Stud
(706)
Oil Pressure Sensor
(707)
Washer
(714)
Manifold Absolute Pressure (MAP) Sensor
(715)
O-ring
(729)
Evaporative Emission (EVAP) Canister Purge Tube
(730)
EVAP Canister Purge Solenoid Valve
(736)
MAP Sensor Bolt
(741)
EVAP Canister Purge Solenoid Valve Bracket
Figure
2:
Cylinder Head/Upper Engine
(100)
Engine Block
(209)
Valve Lifter - Non Active Fuel Management
(210)
Valve Lifter Guide
(211)
Bolt
(212)
Pushrod
(213)
Rocker Arm
(214)
Bolt
(215)
Rocker Arm Pivot Support
(216)
Core Hole Plug
(217)
Cylinder Head Gasket
(218)
Cylinder Head
(219)
Valve Lifter - Active Fuel Management
(220)
Bolt - M11
(221)
Bolt - M8
(222)
Valve Stem Oil Seal
(223)
Valve Spring
(224)
Valve Spring Cap
(225)
Valve Stem Key
(226)
Core Hole Plug
(227)
Intake Valve
(228)
Exhaust Valve
(229)
Cylinder Head Coolant Plug
(230)
Cylinder Head Locating Pin
(422)
Oil Fill Tube O-ring
(423)
Oil Fill Tube
(424)
Oil Fill Cap
(450)
Oil Fill Cap O-ring
(504)
Valve Cover Gasket
(504)
Valve Cover Gasket
(505)
Valve Cover
(505)
Valve Cover
(515)
Valve Cover Bolt Grommet
(515)
Valve Cover Bolt Grommet
(516)
Bolt
(516)
Bolt
(600)
Exhaust Manifold
(601)
Exhaust Manifold Gasket
(602)
Bolt
(603)
Exhaust Manifold Heat Shield
(604)
Bolt
(605)
Stud
(606)
Exhaust Pipe
(607)
Nut
(608)
Bolt
(609)
Heat Shield
(700)
Positive Crankcase Ventilation (PCV) Hose - Fresh Air
(716)
PCV Hose - Dirty Air
(719)
Ignition Coil Bracket
(720)
Bolt
(721)
Ignition Coil Wire Harness
(722)
Ignition Coil
(723)
Bolt
(724)
Spark Plug Wire
(725)
Coolant Temperature Sensor (CTS)
(726)
Spark Plug
Figure
3:
Front of Engine
(1)
Bolt
(2)
Water Pump
(3)
Water Pump Gasket
(4)
Bolt
(5)
Water Manifold
(6)
O-Ring
(7)
Coolant Cap
(8)
Water Manifold Gasket
(9)
O-Ring
(10)
Thermostat
(11)
Water Inlet Housing
(12)
Bolt
(13)
Engine Block
(14)
Camshaft Bearings
(15)
Camshaft
(16)
Camshaft Sprocket Locating Pin
(17)
Camshaft Retainer
(18)
Bolt
(19)
Camshaft Sprocket
(20)
Bolt
(21)
Crankshaft Sprocket
(22)
Timing Chain
(23)
Timing Chain Tensioner
(24)
Bolt
(25)
Front Cover Gasket
(26)
Front Cover
(27)
O-Ring
(28)
Camshaft Position (CMP) Sensor
(29)
Bolt
(30)
Crankshaft Front Oil Seal
(31)
Bolt
(32)
Crankshaft Balancer
(33)
Bolt
(34)
Bolt
(35)
Oil Pump Assembly
(36)
Bolt
(37)
Oil Pump Cover
(38)
Drive Gear
(39)
Driven Gear
(40)
Plug
(41)
Pressure Relief Valve Spring
(42)
Pressure Relief Valve
(43)
O-Ring
(44)
Bolt
(45)
Nut
(46)
Oil Pump Screen
Figure
4:
Rear of Engine
(100)
Engine Block
(132)
Flex Plate - Automatic Transmission
(133)
Bolt
(141)
Crankshaft Rear Oil Seal
(517)
Bolt
(518)
Crankshaft Rear Oil Seal Housing
(519)
Crankshaft Rear Oil Seal Housing Gasket
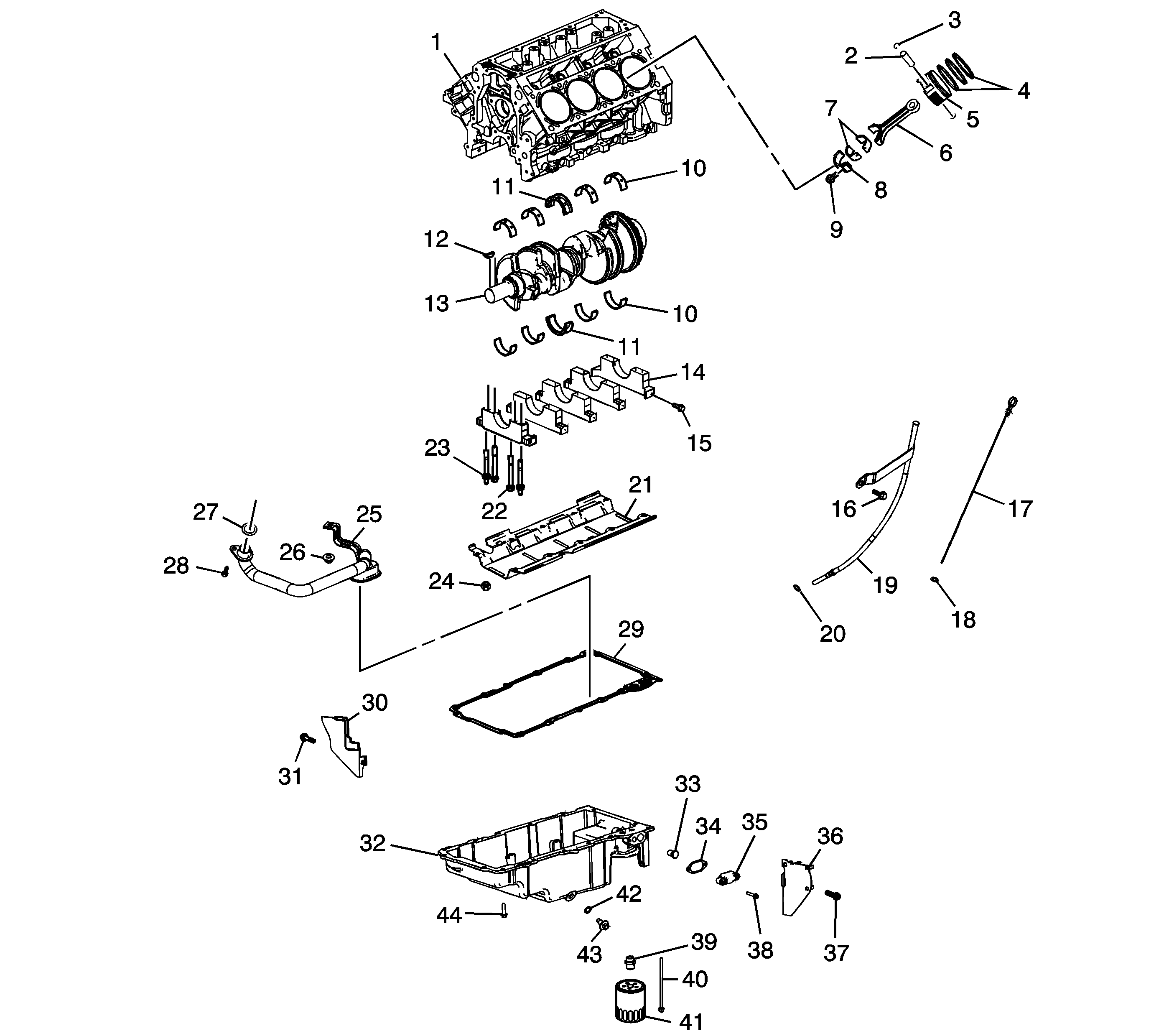
Figure
5:
Lower Engine Assembly
(1)
Engine Block
(2)
Piston Pin
(3)
Retainer
(4)
Piston Rings
(5)
Piston
(6)
Connecting Rod
(7)
Connecting Rod Bearings
(8)
Connecting Rod Cap
(9)
Bolt
(10)
Crankshaft Main Bearing
(10)
Crankshaft Main Bearing
(11)
Crankshaft Thrust Bearing
(11)
Crankshaft Thrust Bearing
(12)
Crankshaft Sprocket Key
(13)
Crankshaft
(14)
Crankshaft Bearing Cap
(15)
Bolt - M8
(16)
Bolt
(17)
Oil Level Indicator
(18)
O-Ring
(19)
Oil Level Indicator Tube
(20)
O-Ring
(21)
Crankshaft Oil Deflector
(22)
Bolt - M10
(23)
Stud - M10
(24)
Nut
(25)
Oil Pump Screen
(26)
Nut
(27)
O-Ring
(28)
Bolt
(29)
Oil Pan Gasket
(30)
Cover - Right
(31)
Bolt
(32)
Oil Pan
(33)
Oil Pressure Relief Valve - Active Fuel Management
(34)
Oil Pan Cover Gasket
(35)
Cover
(36)
Cover - Left
(37)
Bolt
(38)
Bolt
(39)
Oil Filter Fitting
(40)
Bolt
(41)
Oil Filter
(42)
O-Ring
(43)
Oil Pan Drain Plug
(44)
Bolt
Figure
6:
Engine Block Plugs/Sensors
(100)
Engine Block
(100)
Engine Block
(101)
Oil Gallery Plug - Front
(110)
O-Ring
(111)
Oil Gallery Plug - Rear
(112)
Oil Gallery Plug - Side
(113)
Washer
(114)
Coolant Heater
(115)
Washer
(116)
Oil Gallery Plug - Side
(117)
Washer
(130)
Transmission Housing Locating Pin
(145)
Washer
(146)
Engine Block Coolant Drain Hole Plug
(701)
Crankshaft Position (CKP) Sensor
(702)
O-Ring
(718)
Knock Sensor
(718)
Knock Sensor
(739)
Bolt
(739)
Bolt
(750)
Bolt
Figure
7:
Oil Pump Assembly
(408)
Bolt
(409)
Oil Pump Housing Cover
(410)
Oil Pump Drive Gear
(412)
Oil Pump Driven Gear
(413)
Oil Pump
(414)
Oil Pump Pressure Relief Valve
(415)
Oil Pump Pressure Relief Valve Spring
(416)
Oil Pump Housing Plug