GM Service Manual Online
For 1990-2009 cars only

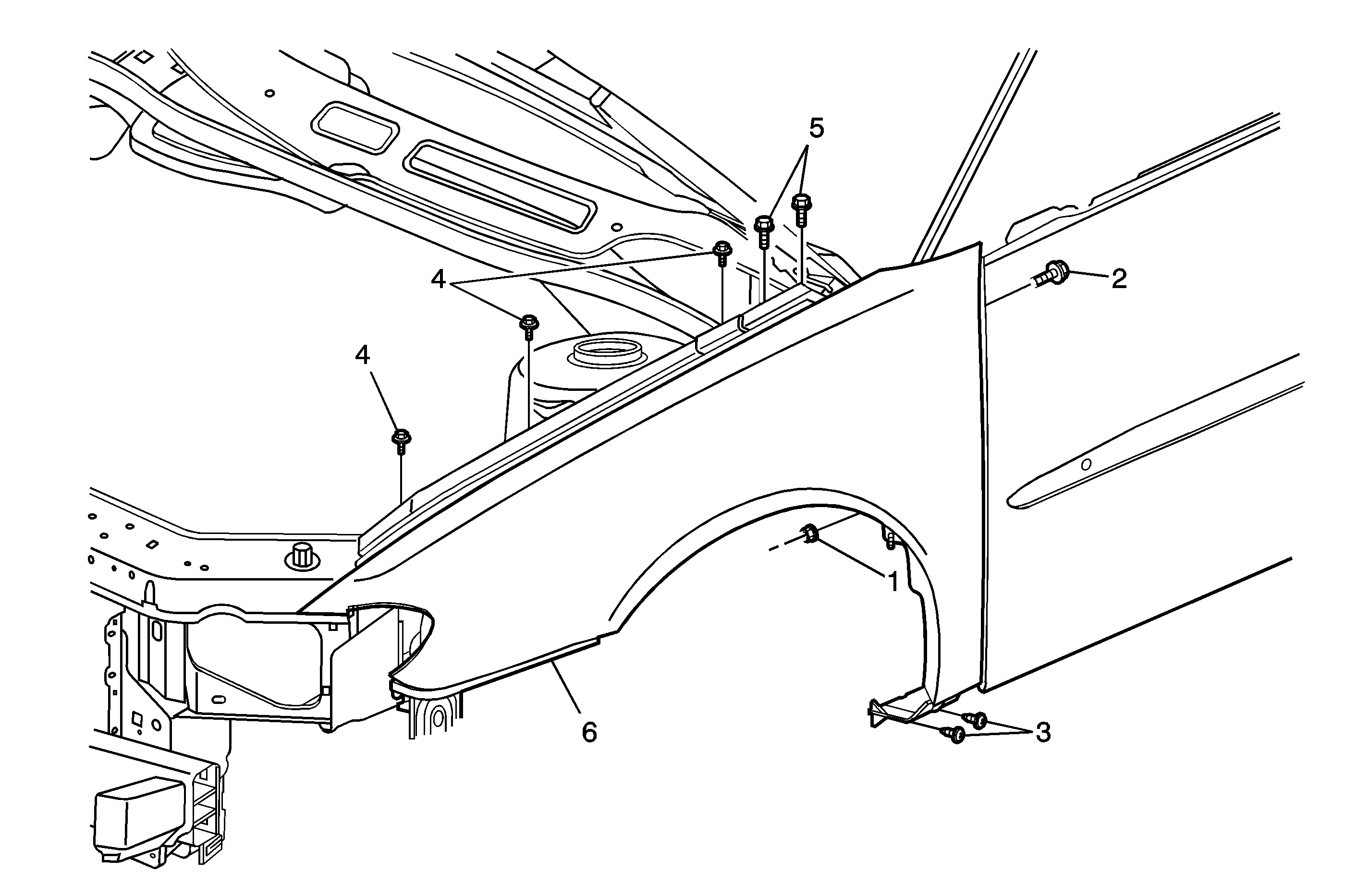
Object Number: 1751809  Size: MF

Callout

Component Name

Preliminary Procedure

Remove the front fender liner. Refer to Front Fender Liner Replacement.

1

Front Fender Nuts (Qty: 2)

Notice: Refer to Fastener Notice in the Preface section.

Tighten
8 N·m (70 lb in)

2

Fender Bolts (Qty: 1)

Tighten
8 N·m (70 lb in)

3

Fender Bolts (Qty: 2)

Tighten
8 N·m (70 lb in)

4

Fender Bolts (Qty: 3)

Tighten
8 N·m (70 lb in)

5

Fender to Hood Hinge Bolts (Qty: 2)

Tighten
25 N·m (18 lb ft)

6

Fender Assembly