GM Service Manual Online
For 1990-2009 cars only

Storing a Flat or Spare Tire and Tools Base Model

Caution: Storing a jack, a tire, or other equipment in the passenger compartment of the vehicle could cause injury. In a sudden stop or collision, loose equipment could strike someone. Store all these in the proper place.

After the compact spare tire has been installed on the vehicle, store the flat tire in the trunk.

When storing a full-size tire, use the extension with the extension protector, located in the foam holder, to help avoid wheel surface damage.

To store a full-size tire:

  1. Install the tools in their original location in the trunk area and secure.
  2. Place the tire valve stem facing down and the protector/guide placed through a wheel bolt hole.
  3. Remove the protector and attach the retainer securely.
  4. Store the cover as far forward as possible.

When storing a compact spare tire in the trunk, put the protector back in the foam holder.

The compact spare is for temporary use only. Replace the compact spare tire with a full-size tire as soon as you can. See Compact Spare Tire. Use this as a guide for storing the compact spare tire and tools.

Compact Spare Tire


Object Number: 1522628  Size: A4
  1. Cover

  2. Retainer

  3. Compact Spare Tire

  4. Wing Nut

  5. Jack

  6. Wheel Wrench

  7. Extension Protector

  8. Foam Holder

  9. Bolt Screw

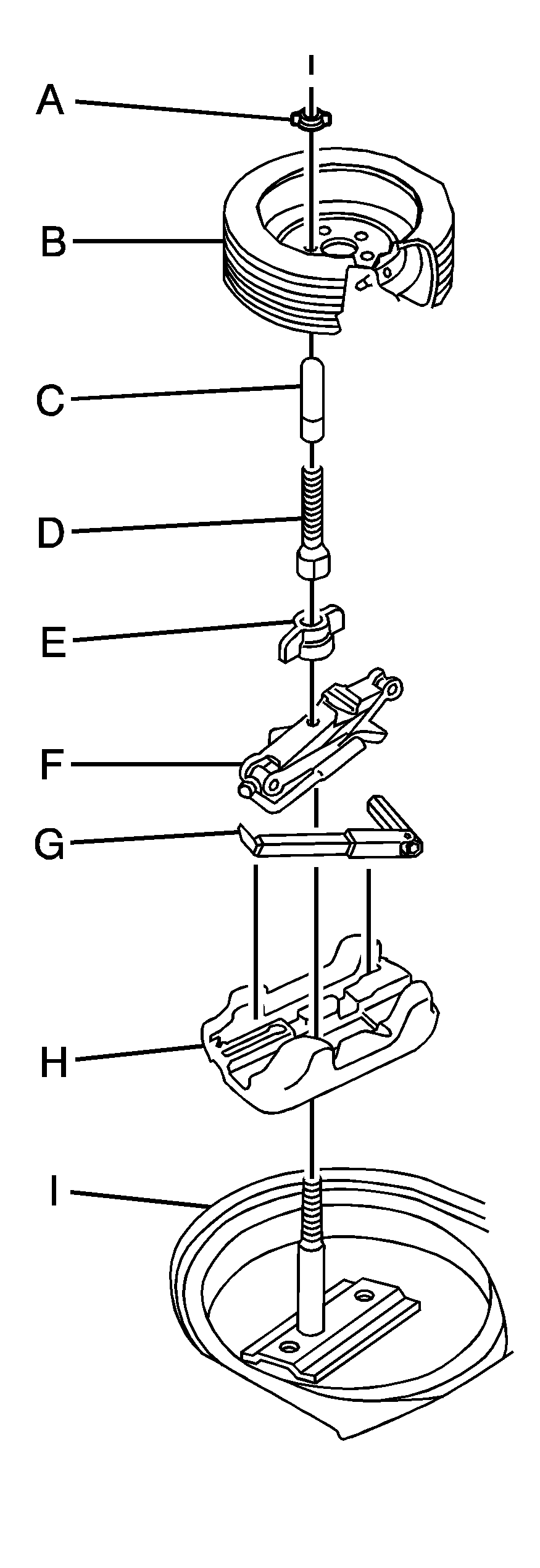
Full-Size Flat Tire


Object Number: 1803058  Size: A4
  1. Retainer

  2. Full-Size Flat Tire

  3. Protective Guide

  4. Extension Bolt Screw

  5. Wing Nut

  6. Jack

  7. Wheel Wrench

  8. Foam Holder

  9. Bolt Screw

Storing a Flat or Spare Tire and Tools Super Only

Caution: Storing a jack, a tire, or other equipment in the passenger compartment of the vehicle could cause injury. In a sudden stop or collision, loose equipment could strike someone. Store all these in the proper place.

After the compact spare tire has been installed on the vehicle, store the flat tire in the trunk.

When storing a full-size tire, use the extension with the protector, located in the foam holder, to help avoid wheel surface damage.

To store a full-size tire:

  1. Install the tools in their original location in the trunk area and secure.
  2. Place the tire valve stem facing down and the protector/guide placed through a wheel bolt hole.
  3. Remove the protector and attach the retainer securely.
  4. Store the cover as far forward as possible.

When storing a compact spare tire in the trunk, put the protector back in the foam holder. When storing the compact spare tire, the tire must be stored valve stem down.

The compact spare is for temporary use only. Replace the compact spare tire with a full-size tire as soon as you can. See Compact Spare Tire. Use this as a guide for storing the compact spare tire and tools.

Compact Spare Tire


Object Number: 1876342  Size: B3

Full-Size Flat Tire


Object Number: 1803058  Size: A4
  1. Retainer

  2. Full-Size Flat Tire

  3. Protective Guide

  4. Extension Bolt Screw

  5. Wing Nut

  6. Jack

  7. Wheel Wrench

  8. Foam Holder

  9. Bolt Screw