GM Service Manual Online
For 1990-2009 cars only

EXCESSIVE AIR NOISE RIGHT DOOR MIRROR AREA/REPAIR PROCEDURE

MODELS AFFECTED: 1987 LESABRES

If a comment of excessive air noise is encountered at the front area of the right door glass, check for the following conditions:

1. Gap spacing between front radius of the right outside mirror and window filler (See illustration, Figure 1).

2. Poor fit of filler (rear lower corner) to door at belt line.

Corrections for the above conditions are:

A. Remove mirror.

B. Elongate front mirror attaching hole forward 2.Omm (See illustration, Figure 2).

C. Remove (pry off) spacer washer at rear lower attaching hole area (See illustration, Figure 3).

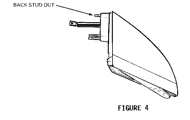
D. Reinstall mirror, holding mirror forward during tightening operation. NOTICE: if difficulty installing front nut is encountered, back front stud out 2mm (See illustration, Figure 4).

E. Reinstall trim.

WARRANTY INFORMATION

Labor Operation Number: T5152 Labor Time: 0.4 Hour Trouble Code: 92


Object Number: 89650  Size: SF


Object Number: 95099  Size: SH


Object Number: 88779  Size: SF


Object Number: 90734  Size: SF

General Motors bulletins are intended for use by professional technicians, not a "do-it-yourselfer". They are written to inform those technicians of conditions that may occur on some vehicles, or to provide information that could assist in the proper service of a vehicle. Properly trained technicians have the equipment, tools, safety instructions and know-how to do a job properly and safely. If a condition is described, do not assume that the bulletin applies to your vehicle, or that your vehicle will have that condition. See a General Motors dealer servicing your brand of General Motors vehicle for information on whether your vehicle may benefit from the information.