GM Service Manual Online
For 1990-2009 cars only

EXCESSIVE WRINKLES IN SEAT CUSHION TRIM

SUJBECT: EXCESSIVE WRINKLES IN SEAT CUSHION TRIM (BEND TRIM WIRE/ ATTACH HOG RINGS)

MODELS: 1995-96 BUICK LESABRE WITH CUSTOM CLOTH SEATS

CONDITION:

SOME OWNERS MAY COMMENT THAT THE TRIM OF THE SEAT CUSHIONS HAVE EXCESSIVE WRINKLES.

CAUSE:

IN MOST CASES, THE FRONT J-CHANNEL RETAINER FALLS OFF DUE TO INADEQUATE ATTACHMENT, LOOSE TRIM, OR EXCESSIVE MOVEMENT OF TRIM.

CORRECTION:

IMPORTANT: IF THE J-CHANNEL IS NOT DETACHED, AND THE OWNER COMMENTS ABOUT A WRINKLE, USE THE FOLLOWING PROCEDURE TO REPAIR. IN CASES WHERE THE FRONT TRIM WIRE WOULD HAVE TO BE BENT AN EXCESSIVE AMOUNT, USE PROCEDURE B.

PROCEDURE A -

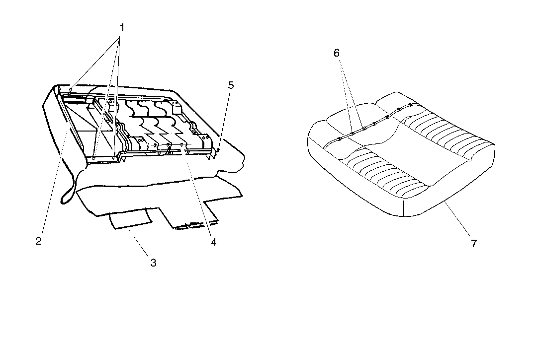
SEE FIGURE 1.

1. REMOVE SEAT FROM VEHICLE, REFER TO SECTION 10-10 OF THE SERVICE MANUAL.

2. DETACH FRONT J-CHANNEL FROM SEAT FRAME.

3. BEND THE LOWER FRONT TRIM WIRE, THAT THE J-CHANNEL ATTACHES TO, INWARD TOWARDS SEAT ABOUT 1/2 TO 3/4 OF AN INCH (IN SOME CASES THIS WIRE MUST BE BENT MORE. IN THESE CASES, BEND THE WIRE AS FAR AS NECESSARY TO SMOOTH TRIM).

4. PULL TRIM FORWARD AND ATTACH THE J-CHANNEL TO THE NEWLY BENT WIRE. THIS CAUSES ANY EXCESS TRIM TO BE TAKEN UP WHILE SMOOTHING OUT THE WRINKLE.

5. RUB HANDS ACROSS TRIM IN SEATING AREA TO SMOOTH OUT ANY REMAINING WRINKLE.

6. IF NECESSARY, DETACH VELCRO(R) ATTACHMENTS ON TRIM WHICH RUN ALONG THE SEAM WHERE THE PATTERNED FABRIC AND UNPATTERNED FABRIC MEET, AND REATTACH TO HELP SMOOTH OUT ANY REMAINING WRINKLE (THIS IS MOST EASILY DONE WHILE J-CHANNEL IS DETACHED).

7. HOG RING FRONT J-CHANNEL PERMANENTLY TO WIRE IN FOUR PLACES.

8. INSTALL SEAT ASSEMBLY.

PROCEDURE B -

SEE FIGURE 2.

1. REMOVE SEAT FROM VEHICLE, REFER TO SECTION 10-10 OF THE SERVICE MANUAL.

2. WITH ENTIRE SEAT UPSIDE DOWN, DETACH BOTH REAR TRIM ATTACHING FLAPS (GRAY IN COLOR).

3. PULL SECOND FLAP OUT FROM UNDER SEAT FRAME AND REATTACH WITH NEW HOG RINGS JUST AS IT WAS, BUT WITH FLAP OVER THE FRAME.

IMPORTANT: DO NOT OVER-STRETCH THE TRIM; THIS CAN CAUSE ADDITIONAL APPEARANCE ISSUES.

4. REINSTALL FIRST FLAP.

5. INSTALL SEAT ASSEMBLY.

WARRANTY INFORMATION:

FOR VEHICLES REPAIRED UNDER WARRANTY, USE:

LABOR OPERATION NUMBER DESCRIPTION LABOR TIME =============== =========== ==========

C6880/81 COVER AND/OR PAD, FRONT 0.5 HR SEAT CUSHION - R/R OR REPLACE (PASSENGER/DRIVER, SPLIT/DIVIDED)

ADD: FOR PROCEDURE A 0.2 HR

FOR PROCEDURE B 0.2 HR

FIGURES: 02 ATTACHMENTS: 00

FIGURE 1: 1. SEAT FRAME 2. FRONT LOWER TRIM WIRE

FIGURE 2: 1. FLAP HOG RINGS 2. J-SECTION RETAINER 3. FLAP 4. PAD-TO-SPRING HOG RINGS 5. CORNER HOG RINGS 6. HOG RINGS (IN PAD BEHIND COVER) 7. SEAT CUSHION


Object Number: 95402  Size: MF


Object Number: 95351  Size: FS

GENERAL MOTORS BULLETINS ARE INTENDED FOR USE BY PROFESSIONAL TECHNICIANS, NOT A "DO-IT-YOURSELFER". THEY ARE WRITTEN TO INFORM THOSE TECHNICIANS OF CONDITIONS THAT MAY OCCUR ON SOME VEHICLES, OR TO PROVIDE INFORMATION THAT COULD ASSIST IN THE PROPER SERVICE OF A VEHICLE. PROPERLY TRAINED TECHNICIANS HAVE THE EQUIPMENT, TOOLS, SAFETY INSTRUCTIONS AND KNOW-HOW TO DO A JOB PROPERLY AND SAFELY. IF A CONDITION IS DESCRIBED, DO NOT ASSUME THAT THE BULLETIN APPLIES TO YOUR VEHICLE, OR THAT YOUR VEHICLE WILL HAVE THAT CONDITION. SEE A GENERAL MOTORS DEALER SERVICING YOUR BRAND OF GENERAL MOTORS VEHICLE FOR INFORMATION ON WHETHER YOUR VEHICLE MAY BENEFIT FROM THE INFORMATION.

COPYRIGHT 1996 GENERAL MOTORS CORPORATION. ALL RIGHTS RESERVED.