GM Service Manual Online
For 1990-2009 cars only
Makes
🢒
Buick
🢒
1998
🢒
LeSabre
🢒 Cell 40
Cell 40
Cell 40
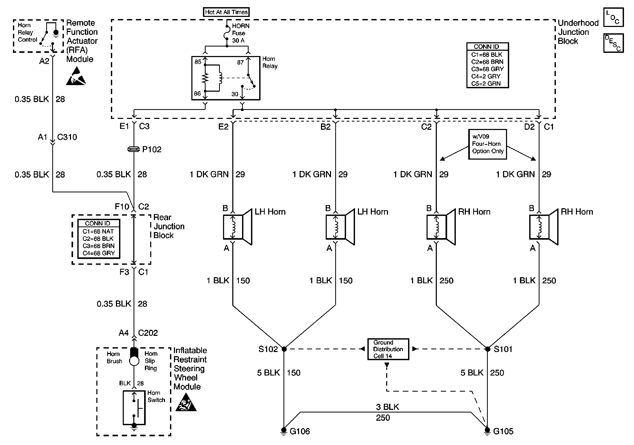
Horns Components
Horns Circuit Description
Power and Grounding Connector End Views
Power and Grounding Connector End Views
SIR Handling Caution
Handling ESD Sensitive Parts Notice
Ground Distribution Schematics