GM Service Manual Online
For 1990-2009 cars only
Makes
🢒
Buick
🢒
1998
🢒
LeSabre
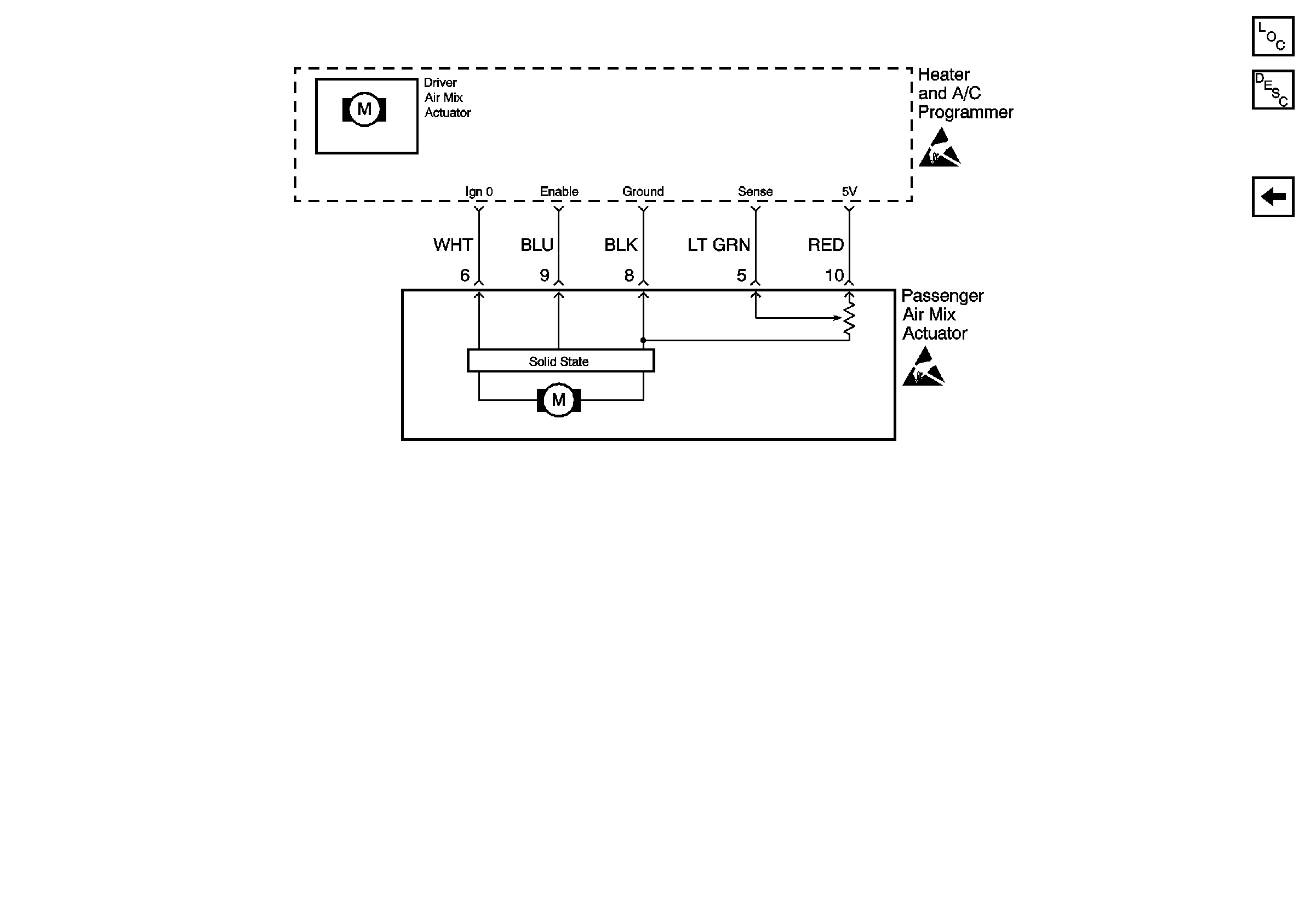
🢒 Cell 68: Passenger Air Mix Actuator (Buick)
Cell 68: Passenger Air Mix Actuator (Buick)
Cell 68: Passenger Air Mix Actuator (Buick)
HVAC Components
Cell 68: Vacuum Tank (Buick)
Handling ESD Sensitive Parts Notice
Handling ESD Sensitive Parts Notice