GM Service Manual Online
For 1990-2009 cars only
Makes
🢒
Buick
🢒
1999
🢒
LeSabre
🢒
Engine
🢒
Engine Electrical
🢒 Engine Electrical Component Views
Figure
1:
Rear of the Engine Compartment
(1)
Battery Positive Cable Connection
(2)
LH Underhood Fuse Block
(3)
Low Speed Engine Cooling Fan Relay
(4)
High Speed Engine Cooling Fan Relay
(5)
High Blower Relay
(6)
Blower Motor Relay
(7)
Horn Relay
(8)
A/C Clutch Relay
(9)
RH Underhood Fuse Block
Figure
2:
Engine, Front Side
(1)
Knock Sensor Bank 1
(2)
Starter Solenoid
(3)
Engine Oil Level Switch
(4)
A/C Pressure Sensor
(5)
A/C Clutch
(6)
A/C Clutch Diode
(7)
S107
(8)
S106
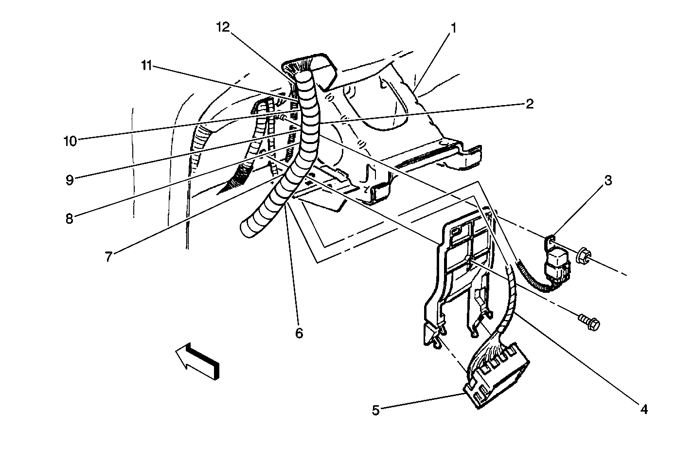
Figure
3:
Passenger Compartment, Below the Steering Column
(1)
Steering Column Support
(2)
S219
(3)
Theft Deterrent Relay
(4)
S217
(5)
C202
(6)
S257
(7)
S222
(8)
S221
(9)
S226
(10)
S220
(11)
S262
(12)
S280