GM Service Manual Online
For 1990-2009 cars only

Refer to

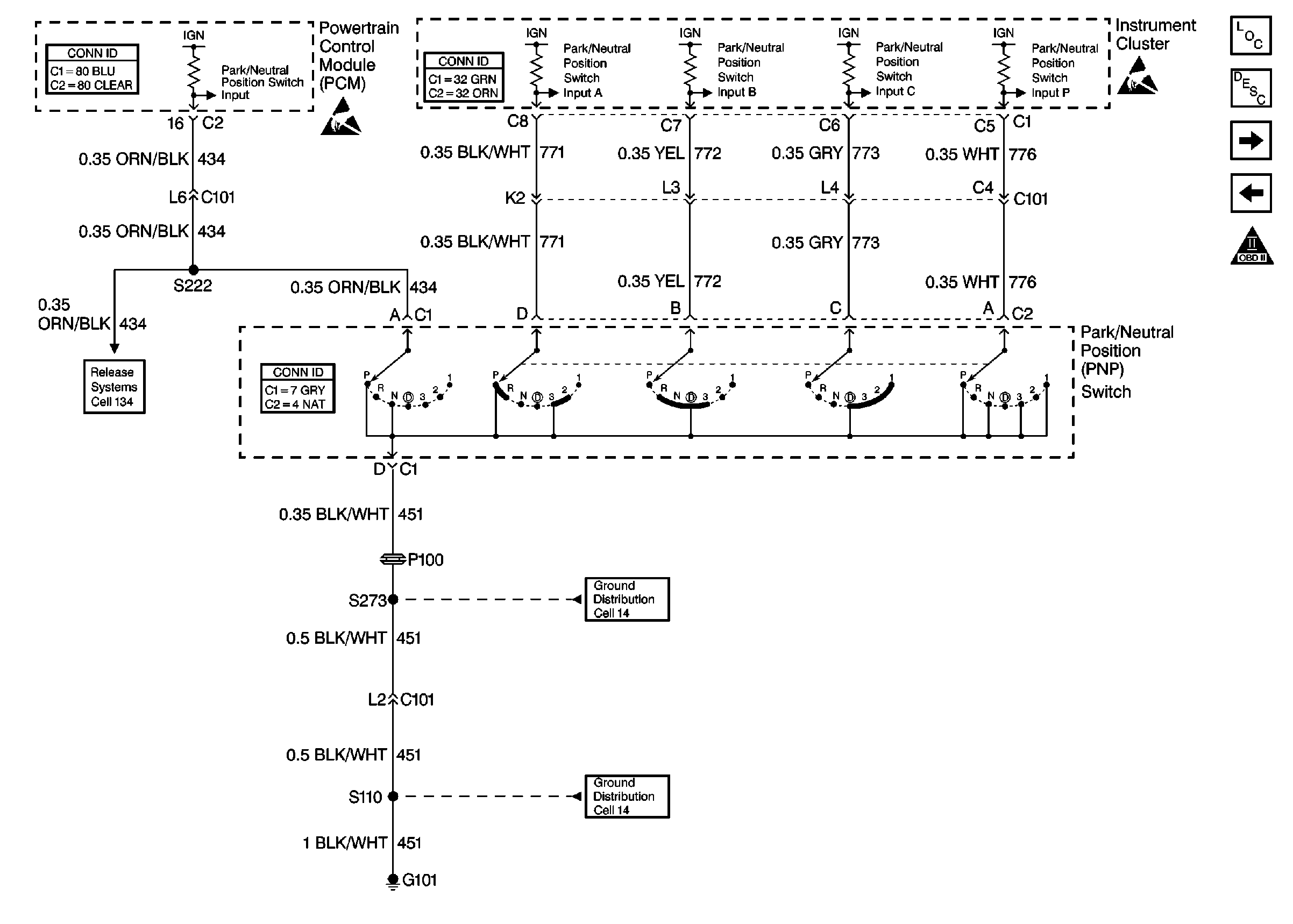
Cell 20: Park/Neutral Position (PNP) Switch -- Buick/Pontiac


Object Number: 381107  Size: FS
Engine Controls Components
Powertrain Control Module Description
Cell 20: Transaxle - Solenoids
Cell 20: Transaxle - Sensors and TR Switch
OBD II Symbol Description Notice
Handling ESD Sensitive Parts Notice
Cell 134
Cell 14: G101 (2 of 2)
Cell 14: G100, G106, G301, and G101 (1 of 2)
Powertrain Control Module Connector End Views
Engine Controls Connector End Views
or

Cell 20: Park/Neutral Position (PNP) Switch -- Oldsmobile


Object Number: 381115  Size: FS
Engine Controls Components
Powertrain Control Module Description
Cell 20: Shift Select Switch
Cell 20: Park/Neutral Position (PNP) Switch - Buick/Pontiac
OBD II Symbol Description Notice
Handling ESD Sensitive Parts Notice
Handling ESD Sensitive Parts Notice
Cell 134
Cell 14: G101 (2 of 2)
Cell 14: G100, G106, G301, and G101 (1 of 2)
Powertrain Control Module Connector End Views
Instrument Cluster and HUD Connector End Views
Engine Controls Connector End Views
.

Circuit Description

The Park/Neutral Position (PNP) switch is part of the neutral start switch. The PNP switch contacts close the input circuit to the PCM to ground when the transaxle manual shaft is in the park or neutral position. The PNP switch is open when a transaxle drive range is selected. The PCM uses PNP information to perform the following functions:

    • Control idle speed using the IAC.
    • Vehicle Speed Sensor (VSS)/Transaxle Output Speed Sensor (TOSS) diagnostics.
    • IC spark advance.

The PCM supplies 12 volts to the PNP input circuit through a current limiting resistor. The PCM senses a closed switch (Park or Neutral selected) when the voltage on the PNP input circuit drops below 1 volt.

Conditions for Running the DTC

The engine is running.

Conditions for Setting the DTC

The signal on the PNP circuit indicates park or neutral not selected (an open PNP switch) during 3 consecutive startups.

Action Taken When the DTC Sets

The PCM stores conditions which were present when the DTC set as Failure Records only. This information will not be stored as Freeze Frame Records.

Conditions for Clearing the MIL/DTC

    • The DTC becomes history when the conditions for setting the DTC are no longer present.
    • The history DTC clears after 40 malfunction free warm-up cycles.
    • The PCM receives a clear code command from the scan tool.

Diagnostic Aids

An intermittent may be caused by a poor connection, rubbed through wire insulation or a wire broken inside the insulation. Check for the following conditions:

    • Misadjusted transaxle range switch.
        Refer to Functional Test .
    • Poor connection.
        Inspect the PCM and PNP switch harness and connectors for improper mating, broken locks, improperly formed or damaged terminals, and poor terminal to wire connection.
    • Damaged harness.
        Inspect the wiring harness for damage. If the harness appears to be OK, disconnect the transaxle range switch 7-way connector, turn ON the ignition switch and observe a voltmeter connected to the PNP circuit at the transaxle range switch 7-way harness connector while moving connectors and wiring harnesses related to the PNP switch. A change in voltage will indicate the location of the malfunction.

Reviewing the Fail Records vehicle mileage since the diagnostic test last failed may help determine how often the condition that caused the DTC to be set occurs. This may assist in diagnosing the condition.

DTC P1520 - PNP Switch Circuit

Step

Action

Value

Yes

No

1

Was the Powertrain On-Board Diagnostic System Check performed?

--

Go to Step 2

Go to Powertrain On Board Diagnostic (OBD) System Check

2

  1. Put the vehicle in PARK.
  2. Apply the parking brake.
  3. Turn ON the ignition switch.
  4. Observe Park/Neutral Position displayed on the scan tool.

Does the scan tool indicate that Park/Neutral is selected?

--

Go to Step 3

Go to Step 5

3

  1. Put the vehicle in Neutral.
  2. Observe Park/Neutral Position displayed on the scan tool.

Does the scan tool indicate that Park/Neutral is selected?

--

Go to Step 4

Go to Step 8

4

Observe Park/Neutral Position displayed on the scan tool while selecting D1, D2, D3, D4 and Reverse transaxle positions.

Does the scan tool indicate that park or neutral is selected in any of the above positions?

--

Go to Step 6

Go to Diagnostic Aids

5

  1. Turn OFF the ignition switch.
  2. Disconnect the PCM.
  3. Turn ON the ignition switch.
  4. Using a test lamp connected to B+, probe the Park/Neutral input circuit at the PCM harness connector.
  5. Observe the test lamp while selecting the park and neutral gear positions.

Is the test lamp ON in Park and Neutral?

--

Go to Step 10

Go to Step 9

6

  1. Disconnect the transaxle range switch 7-way electrical connector.
  2. Observe Park/Neutral Position displayed on the scan tool.

Does the scan tool indicate Park/Neutral?

--

Go to Step 7

Go to Step 8

7

  1. Turn OFF the ignition switch.
  2. Disconnect the PCM.
  3. Probe the Park/Neutral input circuit with a test lamp to B+.
  4. If the test lamp is ON, locate and repair short to ground in the Park/Neutral input circuit. Refer to Wiring Repairs .

Was a problem found?

--

Go to Step 13

Go to Step 12

8

Attempt to adjust the transaxle range switch.

Can the transaxle range switch be adjusted so that the scan tool displays Park/Neutral Position correctly?

--

Go to Step 13

Go to Step 11

9

  1. Check for the following conditions:
  2. • Open in the park/neutral input circuit.
    • Open ground circuit to the transaxle range switch 7-way connector.
    • Loose terminal connection at the transaxle range switch 7-way connector.
  3. If a problem is found, repair wiring or replace loose terminal(s) as necessary. Refer to Intermittents and Poor Connections Diagnosis .

Was a problem found?

--

Go to Step 13

Go to Step 11

10

  1. Check the park/neutral input circuit for a poor terminal connection at the PCM.
  2. If a problem is found, replace loose terminal. Refer to Intermittents and Poor Connections Diagnosis .

Was a problem found?

--

Go to Step 13

Go to Step 12

11

Replace the transaxle range switch.

Refer to Park/Neutral Position Switch Replacement in Transaxle On-Vehicle Service.

Is the action complete?

--

Go to Step 13

--

12

Replace the PCM. Refer to Powertrain Control Module Replacement/Programming .

Is the action complete?

--

Go to Step 13

--

13

  1. Clear DTCs.
  2. Observe the Park/Neutral Position display on the scan tool while selecting D1, D2, D3, D4 Neutral, Reverse, and Park transaxle positions.

Does the scan tool indicate the correct park/neutral status in each gear position?

--

System OK

Go to Step 2