GM Service Manual Online
For 1990-2009 cars only

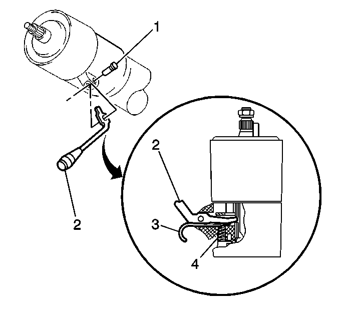
Removal Procedure


    Object Number: 298595  Size: SH
  1. Remove the pivot pin (1) from the housing.
  2. Important: Do not lose the spring (4).

  3. Remove the lever (2) out of the housing.

Installation Procedure


    Object Number: 298595  Size: SH
  1. Install the spring (4).
  2. Install the shim over the top of the spring (4).
  3. If problems occur while installing the shift lever over the spring, you may use a shim (3).

    Important: After you install the shift lever (2), ensure that there is a positive shift gate feel in all positions.

  4. Install the shift lever (2).
  5. Install the pivot pin (1).
  6. Insert the pin (1) from the top only.

  7. Remove the shim (3).